LEMON Manuals: Even more car manuals for everyone: 1960-2025
Home >> Dodge and Ram >> 2008 >> Magnum Base >> Repair and Diagnosis (Single Page) >> Body & Frame >> Door Locks >> Vehicle Theft Security System - Electrical Diagnostics >> Vehicle Theft Security - Electrical Diagnostics >> DTC Troubleshooting >> B1A41-Security Transmitter Sensor Circuit Open >> Diagnostic Test
April 5, 2026: LEMON Manuals is launched! Read the announcement.

Diagnostic Test

  1. 1) TEST FOR INTERMITTENT CONDITION 

    Turn the ignition on.

    With the scan tool, record and erase DTC's.

    Turn the ignition off and remove the key from the ignition.

    Close all doors and arm the VTSS and wait 1 minute.

    Disarm the VTSS turn the ignition on and wait 1 minute.

    With the scan tool, read DTC's.

    Does the scan tool display B1A41-SECURITY TRANSMITTER SENSOR CIRCUIT OPEN? 

    Yes 

    1. Go To  2).

    No 

    1. The conditions that caused this code to set are not present at this time. Using the wiring diagram/schematic as a guide, inspect the wiring and connectors.
    2. Perform BODY VERIFICATION TEST - VER 1 .
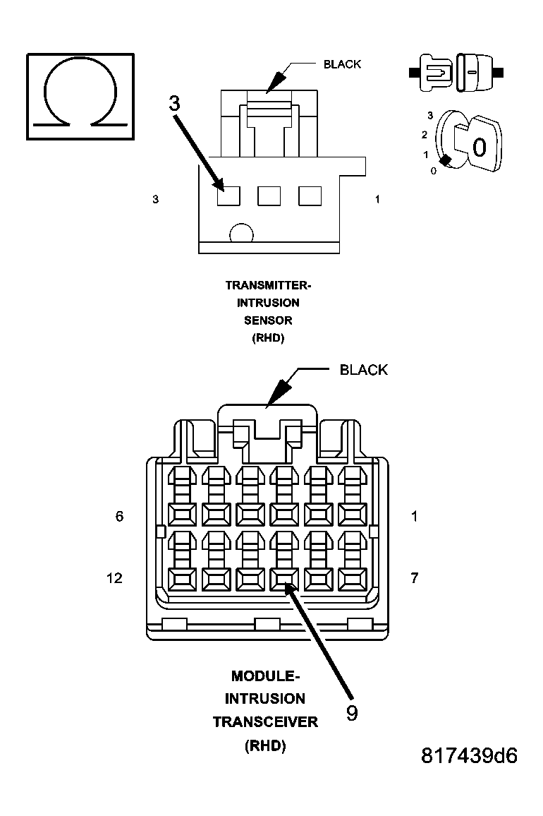
  2. 2) CHECK THE (A645) INTRUSION TRANSMITTER SENSOR SIGNAL CIRCUIT VOLTAGE 
    Fig 1: Measuring Voltage Between Intrusion Sensor Signal & Intrusion Transmitter Sensor Ground Circuit
    GC0040871Courtesy of CHRYSLER LLC

    Disconnect the Intrusion Sensor Transmitter connector.

    NOTE: Check connectors - Clean/repair as necessary.

    Turn the ignition on.

    With the scan tool actuate the Intrusion Sensor Transmitter.

    Measure the voltage between (A645) Intrusion Sensor Signal circuit and (G945) Intrusion Transmitter Sensor Ground circuit.

    Is the voltage above 10.0 volts 

    Yes 

    1. Go To  3).

    No 

    1. Go To  4).
  3. 3) CHECK THE INTRUSION SENSOR TRANSMITTER 

    Turn the ignition is off.

    Install a known good Intrusion Sensor Transmitter.

    Turn the ignition on.

    With the scan tool erase DTC's.

    Turn the ignition off and remove the key from the ignition.

    Close all doors and arm the VTSS and wait 1 minute.

    Disarm the VTSS turn the ignition on and wait 1 minute.

    With the scan tool, read DTC's.

    Does the scan tool display B1A41-SECURITY TRANSMITTER SENSOR CIRCUIT OPEN? 

    Yes 

    1. Replace the Intrusion Transceiver Module in accordance with the Service Information.
    2. Perform BODY VERIFICATION TEST - VER 1 .

    No 

    1. Replace the original Intrusion Sensor Transmitter.
    2. Perform BODY VERIFICATION TEST - VER 1 .
  4. 4) CHECK THE (A645) INTRUSION TRANSMITTER SENSOR SIGNAL WIRE 
    Fig 2: Measuring Resistance Of Intrusion Transmitter Sensor Signal Circuit
    GC0040872Courtesy of CHRYSLER LLC

    Turn the ignition is off.

    Disconnect the Intrusion Transceiver Module connector.

    Measure the resistance of the (A645) Intrusion Transmitter Sensor Signal circuit between the Intrusion Sensor Transmitter connector and the Intrusion Transceiver Module connector.

    Is the resistance below 5.0 ohms? 

    Yes 

    1. Repair the (A645) Intrusion Transmitter Sensor Signal circuit for an open.
    2. Perform BODY VERIFICATION TEST - VER 1 .

    No 

    1. Go To  5).
  5. 5) CHECK THE (G945) INTRUSION TRANSMITTER SENSOR GROUND WIRE FOR AN OPEN 
    Fig 3: Measuring Resistance Of Intrusion Transmitter Sensor Ground Circuit
    GC0040873Courtesy of CHRYSLER LLC

    Ensure Ignition is off.

    Measure the resistance of the (G945) Intrusion Transmitter Sensor Ground circuit from the Intrusion Sensor Transmitter connector to the Intrusion Transceiver Module connector.

    Is the resistance below 5.0 ohms? 

    Yes 

    1. Replace the Intrusion Transceiver Module in accordance with the Service Information.
    2. Perform BODY VERIFICATION TEST - VER 1 .

    No 

    1. Repair the (G945) Intrusion Transmitter Sensor Ground circuit for an open.
    2. Perform BODY VERIFICATION TEST - VER 1 .