LEMON Manuals: Even more car manuals for everyone: 1960-2025
Home >> Dodge and Ram >> 2008 >> Magnum Base >> Repair and Diagnosis (Single Page) >> Body & Frame >> Windows >> Power Window System - Electrical Diagnostics >> Power Windows - Electrical Diagnostics >> DTC Troubleshooting >> B185A-Driver Window Position Sensor Circuit Performance - DDM >> Diagnostic Test
April 5, 2026: LEMON Manuals is launched! Read the announcement.

Diagnostic Test

  1. 1) TEST FOR INTERMITTENT CONDITION 

    Turn the ignition on.

    With the scan tool, record and erase DTC's

    Try to operate the Driver Window up and down several times.

    Wait 30 seconds.

    With the scan tool, read DTC's.

    Does the scan tool display B185A-DRIVER WINDOW POSITION SENSOR CIRCUIT PERFORMANCE? 

    Yes 

    1. Go To  2).

    No 

    1. The conditions that caused this code to set are not present at this time. Using the wiring diagram/schematic as a guide, inspect the wiring and connectors.
    2. Perform BODY VERIFICATION TEST - VER 1 .
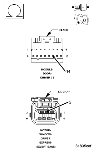
  2. 2) (Q301) DRIVER WINDOW HALL SENSOR A SIGNAL SHORT TO GROUND 
    Fig 1: Measuring Resistance Between Ground & Driver Window Hall Sensor A Signal Circuit
    GC0052520Courtesy of CHRYSLER LLC

    Turn the ignition off.

    Disconnect the Driver Window Motor connector.

    Disconnect the Driver Door Module C2 connector.

    Measure the resistance between Ground and the Driver Window Hall Sensor A Signal circuit.

    Is the resistance below 10000.0 ohms? 

    Yes 

    1. Repair the Driver Window Hall Sensor A signal circuit for a short to ground.
    2. Perform BODY VERIFICATION TEST - VER 1 .

    No 

    1. Go To  3).
  3. 3) (Q303) DRIVER WINDOW HALL SENSOR B SIGNAL CIRCUIT SHORT TO GROUND 
    Fig 2: Checking Driver Window Hall Sensor B Signal Circuit
    GC0016445Courtesy of CHRYSLER LLC

    Measure the resistance between Ground and the (Q303) Driver Window Hall Sensor B Signal circuit.

    Is the resistance below 10000.0 ohms? 

    Yes 

    1. Repair the (Q303) Driver Window Hall Sensor B Signal circuit for a short to ground.
    2. Perform BODY VERIFICATION TEST - VER 1 .

    No 

    1. Go To  4).
  4. 4) (Q301) DRIVER WINDOW HALL SENSOR A SIGNAL CIRCUIT OPEN 
    Fig 3: Checking Resistance Of (Q301) Driver Window Hall Sensor A Signal Circuit
    GC0052521Courtesy of CHRYSLER LLC

    Measure the resistance of the (Q301) Driver Window Hall Sensor A Signal circuit between the Motor connector and the Module C2 connector.

    Is the resistance below 1.0 ohms? 

    No 

    1. Repair the (Q301) Driver Window Hall Sensor A Signal circuit for an open.
    2. Perform BODY VERIFICATION TEST - VER 1 .

    Yes 

    1. Go To  5).
  5. 5) (Q303) DRIVER WINDOW HALL SENSOR B SIGNAL CIRCUIT OPEN 
    Fig 4: Checking Resistance Of (Q303) Driver Window Hall Sensor B Signal Circuit
    GC0052522Courtesy of CHRYSLER LLC

    Measure the resistance of the (Q303) Driver Window Hall Sensor B Signal circuit between the Motor connector and the Module C2 connector.

    Is the resistance below 1.0 ohms? 

    No 

    1. Repair the (Q303) Driver Window Hall Sensor B Signal circuit for an open.
    2. Perform BODY VERIFICATION TEST - VER 1 .

    Yes 

    1. Go TO  6).
  6. 6) (Q303) DRIVER WINDOW HALL SENSOR B SIGNAL CIRCUIT SHORTED TO THE (Q991) DRIVER WINDOW HALL SENSOR RETURN 
    Fig 5: Checking Driver Window Hall Sensor B Signal & Driver Window Hall Sensor Return
    GC0016450Courtesy of CHRYSLER LLC

    Measure the resistance between the (Q303) Driver Window Hall Sensor B Signal circuit and the (Z405) Driver Window Hall Sensor Return circuit.

    Is the resistance below 10000.0 ohms? 

    No 

    1. Repair the (Q303) Driver Window Hall Sensor B Signal circuit for a short to the Driver Window Hall Sensor Return circuit.
    2. Perform BODY VERIFICATION TEST - VER 1 .

    Yes 

    1. Go TO  7).
  7. 7) (Q301) DRIVER WINDOW HALL SENSOR A SIGNAL CIRCUIT SHORTED TO THE (Q991) DRIVER WINDOW HALL SENSOR RETURN 
    Fig 6: Checking Driver Window Hall Sensor A Signal & Driver Window Hall Sensor Return
    GC0016449Courtesy of CHRYSLER LLC

    Measure the resistance between the (Q301) Driver Window Hall Sensor A Signal circuit and the (Q991) Driver Window Hall Sensor Return circuit.

    Is the resistance below 10000.0 ohms? 

    No 

    1. Repair the (Q301) Driver Window Hall Sensor A Signal circuit for a short to the (Q991) Driver Window Hall Sensor Return circuit.
    2. Perform BODY VERIFICATION TEST - VER 1 .

    Yes 

    1. Go TO  8).
  8. 8) (Q301) DRIVER WINDOW HALL SENSOR A SIGNAL CIRCUIT SHORT TO (Q303) DRIVER WINDOW HALL SENSOR B SIGNAL CIRCUIT 
    Fig 7: Checking Driver Window Hall Sensor A Signal & Driver Window Hall Sensor B Signal Circuit
    GC0016448Courtesy of CHRYSLER LLC

    Measure the resistance between the (Q301) Driver Window Hall Sensor A Signal circuit and the (Q303) Driver Window Hall Sensor B Signal circuit.

    Is the resistance below 1000.0 ohms? 

    Yes 

    1. Repair the (Q301) Driver Window Hall Sensor A Signal circuit for a short to the (Q303) Driver Window Hall Sensor B Signal circuit.
    2. Perform BODY VERIFICATION TEST - VER 1 .

    No 

    1. Replace the Window Motor.
    2. Perform BODY VERIFICATION TEST - VER 1 .