LEMON Manuals: Even more car manuals for everyone: 1960-2025
Home >> Dodge and Ram >> 2008 >> Nitro SLT, 4WD >> Repair and Diagnosis >> Engine Performance >> System >> DTCS P2314 To U1418, System Checks, O2 Sensor Check, Checking Pcm Power And Ground Circuits, Engine Cranks But No Start >> *Checking The Fuel Delivery System >> Diagnostic Test
April 5, 2026: LEMON Manuals is launched! Read the announcement.

Diagnostic Test

  1. FUEL PUMP OPERATION 

    Ignition on, engine not running.

    With a scan tool, actuate the Fuel System test.

    NOTE: It may be necessary to use a mechanics stethoscope in the next step.

    Listen for fuel pump operation at the fuel tank.

    Does the Fuel Pump operate? 

    Yes 

    1. Go To step  2.

    No 

    1. Go To step  5.
      CAUTION: Stop All Actuations.
  2. FUEL PRESSURE 
    WARNING: The fuel system is under a constant pressure (even with the engine off). Before testing or servicing any fuel system hose, fitting or line, the fuel system pressure must be released. Failure to follow these instructions can result in personal injury or death.

    Turn the ignition off.

    Install a fuel pressure gauge at the engine.

    Ignition on, engine not running.

    With the scan tool, actuate the ASD Fuel System test and observe the fuel pressure gauge.

    NOTE: Fuel pressure specification is 407 KPa +/- 34 KPa (59 psi +/- 5 psi).

    Choose a conclusion that best matches your fuel pressure reading. 

    Below Specification 

    1. Go To step  3.

    Within Specification 

    1. Check for contamination/water in the fuel. Make sure the fuel being used in this vehicle meets manufactures Fuel Requirement.

    Above Specification 

    1. Replace the fuel filter/fuel pressure regulator.
    2. Perform POWERTRAIN VERIFICATION TEST .
      CAUTION: Stop All Actuations.
  3. RESTRICTED FUEL SUPPLY LINE 
    WARNING: The fuel system is under a constant pressure even with the engine off. Before testing or servicing any fuel system hose, fitting or line, the fuel system pressure must be released.

    Turn the ignition off.

    Raise vehicle on hoist, and disconnect the fuel pressure line at the fuel pump module.

    Install special tool #6539 (5/16") or #6631(3/8") fuel line adapter and the fuel pressure gauge between the fuel supply line and the fuel pump module.

    Ignition on, engine not running.

    With the scan tool, actuate the ASD Fuel System test and observe the fuel pressure gauge.

    NOTE: Fuel pressure specification is 407 KPa +/- 34 KPa (59 psi +/- 5 psi).

    Is the fuel pressure within specification now? 

    Yes 

    1. Repair/replace fuel supply line as necessary.
    2. Perform POWERTRAIN VERIFICATION TEST .

    No 

    1. Go To step  4.
      CAUTION: Stop All Actuations.
  4. CHECKING FUEL INLET STRAINER 
    WARNING: The fuel system is under a constant pressure (even with the engine off). Before testing or servicing any fuel system hose, fitting or line, the fuel system pressure must be released. Failure to follow these instructions can result in personal injury or death.

    Turn the ignition off.

    Remove the Fuel Pump Module and inspect the Fuel Inlet Strainer.

    Is the Fuel Inlet Strainer plugged? 

    Yes 

    1. Replace the Fuel Pump Inlet Strainer.
    2. Perform POWERTRAIN VERIFICATION TEST .

    No 

    1. Replace the Fuel Pump Module.
    2. Perform POWERTRAIN VERIFICATION TEST .
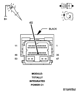
  5. FUEL PUMP CONTROL OPERATION FROM THE PCM 
    Fig 1: Using 12-Volt Test Light Connected To B+ To Probe K31 Fuel Pump Control Circuit In C1 TIPM Harness Connector
    GC0062167Courtesy of CHRYSLER LLC

    Stop the Fuel Pump actuation.

    Turn the ignition off.

    Disconnect the C1 TIPM harness connector.

    NOTE: Before continuing, check the TIPM harness connector terminals for corrosion, damage, or terminal push out. Repair as necessary.

    Ignition on, engine not running.

    Using a 12-volt test light connected to B+ probe the (K31 Fuel Pump Control circuit in the C1 TIPM harness connector.

    Using a scan tool actuate the Fuel Pump under the PCM actuations.

    Does the test light illuminate brightly during the actuation? 

    Yes 

    1. Go To step  8.

    No 

    1. Go To step  6.
  6. (K31) FUEL PUMP CONTROL CIRCUIT OPEN 
    Fig 2: Measuring Resistance Of Fuel Pump Control Circuit
    GC0059422Courtesy of CHRYSLER LLC

    Turn the ignition off.

    Disconnect the C3 PCM harness connector.

    CAUTION: Do not probe the PCM harness connectors. Probing the PCM harness connectors will damage the PCM terminals resulting in poor terminal to pin connection. Install Miller Special Tool #8815 to perform diagnosis.

    Measure the resistance of the (K31) Fuel Pump Control circuit from the C1 TIPM harness connector to the appropriate terminal of special tool #8815.

    Is the resistance below 5.0 ohms? 

    Yes 

    1. Go To step  7.

    No 

    1. Repair the open in the (K31) Fuel Pump Control circuit.
    2. Perform POWERTRAIN VERIFICATION TEST .
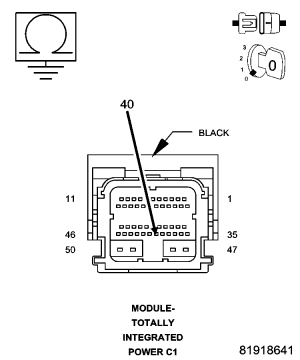
  7. (K31) FUEL PUMP CONTROL CIRCUIT SHORTED TO GROUND 
    Fig 3: Measuring Resistance Between Ground And Fuel Pump Control Circuit
    GC0059423Courtesy of CHRYSLER LLC

    Measure the resistance between ground and the (K31) Fuel Pump Control circuit in the TIPM C1 harness connector.

    Is the resistance below 100 ohms? 

    Yes 

    1. Repair the short to ground in the (K31) Fuel Pump Control circuit.
    2. Perform POWERTRAIN VERIFICATION TEST .

    No 

    1. Go To step  11.
  8. (N1) FUEL PUMP OUTPUT CIRCUIT OPEN 
    Fig 4: Measuring Resistance Of Fused Fuel Pump Output Circuit
    GC0059424Courtesy of CHRYSLER LLC

    Turn the ignition off.

    Disconnect the C5 TIPM harness connector.

    Disconnect the Fuel Pump Module harness connector.

    Measure the resistance of the (N1) Fused Fuel Pump Output circuit from the C5 TIPM harness connector and the Fuel Pump Module harness connector.

    Is the resistance above 5.0 ohms? 

    Yes 

    1. Repair the open in the (N1) Fused Fuel Pump Output circuit.
    2. Perform POWERTRAIN VERIFICATION TEST .

    No 

    1. Go To step  9.
  9. (N1) FUEL PUMP OUTPUT CIRCUIT SHORTED TO GROUND 
    Fig 5: Measuring Resistance Between Ground And Fused Fuel Pump Output Circuit
    GC0059425Courtesy of CHRYSLER LLC

    Measure the resistance between ground and the (N1) Fused Fuel Pump Output circuit at the Fuel Pump Module harness connector.

    Is the resistance below 100 ohms? 

    Yes 

    1. Repair the short to ground in the (N1) Fused Fuel Pump Output circuit.
    2. Perform POWERTRAIN VERIFICATION TEST .

    No 

    1. Go To step  10.
  10. FUEL PUMP MODULE/TIPM 
    Fig 6: Using 12-Volt Test Light Connected To Ground To Probe (N1) Fused Fuel Pump Output Circuit At Fuel Pump Module Harness Connector
    GC0062206Courtesy of CHRYSLER LLC

    Connect the C3 PCM harness connector.

    Connect the C1 and C5 TIPM harness connectors.

    Turn the ignition on.

    Using a scan tool actuate the Fuel Pump Module.

    Using a 12-volt test light connected to ground, probe the (N1) Fused Fuel Pump Output circuit at the Fuel Pump Module harness connector.

    Does the test light illuminate? 

    Yes 

    1. Replace the Fuel Pump Module in accordance with the Service Information. Refer to REMOVAL .
    2. Perform POWERTRAIN VERIFICATION TEST .

    No 

    1. Replace the Totally Integrated Power Module in accordance with the Service Information. Refer to REMOVAL .
    2. Perform POWERTRAIN VERIFICATION TEST .
  11. PCM 
    NOTE: Before continuing, check the PCM harness connector terminals for corrosion, damage, or terminal push out. Repair as necessary.

    Using the schematics as a guide, inspect the wire harness and connectors. Pay particular attention to all Power and Ground circuits.

    Were there any problems found? 

    Yes 

    1. Repair as necessary.
    2. Perform POWERTRAIN VERIFICATION TEST .

    No 

    1. Replace and program the Powertrain Control Module per Service Information.
    2. Perform POWERTRAIN VERIFICATION TEST .