LEMON Manuals: Even more car manuals for everyone: 1960-2025
Home >> Dodge and Ram >> 2009 >> Avenger L4-2.4L >> Repair and Diagnosis >> Diagrams >> Connector Views >> Air Bag Control Module >> Occupant Restraint Controller Module (Instrument Panel) 24 Way
April 5, 2026: LEMON Manuals is launched! Read the announcement.

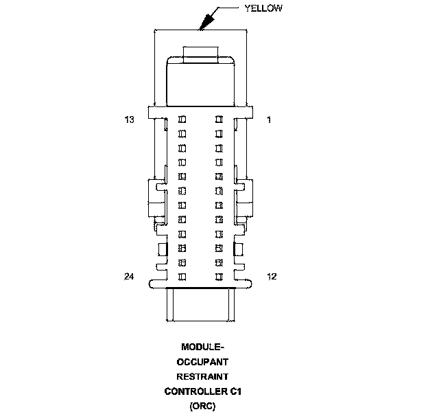
Occupant Restraint Controller Module (Instrument Panel) 24 Way






Connector - (INSTRUMENT PANEL) 24 WAY




MODULE-OCCUPANT RESTRAINT CONTROLLER - (INSTRUMENT PANEL) 24 WAY