LEMON Manuals: Even more car manuals for everyone: 1960-2025
Home >> Dodge and Ram >> 2009 >> Charger R/T, 4WD >> Repair and Diagnosis >> Accessories & Equipment >> Memory Modules >> Memory Seat Module (MSMD) - Electrical Diagnostics >> DTC Troubleshooting >> B1D92-Steering Column Tilt Position Sensor Circuit High >> Diagnostic Test
April 5, 2026: LEMON Manuals is launched! Read the announcement.

Diagnostic Test

  1. DTC IS ACTIVE 
    1. Ignition on, engine not running.
    2. With the scan tool, select Clear Stored DTCs in the Memory Seat Module.
    3. Move the Steering Column Tilt Switch to the Up and Down positions several times, holding the switch in position for at least two seconds each time.
    4. With the Scan Tool, select View DTCs in the Memory Seat Module.

      Does this DTC reset and/or remain active?

      Yes 

      • Go to Step  2.

      No 

      • Go to Step  8.
  2. CHECK DTC WITH HARNESS DISCONNECTED 
    1. Turn the ignition off.
    2. Disconnect the Steering Tilt Motor harness connector.
    3. Ignition on, engine not running.
    4. Move the Steering Column Tilt Switch to the Up and Down positions several times.
    5. With the scan tool, select Clear Stored DTCs in the Memory Seat Module.
    6. Move the Steering Column Tilt Switch to the Up and Down positions several times, holding the switch in position for at least two seconds each time.
    7. With the scan tool, select View DTCs in the Memory Seat Module.

      Does this DTC reset and/or remain active?

      Yes 

      • Go to Step  3.

      No 

      • Thoroughly inspect the wiring and connectors between the Memory Seat Module harness connector and the Steering Tilt Motor for a short to voltage or to any other circuit. If any problems are found, repair as necessary. If no other problems are found, replace the Steering Column Tilt Motor in accordance with the Service Information.
      • Perform the BODY VERIFICATION TEST. Refer to DTC-Based Diagnostics/MODULE, Totally Integrated Power (TIPM) - Standard Procedure .
  3. (P151) TILT STEERING UP/DOWN POSITION SENSE CIRCUIT OPEN 
    Fig 1: Measuring Resistance Of Tilt Steering Up/Down Position Sense Circuit
    GC0097063Courtesy of CHRYSLER LLC
    1. Turn the ignition off.
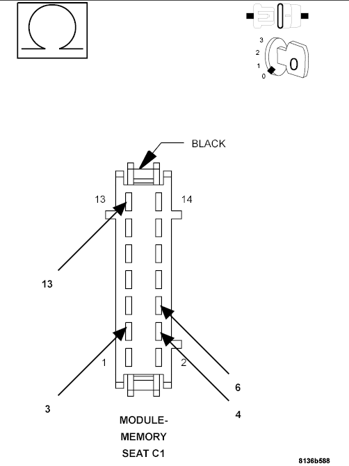
    2. Disconnect the Memory Seat Module (MSM) C1 connector.
    3. Measure the resistance of the (P151) Tilt Steering Up/Down Position Sense circuit.

      Is the resistance above 5.0 Ohms?

      Yes 

      No 

      • Go to Step  4.
  4. (P151) TILT STEERING UP/DOWN POSITION SENSE CIRCUIT SHORTED TO VOLTAGE 
    Fig 2: Measuring Voltage Of Tilt Steering Up/Down Position Sense Circuit
    GC0097064Courtesy of CHRYSLER LLC
    1. Turn the ignition on.
    2. Measure the voltage of the (P151) Tilt Steering Up/Down Position Sense circuit.

      Is there any voltage present?

      Yes 

      No 

      • Go to Step  5.
  5. (P151) TILT STEERING UP/DOWN POSITION SENSE CIRCUIT SHORTED TO THE TILT/TELESCOPE MOTOR CIRCUIT(S) 
    Fig 3: Measuring Resistance Between Following Circuits At Memory Seat Module (MSM) C1 Connector
    GC0097065Courtesy of CHRYSLER LLC
    1. Turn the ignition off.
    2. Measure the resistance between the following circuits at the Memory Seat Module (MSM) C1 connector:
      • The (P151) Tilt Steering Up/Down Position Sense circuit and the (P157) Telescope Steering Motor Forward/Rearward Driver circuit.
      • The (P151) Tilt Steering Up/Down Position Sense circuit and the (P153) Tilt Steering Motor Up/Down Driver circuit.
      • The (P151) Tilt Steering Up/Down Position Sense circuit and the (P953) Steering Motor Common circuit.

      Is the resistance below 5.0 Ohms for any of the circuit tests?

      Yes 

      No 

      • Go to Step  6.
  6. (G914) SENSOR RETURN CIRCUIT OPEN 
    Fig 4: Measuring Resistance Of Sensor Return Circuit
    GC0097066Courtesy of CHRYSLER LLC
    1. Measure the resistance of the (G914) Sensor Return circuit.

      Is the resistance above 5.0 Ohms?

      Yes 

      No 

      • Go to Step  7.
  7. (G914) SENSOR RETURN CIRCUIT SHORTED TO VOLTAGE 
    Fig 5: Measuring Voltage Of Sensor Return Circuit
    GC0097067Courtesy of CHRYSLER LLC
    1. Turn the ignition on.
    2. Measure the voltage of the (G914) Sensor Return circuit.

      Is there any voltage present?

      Yes 

      No 

      • Thoroughly inspect the wiring and connectors between the Memory Seat Module harness connector and the Steering Tilt Motor harness connector for a short to voltage or to any other circuit. If any problems are found, repair as necessary. If no other problems are found, replace the Memory Seat Module (MSM) in accordance with the Service Information.
      • Perform the POWER SEAT SYSTEM VERIFICATION TEST. See POWER SEAT SYSTEM VERIFICATION TEST .
  8. INTERMITTENT STEERING COLUMN TILT POSITION SENSOR CIRCUIT HIGH DTC 
    1. The conditions necessary to set this DTC are not present at this time.
    2. While monitoring the scan tool data relative to this circuit, wiggle test the component and connectors and move the switch to each position.
    3. Look for the data to change other than as expected or for the DTC to reset during the wiggle test.

      Were any problems found?

      Yes 

      No 

      • Test complete.