LEMON Manuals: Even more car manuals for everyone: 1960-2025
Home >> Dodge and Ram >> 2009 >> Charger SXT, 4WD >> Repair and Diagnosis >> Accessories & Equipment >> Memory Modules >> Memory Seat Module (MSMD) - Electrical Diagnostics >> DTC Troubleshooting >> B1D91-Steering Column Tilt Position Sensor Circuit Low >> Diagnostic Test
April 5, 2026: LEMON Manuals is launched! Read the announcement.

Diagnostic Test

  1. DTC IS ACTIVE 
    1. Ignition on, engine not running.
    2. With the scan tool, select Clear Stored DTCs in the Memory Seat Module.
    3. Move the Steering Column Tilt Switch to the Up and Down positions several times, holding the switch in position for at least two seconds each time.
    4. With the scan tool, select View DTCs in the Memory Seat Module.

      Does the DTC reset and/or remain active?

      Yes 

      • Go to Step  2.

      No 

      • Go to Step  4.
  2. CHECK DTC WITH HARNESS DISCONNECTED 
    1. Turn the ignition off.
    2. Disconnect the Steering Column Tilt Motor connector.
    3. Turn the ignition on.
    4. Move the Steering Column Tilt Switch to the Up and Down positions several times.
    5. With the scan tool, select Clear Stored DTCs in the Memory Seat Module.
    6. Move the Steering Column Tilt Switch to the Up and Down positions several times, holding the switch in position for at least two seconds each time.
    7. With the scan tool, select View DTCs in the Memory Seat Module.

      Does the DTC reset and/or remain active?

      Yes 

      • Go to Step  3.

      No 

      • Inspect the wiring between the Steering Column Tilt Motor and the harness connector (on the motor side) for a short to ground or to any other circuit. If any problems are found, repair as necessary. If no problems are found, replace the Steering Column Tilt Motor in accordance with the Service Information.
      • Perform the BODY VERIFICATION TEST. Refer to DTC-Based Diagnostics/MODULE, Totally Integrated Power (TIPM) - Standard Procedure .
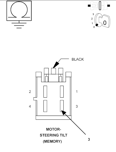
  3. (P151) TILT STEERING UP/DOWN POSITION SENSE CIRCUIT SHORTED TO GROUND 
    Fig 1: Measuring Resistance Between Ground & Tilt Steering Up/Down Position Sense Circuit At Steering Column Tilt Motor Connector
    GC0097062Courtesy of CHRYSLER LLC
    1. Turn the ignition off.
    2. Disconnect the Memory Seat Module (MSM) C1 connector.
    3. Measure the resistance between ground and the (P151) Tilt Steering Up/Down Position Sense circuit at the Steering Column Tilt Motor connector (harness side).

      Is the resistance below 5.0 Ohms?

      Yes 

      No 

      • Inspect the wiring between the Memory Seat Module harness connector and the Steering Column Tilt Motor harness connector for a short to ground or to any other circuit. If any problems are found, repair as necessary. If no problems are found, replace the Memory Seat Module (MSM) in accordance with the Service Information.
      • Perform the POWER SEAT SYSTEM VERIFICATION TEST. See POWER SEAT SYSTEM VERIFICATION TEST .
  4. INTERMITTENT STEERING COLUMN TILT POSITION SENSOR CIRCUIT LOW DTC 
    1. The conditions necessary to set this DTC are not present at this time.
    2. While monitoring the scan tool data relative to this circuit, wiggle test the component and connectors and move the switch to each position.
    3. Look for the data to change other than as expected or for the DTC to reset during the wiggle test.

      Were any problems found?

      Yes 

      No 

      • Test complete.