Diagnostic Test
- TEST FOR INTERMITTENT CONDITION
- Turn the ignition on.
- Using a scan tool, record and erase Diagnostic Trouble Codes (DTCs).
- Move the seat switch in the rear vertical adjust position three times.
- Using a scan tool, read DTCs.
Does the scan tool display DTC B1D76-SEAT REAR VERTICAL POSITION SENSOR CIRCUIT HIGH?
Yes
- Go to 2
No
- The conditions that caused this code to set are not present at this time. Verify seat harness is routed correctly. Using the wiring diagram/schematic as a guide, inspect the wiring and connectors. Look for chafed, pierced, pinched, or partially broken wires and broken, bent, pushed out, spread, corroded, or contaminated terminals.
- Perform POWER SEAT SYSTEM VERIFICATION TEST. See DTC-Based Diagnostics/MODULE, Memory Seat (MSMD) - Standard Procedure .
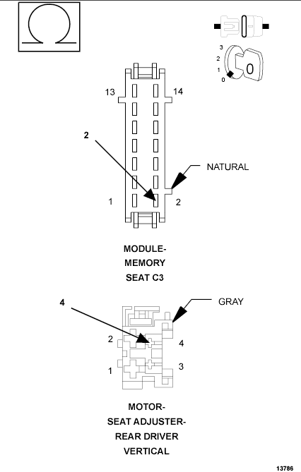
- CHECK THE (G402) DRIVER SEAT REAR VERTICAL POSITION SENSE CIRCUIT FOR A SHORT TO VOLTAGE WITH MSM DISCONNECTED Fig 1: Checking Driver Seat Rear Vertical Position Sense Circuit For Short To Voltage With MSM Disconnected
Courtesy of CHRYSLER LLC
- Turn the ignition off.
- Disconnect the Rear Driver Vertical Seat Adjuster Motor connector.
- Disconnect the MSM C3 connector.NOTE: Check connectors. Clean and repair as necessary.
- Turn the ignition on.
- Measure the voltage of the (G402) Driver Seat Rear Vertical Position Sense circuit between the Rear Driver Vertical Seat Adjuster Motor connector and ground.
Is there any voltage present?
Yes
- Repair the (G402) Driver Seat Rear Vertical Position Sense circuit for a short to voltage.
- Perform POWER SEAT SYSTEM VERIFICATION TEST. See DTC-Based Diagnostics/MODULE, Memory Seat (MSMD) - Standard Procedure .
No
- Go to 3
- CHECK THE (G402) DRIVER SEAT REAR VERTICAL POSITION SENSE CIRCUIT FOR A SHORT TO VOLTAGE WITH MSM CONNECTED Fig 2: Checking Driver Seat Rear Vertical Position Sense Circuit For Short To Voltage With MSM Connected
Courtesy of CHRYSLER LLC
- Turn the ignition off.
- Reconnect the MSM C3 connector.
- Connect the positive lead of a voltmeter to the (G402) Driver Seat Rear Vertical Position Sense circuit at the Rear Driver Vertical Seat Adjuster Motor connector and the negative lead to a good clean chassis ground.
- Turn off all vehicle interior and exterior lighting.
- Mark sure all doors are closed then wait 10 seconds.
- Measure the voltage of the (G402) Driver Seat Rear Vertical Position Sense circuit.
Is there any voltage present?
Yes
- Check the (G402) Driver Seat Rear Vertical Position Sense circuit for a short to voltage from another circuit and repair as necessary. If circuit is okay, replace the Memory Seat Module (MSM) in accordance with the Service Information.
- Perform POWER SEAT SYSTEM VERIFICATION TEST. See DTC-Based Diagnostics/MODULE, Memory Seat (MSMD) - Standard Procedure .
No
- Go to 4
- CHECK THE (G402) DRIVER SEAT REAR VERTICAL POSITION SENSE CIRCUIT AND (G492) DRIVER SEAT REAR VERTICAL SENSOR GROUND CIRCUIT FUNCTION Fig 3: Checking For Voltage In Driver Seat Rear Vertical Position Sense Circuit Using 12V Test Light
Courtesy of CHRYSLER LLC
- Turn the ignition on.
- Connect a 12-volt test light between the (G402) Driver Seat Rear Vertical Position Sense circuit and the (G492) Driver Seat Rear Vertical Sensor Ground circuit at the Driver Rear Vertical Seat Adjuster Motor connector.
- Move the seat switch in the rear vertical adjust position.
Does the test light illuminate for approximately two seconds then turn off with the seat switch engaged?
Yes
- Replace the Rear Driver Vertical Seat Adjuster Motor Assembly in accordance with the Service Information.
- Perform POWER SEAT SYSTEM VERIFICATION TEST. See DTC-Based Diagnostics/MODULE, Memory Seat (MSMD) - Standard Procedure .
No
- Go to 5
- CHECK THE (G402) DRIVER SEAT REAR VERTICAL POSITION SENSE CIRCUIT FOR AN OPEN Fig 4: Measuring Resistance Of Driver Seat Rear Vert Position Sense Circuit At Rear Driver Vert Seat Adjuster Motor Connector To C3 Connector
Courtesy of CHRYSLER LLC
- Turn the ignition off.
- Disconnect the Memory Seat Module C3 connector.NOTE: Check connectors. Clean and repair as necessary.
- Measure the resistance of the (G402) Driver Seat Rear Vertical Position Sense circuit between the Rear Driver Vertical Seat Adjuster Motor connector and the Memory Seat Module C3 connector.
Is the resistance below 5.0 Ohms?
Yes
- Go to 6
No
- Repair the (G402) Driver Seat Rear Vertical Position Sense circuit for an open.
- Perform POWER SEAT SYSTEM VERIFICATION TEST. See DTC-Based Diagnostics/MODULE, Memory Seat (MSMD) - Standard Procedure .
- CHECK THE (G492) DRIVER SEAT REAR VERTICAL SENSOR GROUND CIRCUIT FOR AN OPEN Fig 5: Measuring Resistance Of Driver Seat Rear Vert Sensor Ground Circuit At Driver Rear Vert Seat Adjuster Motor Connector To C3 Connector
Courtesy of CHRYSLER LLC
- Measure the resistance of the (G492) Driver Seat Rear Vertical Sensor Ground circuit between the Driver Rear Vertical Seat Adjuster Motor connector and the Memory Seat Module C3 connector.
Is the resistance below 5.0 Ohms?
Yes
- Replace the Memory Seat Module (MSM) in accordance with the Service Information.
- Perform POWER SEAT SYSTEM VERIFICATION TEST. See DTC-Based Diagnostics/MODULE, Memory Seat (MSMD) - Standard Procedure .
No
- Repair the (G492) Driver Seat Rear Vertical Sensor Ground circuit for an open.
- Perform POWER SEAT SYSTEM VERIFICATION TEST. See DTC-Based Diagnostics/MODULE, Memory Seat (MSMD) - Standard Procedure .
- Measure the resistance of the (G492) Driver Seat Rear Vertical Sensor Ground circuit between the Driver Rear Vertical Seat Adjuster Motor connector and the Memory Seat Module C3 connector.