Diagnostic Test
WARNING: This page is about a different variant/trim than selected.
- CHECK IF THE DTC IS CURRENT
- CHECK THE (A104) FUSED B(+) CIRCUIT
- Turn the ignition off to the lock position.
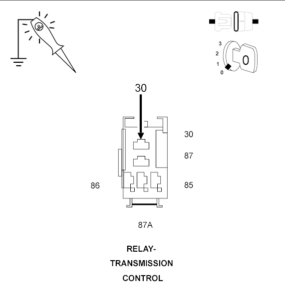
- Remove the Transmission Control Relay.NOTE: Check connectors - Clean/repair as necessary.
- Using a 12-volt test light connected to ground, check the (A104) Fused B(+) circuit in the Transmission Control Relay connector.NOTE: The test light must illuminate brightly. Compare the brightness to that of a direct connection to the battery.
Does the test light illuminate brightly?
Yes
- Go to step 3
No
- Go to step 8
- (T16) TRANSMISSION CONTROL OUTPUT CIRCUIT OPEN
- Connect a jumper wire between the (A104) Fused B(+) circuit and the (T16) Transmission Control Relay Output circuits at the Transmission Control Relay connector.
- Ignition on, engine not running.
- With the scan tool, read the Transmission Switched Battery voltage.
Is the Switched Battery voltage equal to battery voltage?
Yes
- Go to step 4
No
- Repair the (T16) Transmission Control Output circuits for an open or high resistance. Note: There are multiple Transmission Control Output circuits.
- Perform 42RLE TRANSMISSION VERIFICATION TEST. See DTC-Based Diagnostics/MODULE, Powertrain Control (PCM) - Standard Procedure
- CHECK THE TRANSMISSION CONTROL RELAY
- Turn the ignition off to the lock position.
- Install a substitute Relay in place of the Transmission Control Relay.
- Ignition on, engine not running.
- With the scan tool, read the Transmission Switched Battery voltage.
Is the Switched Battery voltage equal to battery voltage?
Yes
- Replace the Transmission Control Relay.
- Perform 42RLE TRANSMISSION VERIFICATION TEST. See DTC-Based Diagnostics/MODULE, Powertrain Control (PCM) - Standard Procedure
No
- Go to step 5
- CHECK THE (Z915) GROUND CIRCUIT FOR AN OPEN
- Using a 12-volt test light connected to 12-volts, check the (Z915) Ground circuit.NOTE: The test light must illuminate brightly. Compare the brightness to that of a direct connection to the battery.
Does the test light illuminate brightly?
Yes
- Go to step 6
No
- Repair the (Z915) Ground circuit for an open.
- Perform 42RLE TRANSMISSION VERIFICATION TEST. See DTC-Based Diagnostics/MODULE, Powertrain Control (PCM) - Standard Procedure
- Using a 12-volt test light connected to 12-volts, check the (Z915) Ground circuit.
- CHECK THE (T15) TRANSMISSION CONTROL CIRCUIT FOR AN OPEN
- Turn the ignition off to the lock position.
- Disconnect the PCM C4 harness connector.NOTE: Check connectors - Clean/repair as necessary.CAUTION: Do not probe the PCM harness connectors. Probing the PCM harness connectors will damage the PCM terminals resulting in poor terminal to pin connection. Install the PCM Pinout Box 8815 to perform diagnosis.
- Measure the resistance of the (T15) Transmission Control circuit between the Transmission Control Relay connector and the appropriate terminal of Miller tool #8815.
Is the resistance above 5.0 ohms?
Yes
- Repair the (T15) Transmission Control circuit for an open.
- Perform 42RLE TRANSMISSION VERIFICATION TEST. See DTC-Based Diagnostics/MODULE, Powertrain Control (PCM) - Standard Procedure
No
- Go to step 7
- CHECK THE (T15) TRANSMISSION CONTROL CIRCUIT FOR A SHORT TO GROUND
- Measure the resistance between ground and the (T15) Transmission Control circuit.
Is the resistance below 5.0 ohms?
Yes
- Repair the (T15) Transmission Control circuit for a short to ground.
- Perform 42RLE TRANSMISSION VERIFICATION TEST. See DTC-Based Diagnostics/MODULE, Powertrain Control (PCM) - Standard Procedure
No
- Using the schematics as a guide, check the Powertrain Control Module (PCM) terminals for corrosion, damage, or terminal push out. Pay particular attention to all power and ground circuits. If no problems are found, replace and program the PCM in accordance with the Service Information. With the scan tool, perform Quick Learn
- Perform 42RLE TRANSMISSION VERIFICATION TEST. See DTC-Based Diagnostics/MODULE, Powertrain Control (PCM) - Standard Procedure
- Measure the resistance between ground and the (T15) Transmission Control circuit.
- CHECK THE FUSED B(+) CIRCUIT FOR SHORT TO GROUND
- Turn the ignition off to the lock position.
- Remove the Transmission Control Relay.
- Disconnect the PCM C4 harness connectors.NOTE: Check connectors - Clean/repair as necessary.CAUTION: Do not probe the PCM harness connectors. Probing the PCM harness connectors will damage the PCM terminals resulting in poor terminal to pin connection. Install PCM Pinout Box 8815 to perform diagnosis.
- Measure the resistance between ground and the (T16) Transmission Control Relay Output circuit.
Is the resistance below 5.0 ohms?
Yes
- Go to step 9
No
- Repair the Fused B(+) circuit for an open.
- Perform 42RLE TRANSMISSION VERIFICATION TEST. See DTC-Based Diagnostics/MODULE, Powertrain Control (PCM) - Standard Procedure
- CHECK THE (T16) TRANSMISSION CONTROL OUTPUT CIRCUIT FOR A SHORT TO GROUND
- Disconnect the Transmission Solenoid/Pressure Switch harness connector.
- Measure the resistance between ground and the (T16) Transmission Control Output circuit.
Is the resistance below 5.0 ohms?
Yes
- Repair the (T16) Transmission Control Output circuit for a short to ground.
- Perform 42RLE TRANSMISSION VERIFICATION TEST. See DTC-Based Diagnostics/MODULE, Powertrain Control (PCM) - Standard Procedure
No
- Replace the Transmission Solenoid/Pressure Switch Assembly in accordance with the Service Information.
- Perform 42RLE TRANSMISSION VERIFICATION TEST. See DTC-Based Diagnostics/MODULE, Powertrain Control (PCM) - Standard Procedure
- CHECK THE WIRING AND CONNECTORS
- The conditions necessary to set the DTC are not present at this time.
- Using the schematics as a guide, inspect the wiring and connectors specific to this circuit.
- Wiggle the wiring and connectors while checking for shorted and open circuits.
- With the scan tool, check the Event Data to help identify the conditions in which the DTC was set.
Were there any problems found?
Yes
- Repair as necessary.
- Perform 42RLE TRANSMISSION VERIFICATION TEST. See DTC-Based Diagnostics/MODULE, Powertrain Control (PCM) - Standard Procedure
No
- Test Complete.