LEMON Manuals: Even more car manuals for everyone: 1960-2025
Home >> Dodge and Ram >> 2009 >> Journey R/T, AWD >> Repair and Diagnosis >> External Pages >> Different variant/trim >> Section 2 ((Powertrain Control Module (Pcm) - Electrical Diagnostics - 40TES - GPEC)) >> DTC Troubleshooting >> P0715-Input Speed Sensor 1 Circuit >> Diagnostic Test
April 5, 2026: LEMON Manuals is launched! Read the announcement.

Diagnostic Test

WARNING: This page is about a different variant/trim than selected.
  1. CHECK TO SEE IF DTC P0715 IS CURRENT 
    1. Start the engine.
    2. Place the shift lever in park.
    3. With the scan tool, read the Input Speed Sensor RPM.

      Is the Input Speed Sensor reading below 400 RPM?

      Yes 

      • Go to step  2

      No 

      • Go to step  8
  2. CHECK THE PCM AND WIRING WITH THE TRANSMISSION SIMULATOR 
    1. Turn the ignition off to the lock position.
    2. Remove the Ignition Switch Feed fuse from the TIPM.
      CAUTION: Removal of the Ignition Switch Feed fuse from the TIPM will prevent the vehicle from being started in gear.
      WARNING: The Ignition Switch Feed fuse must be removed from the TIPM. Failure to do so can result in possible serious or fatal injury.
    3. Install the Transmission Simulator, Miller tool #8333A and the Electronic Transmission Adapter kit.
    4. Ignition on, engine not running.
    5. With the Transmission Simulator, set the "Input/Output Speed" switch to "ON" and the rotary switch to the "3000/1250" position.
    6. With the scan tool, read the Input and Output RPM.

      Does the Input speed read 3000 RPM and the Output speed read 1250 RPM ± 50 RPM?

      Yes 

      No 

      • Go to step  3
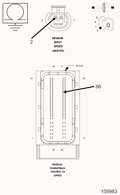
  3. CHECK THE (T52) INPUT SPEED SIGNAL CIRCUIT FOR AN OPEN 
    Fig 1: Checking Input Speed Signal Circuit For An Open
    GC0124017Courtesy of CHRYSLER LLC
    1. Turn the ignition off to the lock position.
    2. Disconnect the Transmission Simulator, Miller tool #8333A and the Electronic Transmission Adapter kit.
    3. Disconnect the PCM C2 harness connector.
    4. Disconnect the Input Speed Sensor harness connector.
      NOTE: Check connectors - Clean/repair as necessary.
    5. Measure the resistance of the (T52) Input Speed Signal circuit between the PCM C2 harness connector and the Input Speed Sensor harness connector.

      Is the resistance above 5.0 ohms?

      Yes 

      No 

      • Go to step  4
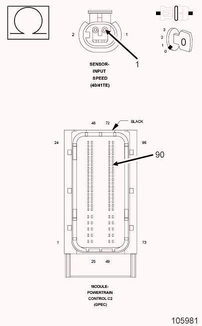
  4. CHECK THE (T13) SPEED SENSOR GROUND CIRCUIT FOR AN OPEN 
    Fig 2: Checking Speed Sensor Ground Circuit For An Open
    GC0124018Courtesy of CHRYSLER LLC
    1. Measure the resistance of the (T13) Speed Sensor Ground circuit between the PCM C2 harness connector and the Input Speed Sensor harness connector.

      Is the resistance above 5.0 ohms?

      Yes 

      No 

      • Go to step  5
  5. CHECK THE (T52) INPUT SPEED SIGNAL CIRCUIT FOR A SHORT TO GROUND 
    Fig 3: Checking Input Speed Signal Circuit For A Short To Ground
    GC0124019Courtesy of CHRYSLER LLC
    1. Measure the resistance between ground and the (T52) Input Speed Signal circuit.

      Is the resistance Below 5.0 ohms?

      Yes 

      No 

      • Go to step  6
  6. CHECK THE (T52) INPUT SPEED SIGNAL CIRCUIT FOR A SHORT TO VOLTAGE 
    Fig 4: Checking Input Speed Signal Circuit For A Short To Voltage
    GC0124020Courtesy of CHRYSLER LLC
    1. Disconnect the Output Speed Sensor harness connector.
    2. Ignition on, engine not running.
    3. With the scan tool in the TIPM, actuate the Transmission.
    4. Measure the voltage of the (T52) Input Speed Signal circuit.

      Is the voltage above 0.5 volt?

      Yes 

      No 

      • Go to step  7
  7. CHECK THE (T13) SPEED SENSOR GROUND CIRCUIT FOR A SHORT TO VOLTAGE 
    Fig 5: Checking Speed Sensor Ground Circuit For A Short To Voltage
    GC0124021Courtesy of CHRYSLER LLC
    NOTE: Actuation of the transmission must still be active.
    1. Measure the voltage of the (T13) Speed Sensor Ground circuit.

      Is the voltage above 0.5 volts?

      Yes 

      No 

      • Using the schematics as a guide, check the Powertrain Control Module (PCM) terminals for corrosion, damage, or terminal push out. Pay particular attention to all power and ground circuits. Check for Service Information Tune-ups or Service Bulletins for any possible causes that may apply. If no problems are found, replace and program the PCM per the Service Information. With the scan tool, perform QUICK LEARN.
      • Perform 40/41TE VERIFICATION TEST. See DTC-Based Diagnostics/MODULE, Powertrain Control (PCM) - Standard Procedure 
  8. INTERMITTENT WIRING AND CONNECTORS 
    1. The conditions necessary to set the DTC are not present at this time.
    2. Using the schematics as a guide, inspect the wiring and connectors specific to this circuit.
    3. Wiggle the wiring and connectors while checking for shorted and open circuits.
    4. With the scan tool, check the DTC EVENT DATA to help identify the conditions in which the DTC was set.
    5. Check for Service Information Tune-ups or Service Bulletins for any possible causes that may apply.

      Were there any problems found?

      Yes 

      No 

      • Test Complete.