LEMON Manuals: Even more car manuals for everyone: 1960-2025
Home >> Dodge and Ram >> 2010 >> Nitro Detonator, 4WD >> Repair and Diagnosis >> External Pages >> Different car >> Section 59 ((Front Control Module (FCM) - Electrical Diagnostics)) >> DTC Troubleshooting >> B1644-Rear Left Turn Control Circuit High >> Diagnostic Test
April 5, 2026: LEMON Manuals is launched! Read the announcement.

Diagnostic Test

WARNING: This page is about a different car, the 2009 Jeep Grand Cherokee. However, it is still accessible from the selected car via links, so may be relevant.
  1. TEST FOR INTERMITTENT CONDITION 
    1. Turn the ignition on.
    2. With the scan tool, erase all FCM DTCs.
    3. Turn the Left Turn Signal on.
    4. With the scan tool, read DTCs.

      Does the scan tool display: B1644-REAR LEFT TURN CONTROL CIRCUIT HIGH?

      Yes 

      • Go to step  2

      No 

  2. INSPECT LEFT REAR TURN SIGNAL BULB 
    1. Turn the ignition off.
    2. Inspect the Left Rear Turn Signal Bulb Assembly.

      Is the inoperative bulb okay?

      Yes 

      • Go to step  3

      No 

  3. CHECK (L63) LEFT REAR TURN SIGNAL CONTROL CIRCUIT IN BODY HARNESS FOR A SHORT TO VOLTAGE 
    1. Turn the Left Turn Signal off.
    2. Disconnect the Left Rear Turn Stop Tail Lamp connector.
    3. Turn the ignition on.
    4. Measure the voltage of the (L63) Left Rear Turn Signal Control circuit between the Left Rear Turn Stop Tail Lamp connector and ground.

      Is there any voltage present?

      Yes 

      No 

      • Go to step  4
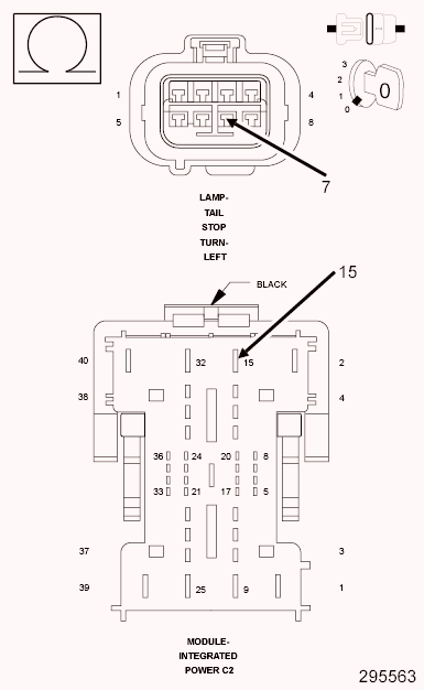
  4. CHECK (L63) LEFT REAR TURN SIGNAL CONTROL CIRCUIT IN BODY HARNESS FOR AN OPEN 
    Fig 1: Checking Left Rear Turn Signal Control Circuit In Body Harness For An Open
    GC0120098Courtesy of CHRYSLER LLC
    1. Turn the ignition off.
    2. Disconnect the IPM C2 connector.
    3. Measure the resistance of the (L63) Left Rear Turn Signal Control circuit between the Left Rear Turn Stop Tail Lamp connector and the IPM C2 connector.

      Is the resistance above 5.0 ohms?

      Yes 

      No 

      • Go to step  5
  5. CHECK (L63) LEFT REAR TURN SIGNAL CONTROL CIRCUIT IN IPM FOR A SHORT TO VOLTAGE 
    Fig 2: Checking Left Rear Turn Signal Control Circuit In IPM For A Short To Voltage
    GC0120099Courtesy of CHRYSLER LLC
    1. Disconnect the Front Control Module (FCM) from the IPM 49-way connector.
    2. Turn the ignition on.
    3. Measure the voltage of the (L63) Left Rear Turn Signal Control circuit between the IPM 49-way connector and ground.

      Is there any voltage present?

      Yes 

      No 

      • Go to step  6
  6. CHECK (L63) LEFT REAR TURN SIGNAL CONTROL CIRCUIT IN IPM FOR AN OPEN 
    1. Measure the resistance of the (L63) Left Rear Turn Signal Control circuit between the IPM 49-way connector and IPM C2 connector (at IPM).

      Is the resistance above 5.0 ohms?

      Yes 

      No