Diagnostic Test
WARNING: This page is about a different car, the 2009 Jeep Grand Cherokee. However, it is still accessible from the selected car via links, so may be relevant.
- TEST FOR INTERMITTENT CONDITION
- Turn the ignition on.
- With the scan tool, record and erase DTCs.
- Operate the Horn Switch several times.
- Cycle the ignition from on to off three times and leave on.
- With the scan tool, read DTCs.
Does the scan tool display: B2336 HORN CONTROL CIRCUIT LOW?
Yes
- Go to step 2
No
- The conditions that caused this code to set are not present at this time. Using the SYSTEM WIRING DIAGRAMS as a guide, inspect the wiring and connectors.
- Perform BODY VERIFICATION TEST. See DTC-Based Diagnostics/MODULE, Front Control (FCM) - Standard Procedure .
- CHECK THE HORN FUSE
- CHECK FOR A SHORTED HORN RELAY
- Install a known good relay in place of the Horn Relay.
- Replace the Horn fuse.
- Turn the ignition on.
- With the scan tool, record and erase DTCs.
- Operate the Horn Switch several times.
- Cycle the ignition from on to off three times and leave on.
- With the scan tool, read DTCs.
Does the scan tool display: B2336 HORN CONTROL CIRCUIT LOW?
Yes
- Go to step 4
No
- Replace the original Horn Relay.
- Perform BODY VERIFICATION TEST. See DTC-Based Diagnostics/MODULE, Front Control (FCM) - Standard Procedure .
- CHECK THE (A43) FUSED B(+) CIRCUIT FOR A SHORT TO GROUND
- Turn the ignition off.
- Remove the Horn Relay.
- Remove the Horn Fuse.
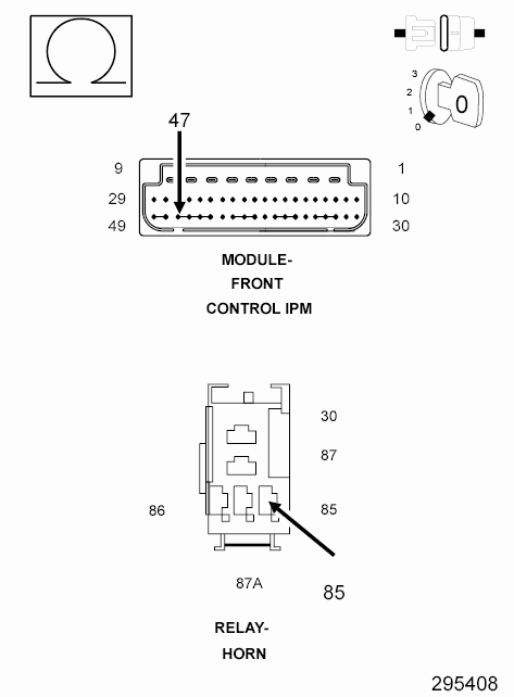
- Measure the resistance of the (A43) Fused B(+) circuit between ground and Cavity 86 of the Horn Relay connector in the Integrated Power Module (IPM).
- Measure the resistance of the (A43) Fused B(+) circuit between ground and Cavity 30 of the Horn Relay connector in the Integrated Power Module (IPM).
Is the resistance below 10k ohms?
Yes
- Replace the Integrated Power Module (IPM) in accordance with the Service Information.
- Perform BODY VERIFICATION TEST. See DTC-Based Diagnostics/MODULE, Front Control (FCM) - Standard Procedure .
No
- Go to step 5
- CHECK THE (X4) HORN RELAY CONTROL CIRCUIT FOR A SHORT TO GROUND
- Remove the Front Control Module (FCM) in accordance with the Service Information.
- Measure the resistance of the (X4) Horn Relay Control circuit between ground and Cavity 85 of the Horn Relay connector in the Integrated Power Module (IPM).
Is the resistance below 10k ohms?
Yes
- Replace the Integrated Power Module (IPM) in accordance with the Service Information.
- Perform BODY VERIFICATION TEST. See DTC-Based Diagnostics/MODULE, Front Control (FCM) - Standard Procedure .
No
- Replace the Front Control Module (FCM) in accordance with the Service Information. Then, Go To 6.
- CHECK FOR A SHORTED INTEGRATED POWER MODULE (IPM)
- Install the original Horn Relay.
- Replace the Horn fuse.
- Turn the ignition on.
- With the scan tool, record and erase DTCs.
- Operate the Horn Switch several times.
- Cycle the ignition from on to off three times and leave on.
- With the scan tool, read DTCs.
Does the scan tool display: B2336 HORN CONTROL CIRCUIT LOW?
Yes
- Replace the Integrated Power Module (IPM) in accordance with the Service Information.
- Perform BODY VERIFICATION TEST. See DTC-Based Diagnostics/MODULE, Front Control (FCM) - Standard Procedure .
No
- Perform BODY VERIFICATION TEST. See DTC-Based Diagnostics/MODULE, Front Control (FCM) - Standard Procedure .
- CHECK FOR POWER TO THE HORN FUSE
- Turn the ignition on.
- Using a 12-volt test light connected to ground, check for power to the Horn Fuse.
Does the test light illuminate brightly?
Yes
- Go to step 8
No
- Repair the (A1) / (A913) circuit for an open.
- Perform BODY VERIFICATION TEST. See DTC-Based Diagnostics/MODULE, Front Control (FCM) - Standard Procedure .
- CHECK FOR AN OPEN HORN RELAY
- Turn the ignition off.
- Install a known good relay in place of the Horn Relay.
- Turn the ignition on.
- With the scan tool, record and erase DTCs.
- Operate the Horn Switch several times.
- Cycle the ignition from on to off three times and leave on.
- With the scan tool, read DTCs.
Does the scan tool display: B2336 HORN CONTROL CIRCUIT LOW?
Yes
- Go to step 9
No
- Replace the original Horn Relay.
- Perform BODY VERIFICATION TEST. See DTC-Based Diagnostics/MODULE, Front Control (FCM) - Standard Procedure .
- CHECK THE (A43) FUSED B(+) CIRCUIT FOR AN OPEN
- Turn the ignition off.
- Remove the Horn Relay.
- Remove the Horn Fuse.
- Measure the resistance of the (A43) Fused B(+) circuit between the Horn Fuse (output cavity) and Cavity 86 of the Horn Relay connector in the Integrated Power Module (IPM).
- Measure the resistance of the (A43) Fused B(+) circuit between the Horn Fuse (output cavity) and Cavity 30 of the Horn Relay connector in the Integrated Power Module (IPM).
Is the resistance below 5.0 ohms?
Yes
- Go to step 10
No
- Replace the Integrated Power Module (IPM) in accordance with the Service Information.
- Perform BODY VERIFICATION TEST. See DTC-Based Diagnostics/MODULE, Front Control (FCM) - Standard Procedure .
- CHECK THE (X4) HORN RELAY CONTROL CIRCUIT FOR AN OPEN
- Remove the Front Control Module (FCM) in accordance with the Service Information.
- Measure the resistance of the (X4) Horn Relay Control circuit between Cavity 85 of the Horn Relay connector in the Integrated Power Module (IPM) and Cavity 47 of the FCM 49-Way connector.
Is the resistance below 5.0 ohms?
Yes
- Replace the Front Control Module (FCM) in accordance with the Service Information.
- Perform BODY VERIFICATION TEST. See DTC-Based Diagnostics/MODULE, Front Control (FCM) - Standard Procedure .
No
- Replace the Integrated Power Module (IPM) in accordance with the Service Information.
- Perform BODY VERIFICATION TEST. See DTC-Based Diagnostics/MODULE, Front Control (FCM) - Standard Procedure .