LEMON Manuals: Even more car manuals for everyone: 1960-2025
Home >> Dodge and Ram >> 2011 >> Caliber Express >> Repair and Diagnosis >> External Pages >> Different car >> Section 50 (Occupant Classification Module (OCM) - Electrical Diagnostics) >> DTC Troubleshooting >> U1419-Implausible Data Received From OCS Sensor 3 - Left Front >> Circuit Schematic
April 5, 2026: LEMON Manuals is launched! Read the announcement.

Circuit Schematic

WARNING: This page is about a different car, the 2009 Jeep Liberty. However, it is still accessible from the selected car via links, so may be relevant.
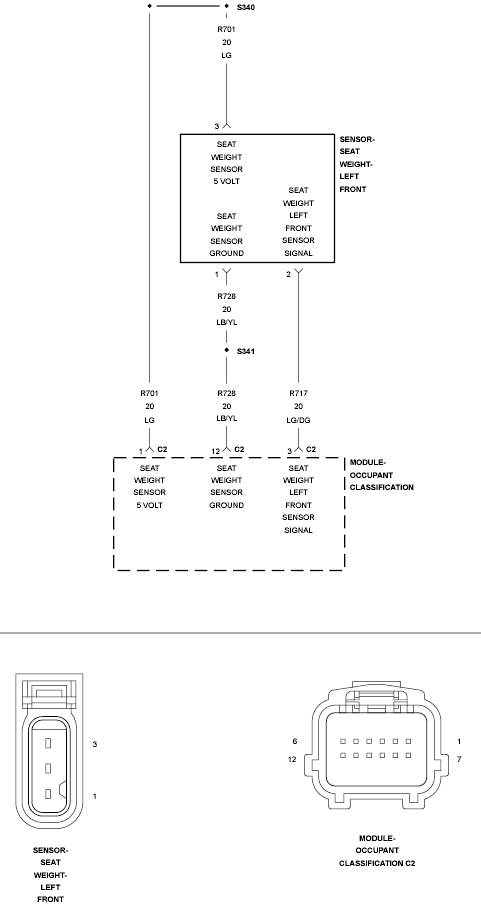
Fig 1: Left Front Passenger Seat Weight Sensor Circuit Schematic
GC0101823Courtesy of CHRYSLER LLC