LEMON Manuals: Even more car manuals for everyone: 1960-2025
Home >> Dodge and Ram >> 2011 >> Caliber Express >> Repair and Diagnosis >> Transmission >> Transmission Control Systems >> (Transmission Control Module (TCM) - Electrical Diagnostics) >> DTC Troubleshooting >> P0721-Output Speed Sensor Circuit Performance >> Diagnostic Test
April 5, 2026: LEMON Manuals is launched! Read the announcement.

Diagnostic Test

  1. CHECK TO SEE IF THE DTC IS ACTIVE 
    1. With the scan tool, read Transmission DTCs.

      Is the status Active or is the Starts Since Set counter 2 or less for this DTC?

      Yes 

      • Go To  2.

      No 

      • Go To  11.
  2. CHECK FOR ENGINE CAM OR CRANK SENSOR DTCS 
    1. With the scan tool, check engine DTCs.

      Are there any Engine Cam or Crank sensor DTCs present?

      Yes 

      • Refer to DTC Based Diagnostics and perform the appropriate diagnostic procedure.
      • Perform CVT VERIFICATION TEST. Refer to Standard Procedure .

      No 

      • Go To  3.
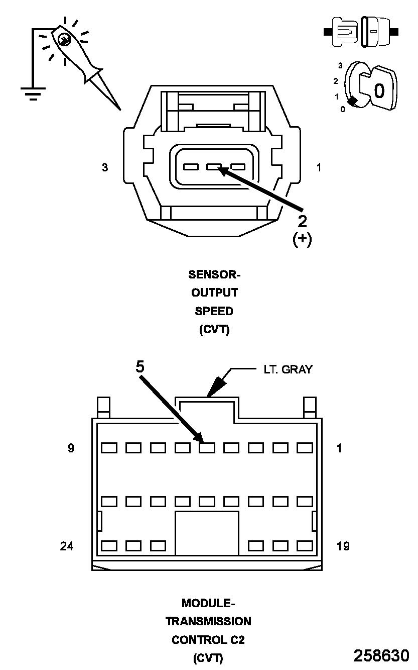
  3. CHECK THE (T16) TRANSMISSION CONTROL OUTPUT CIRCUIT FOR AN OPEN (HIGH RESISTANCE) 
    Fig 1: Checking Transmission Control Output Circuit For An Open (High Resistance)
    GC0100324Courtesy of CHRYSLER LLC
    1. Disconnect the Output Speed Sensor harness connector.
    2. Ignition on, engine not running
    3. With the scan tool under TIPM, actuate the Transmission.
    4. Using a 12-volt test light connected to ground, check the (T16) Transmission Control Output circuit at the Output Speed Sensor harness connector.
      NOTE:

      The test light must illuminate brightly. Compare the brightness to that of a direct connection to the battery.

      Does the test light illuminate brightly?

      Yes 

      • Go To  4.

      No 

      • Repair the (T16) Transmission Control Output circuit for an open or high resistance.
      • Perform CVT VERIFICATION TEST. Refer to Standard Procedure .
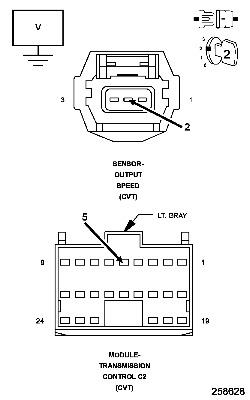
  4. CHECK THE (T52) OUTPUT SPEED SENSOR SIGNAL CIRCUIT 
    Fig 2: Measuring Voltage Of Output Speed Sensor Signal Circuit
    GC0100325Courtesy of CHRYSLER LLC
    1. With the scan tool under TIPM, stop the Transmission actuator.
    2. Turn the ignition off, wait 5 seconds, then turn the ignition on.
    3. Measure the voltage of the (T52) Output Speed Sensor Signal circuit.

      Pick the answer that best matches your findings:

      Voltage above 9.0 volts 

      • Go To  5.

      Voltage below 9.0 volts 

      • Go To  6.
  5. CHECK THE (T52) OUTPUT SPEED SENSOR SIGNAL CIRCUIT FOR A SHORT TO VOLTAGE 
    Fig 3: Checking Output Speed Sensor Signal Circuit For A Short To Voltage
    GC0100326Courtesy of CHRYSLER LLC
    1. Turn the ignition off to the lock position.
    2. Disconnect the TCM C2 harness connector.
    3. Ignition on, engine not running
    4. Measure the voltage of the (T52) Output Speed Sensor Signal circuit.

      Is the voltage above 0.2 volts?

      Yes 

      • Repair the (T52) Output Speed Sensor Signal circuit for a short to voltage.
      • Perform CVT VERIFICATION TEST. Refer to Standard Procedure .

      No 

      • Using the diagrams as a guide, check the Transmission Control Module (TCM) terminals for corrosion, damage, or terminal push out. Pay particular attention to all power and ground circuits. Check for any Service Bulletins for possible causes that may apply. If no problems are found, replace the TCM in accordance with the Service Information.
      • Perform CVT VERIFICATION TEST. Refer to Standard Procedure .
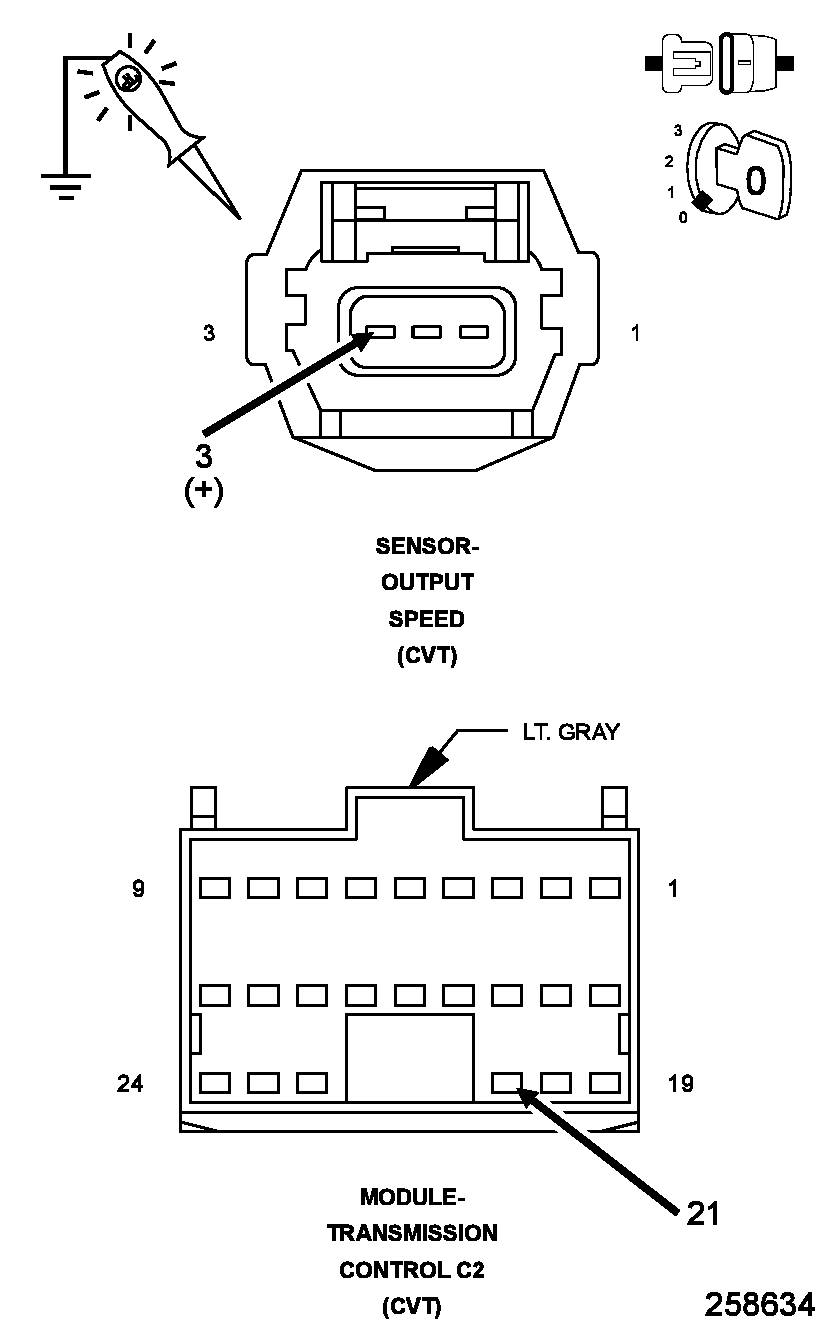
  6. CHECK THE (T52) OUTPUT SPEED SENSOR SIGNAL CIRCUIT FOR AN OPEN (HIGH RESISTANCE) 
    Fig 4: Checking Output Speed Sensor Signal Circuit In TCM Harness Connector Using 12-Volt Test Light Connected To Ground
    GC0100327Courtesy of CHRYSLER LLC
    1. Turn the ignition off to the lock position.
    2. Disconnect the TCM C2 harness connector.
    3. Connect a jumper wire between the (T52) Output Speed Sensor Signal circuit and B(+) in the Output Speed Sensor harness connector.
    4. Using a 12-volt test light connected to ground, check the (T52) Output Speed Sensor Signal circuit in the TCM C2 harness connector.
      NOTE:

      The test light must illuminate brightly. Compare the brightness to that of a direct connection to the battery.

      Does the test light illuminate brightly?

      Yes 

      • Go To  7.

      No 

      • Repair the (T52) Output Speed Sensor Signal circuit for an open or high resistance.
      • Perform CVT VERIFICATION TEST. Refer to Standard Procedure .
  7. CHECK THE (T130) OUTPUT SPEED SENSOR GROUND CIRCUIT SHORT TO VOLTAGE 
    Fig 5: Checking Output Speed Sensor Ground Circuit Short To Voltage
    GC0100328Courtesy of CHRYSLER LLC
    1. Turn the ignition off to the lock position.
    2. Disconnect the jumper wire.
    3. Disconnect the TCM C2 harness connector.
    4. Ignition on, engine not running
    5. Measure the voltage of the (T130) Output Speed Sensor Ground circuit.

      Is the volage above 0.2 volts?

      Yes 

      • Repair the (T130) Output Speed Sensor Ground circuit for a short to voltage
      • Perform CVT VERIFICATION TEST. Refer to Standard Procedure .

      No 

      • Go To  8.
  8. CHECK THE (T130) OUTPUT SPEED SENSOR GROUND CIRCUIT FOR AN OPEN (HIGH RESISTANCE) 
    Fig 6: Checking Output Speed Sensor Ground Circuit For An Open (High Resistance)
    GC0100329Courtesy of CHRYSLER LLC
    1. Turn the ignition off to the lock position.
    2. Connect a jumper wire between the (T130) Output Speed Sensor Ground circuit in the Output Speed Sensor harness connector and B(+).
    3. Using a 12-volt test light connected to ground, check the (T130) Output Speed Sensor Ground circuit in the TCM C2 harness connector.

      Does the test light illuminate brightly?

      Yes 

      • Go To  9.

      No 

      • Repair the (T130) Output Speed Sensor Ground circuit for an open or high resistance.
      • Perform CVT VERIFICATION TEST. Refer to Standard Procedure .
  9. CHECK THE OUTPUT SPEED SENSOR 
    1. Turn the ignition off to the lock position.
    2. Remove the Output Speed Sensor in accordance with the Service Information.
    3. Check the Output Speed Sensor for any debris buildup or damage.

      Did the Output Speed Sensor show any signs of debris buildup or damage?

      Yes 

      • If there is a debris build up, clean the Output Speed Sensor as necessary and reinstall. If damaged or questionable in condition, replace the Output Speed Sensor.
      • Perform CVT VERIFICATION TEST. Refer to Standard Procedure .

      No 

      • Go To  10.
  10. REPLACE SPEED SENSOR AND TEST DRIVE VEHICLE 
    1. Turn the ignition off to the lock position.
    2. Replace the Output Speed Sensor in accordance with the Service Information
    3. Reconnect all previously disconnected harness connectors.
    4. Ignition on, engine not running
    5. With the scan tool, erase all Transmission DTCs.
    6. Perform CVT VERIFICATION TEST. Refer to Standard Procedure .
      NOTE:

      Test drive the vehicle to speeds that will allow Torque Converter lock-up.

    7. With the scan tool, read Transmission DTCs.

      Does the DTC P0721 reset?

      Yes 

      • Using the diagrams as a guide, check the Transmission Control Module (TCM) terminals for corrosion, damage, or terminal push out. Pay particular attention to all power and ground circuits. Check for any Service Bulletins for possible causes that may apply. If no problems are found, replace the TCM in accordance with the Service Information.
      • Perform CVT VERIFICATION TEST. Refer to Standard Procedure .

      No 

      • Test Complete.
  11. CHECK THE WIRING AND CONNECTORS 
    1. The conditions necessary to set this DTC are not present at this time.
    2. Using the diagrams as a guide, inspect the wiring and connectors specific to this circuit.
    3. Wiggle the wires while checking for shorted and open circuits.

      Were there any problems found?

      Yes 

      No 

      • Test Complete.