LEMON Manuals: Even more car manuals for everyone: 1960-2025
Home >> Dodge and Ram >> 2011 >> Caliber Heat, Standard >> Repair and Diagnosis >> Transmission >> Transmission Control Systems >> (Transmission Control Module (TCM) - Electrical Diagnostics) >> DTC Troubleshooting >> P0722-Output Speed Sensor Circuit No Signal >> Diagnostic Test
April 5, 2026: LEMON Manuals is launched! Read the announcement.

Diagnostic Test

  1. CHECK TO SEE IF THE DTC IS ACTIVE 
    1. With the scan tool, read Transmission DTCs.

      Is the status Active or is the Starts Since Set counter 2 or less for this DTC?

      Yes 

      • Go To  2.

      No 

      • Go To  9.
  2. CHECK IF BOTH SPEED SENSORS SHOW NO SIGNAL 
    1. With the scan tool, read Transmission DTCs.

      Are both the Input and Output Speed Sensor No Signal DTCs set?

      Yes 

      • Check the C106 connector for improper connection and repair as necessary.
      • Perform CVT VERIFICATION TEST. Refer to Standard Procedure .
      • If no problems are found in the C106 connector - Go To  3.

      No 

      • Go To  3.
  3. CHECK THE (T16) TRANSMISSION CONTROL OUTPUT CIRCUIT FOR AN OPEN 
    Fig 1: Checking Transmission Control Output Circuit For An Open (High Resistance)
    GC0100324Courtesy of CHRYSLER LLC
    1. Turn the ignition off to the lock position.
    2. Disconnect the Output Speed Sensor harness connector.
    3. Ignition on, engine not running.
    4. With the scan tool under TIPM, actuate the Transmission.
    5. Using a 12-volt test light connected to ground, check the (T16) Transmission Control Output circuit at the Output Speed Sensor harness connector.
      NOTE:

      The test light must illuminate brightly. Compare the brightness to that of a direct connection to the battery.

      Does the test light illuminate brightly?

      Yes 

      • Go To  4.

      No 

      • Repair the (T16) Transmission Control Output circuit for an open or high resistance.
      • Perform CVT VERIFICATION TEST. Refer to Standard Procedure .
  4. CHECK THE (T52) OUTPUT SPEED SENSOR SIGNAL CIRCUIT SHORT TO VOLTAGE 
    Fig 2: Checking Output Speed Sensor Signal Circuit For A Short To Voltage
    GC0100326Courtesy of CHRYSLER LLC
    1. Turn the ignition off to the lock position.
    2. Disconnect the TCM C2 harness connector.
    3. Ignition on, engine not running.
    4. Measure the voltage of the (T52) Output Speed Sensor Signal circuit.

      Is the voltage above 0.5 volts?

      Yes 

      • Repair the (T52) Output Speed Sensor Signal circuit for a short to voltage.
      • Perform CVT VERIFICATION TEST. Refer to Standard Procedure .

      No 

      • Go To  5.
  5. CHECK THE (T52) OUTPUT SPEED SENSOR SIGNAL CIRCUIT FOR AN OPEN 
    Fig 3: Measuring Resistance Of Output Speed Sensor Signal Circuit
    GC0100330Courtesy of CHRYSLER LLC
    1. Turn the ignition off to the lock position.
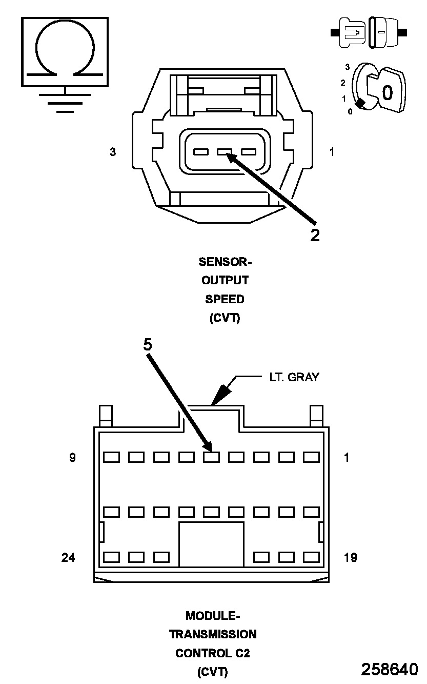
    2. Measure the resistance of the (T52) Output Speed Sensor Signal circuit between the TCM C2 harness connector and the Output Speed Sensor harness connector.

      Is the resistance below 5.0 ohms?

      Yes 

      • Go To  6.

      No 

      • Repair the (T52) Output Speed Sensor Signal circuit for an open.
      • Perform CVT VERIFICATION TEST. Refer to Standard Procedure .
  6. CHECK THE (T52) OUTPUT SPEED SENSOR SIGNAL CIRCUIT FOR A SHORT TO GROUND 
    Fig 4: Measuring Resistance Between Ground & Output Speed Sensor Signal Circuit
    GC0100331Courtesy of CHRYSLER LLC
    1. Measure the resistance between ground and the (T52) Output Speed Sensor Signal circuit.

      Is the resistance below 5.0 ohms?

      Yes 

      • Repair the (T52) Output Speed Sensor Signal circuit for a short to ground.
      • Perform CVT VERIFICATION TEST. Refer to Standard Procedure .

      No 

      • Go To  7.
  7. CHECK THE (T130) OUTPUT SPEED SENSOR GROUND CIRCUIT FOR AN OPEN 
    Fig 5: Measuring Resistance Of Output Speed Sensor Ground Circuit
    GC0100332Courtesy of CHRYSLER LLC
    1. Measure the resistance of the (T130) Output Speed Sensor Ground circuit between the TCM C2 harness connector and the Output Speed Sensor harness connector.

      Is the resistance below 5.0 ohms?

      Yes 

      • Go To  8.

      No 

      • Repair the (T130) Output Speed Sensor Ground circuit for an open.
      • Perform CVT VERIFICATION TEST. Refer to Standard Procedure .
  8. CHECK THE OUTPUT SPEED SENSOR 
    1. Turn the ignition off to the lock position
    2. Replace the Output Speed Sensor in accordance with the Service Information.
    3. Reconnect all previously disconnected connectors.
    4. Ignition on, engine not running.
    5. With the scan tool, erase all Transmission DTCs.
    6. Perform CVT VERIFICATION TEST. Refer to Standard Procedure .
      NOTE:

      Make sure to perform a test drive of the vehicle.

    7. With the scan tool, read Transmission DTCs.

      Did the DTC P0722 reset?

      Yes 

      • Using the diagrams as a guide, check the Transmission Control Module (TCM) terminals for corrosion, damage, or terminal push out. Pay particular attention to all power and ground circuits. Check for any Service Bulletins for possible causes that may apply. If no problems are found, replace the TCM in accordance with the Service Information.
      • Perform CVT VERIFICATION TEST. Refer to Standard Procedure .

      No 

      • Repair is complete.
  9. CHECK THE WIRING AND CONNECTORS 
    1. The conditions necessary to set this DTC are not present at this time.
    2. Using the diagrams as a guide, inspect the wiring and connectors specific to this circuit.
    3. Wiggle the wires while checking for shorted and open circuits.

      Were there any problems found?

      Yes 

      No 

      • Test Complete.