LEMON Manuals: Even more car manuals for everyone: 1960-2025
Home >> Dodge and Ram >> 2011 >> Durango Express, AWD >> Repair and Diagnosis >> External Pages >> Different car >> Section 192 (Intrusion Transceiver Module (ITM) - Electrical Diagnostics) >> DTC Troubleshooting >> B1A41-Security Transmitter Sensor Circuit Open >> Notes
April 5, 2026: LEMON Manuals is launched! Read the announcement.

B1A41-Security Transmitter Sensor Circuit Open: Notes

WARNING: This page is about a different car, the 2011 Jeep Liberty. However, it is still accessible from the selected car via links, so may be relevant.
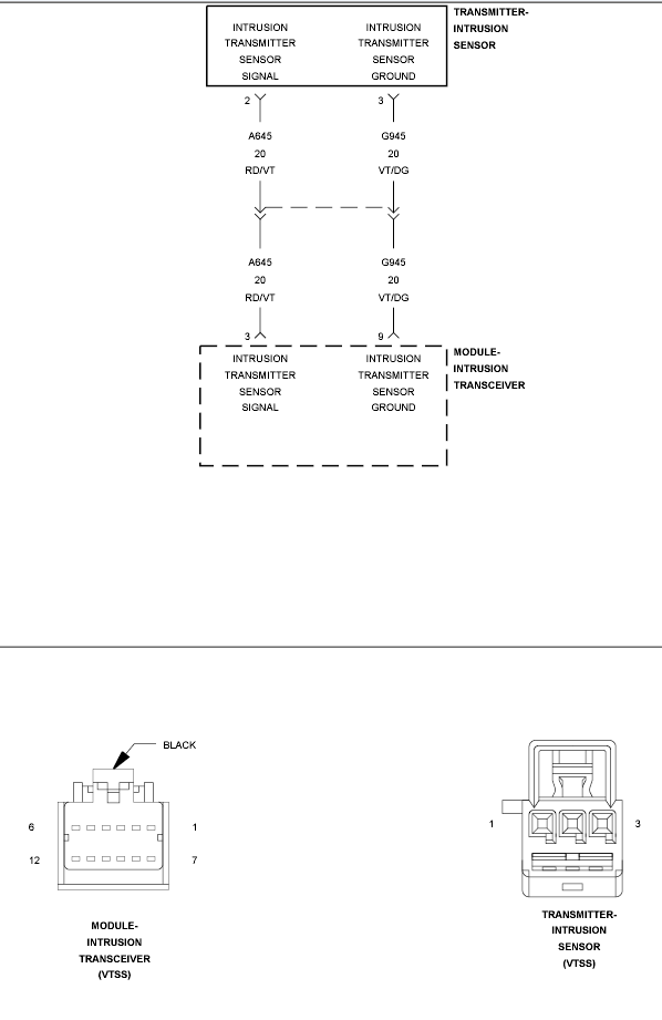
Fig 1: Security Transmitter Sensor (VTSS) Wiring Diagram
GC0151771Courtesy of CHRYSLER LLC

For a complete wiring diagram, refer to appropriate SYSTEM WIRING DIAGRAMS article  .