LEMON Manuals: Even more car manuals for everyone: 1960-2025
Home >> Dodge and Ram >> 2011 >> Durango R/T, AWD >> Repair and Diagnosis >> External Pages >> Different car >> Section 237 ((Front Control Module (FCM) - Electrical Diagnostics)) >> Diagnosis and Testing >> B2317-Wiper Hi/Low Control Circuit Low >> Diagnostic Test
April 5, 2026: LEMON Manuals is launched! Read the announcement.

Diagnostic Test

WARNING: This page is about a different car, the 2011 RAM Dakota. However, it is still accessible from the selected car via links, so may be relevant.
  1. INTERMITTENT CONDITION 
    1. Turn the ignition on.
    2. With the scan tool, clear all FCM DTCs.
    3. Turn the Wipers from High to Low.
    4. With the scan tool, read the Wiper DTCs.

      Does the scan tool read: B2317-WIPER HI/LOW CONTROL CIRCUIT LOW?

      Yes 

      • Go To  2.

      No 

      • The condition that caused the symptom is currently not present. Inspect the related wiring for a possible intermittent condition. Look for any chafed, pierced, pinched, or partially broken wires.
      • Perform the BODY VERIFICATION TEST. Refer to BODY VERIFICATION TEST .
  2. WIPER HI/LOW RELAY 
    1. Turn the ignition off.
    2. Install a substitute relay in place of the Wiper Hi/Low Relay.
    3. Turn the ignition on.
    4. With the scan tool, read the DTCs.

      Does the scan tool read: B2317-WIPER HI/LOW CONTROL CIRCUIT LOW?

      Yes 

      • Go To  3.

      No 

      • Replace the Wiper Hi/Low Relay in accordance with the service information.
      • Perform the BODY VERIFICATION TEST. Refer to BODY VERIFICATION TEST .
  3. FRONT CONTROL MODULE 
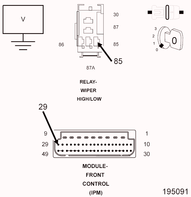
    Fig 1: Measuring The Resistance Between Ground & The Wiper Hi/Low Relay Control Circuit In The IPM.
    GC0113576Courtesy of CHRYSLER LLC
    1. Turn the ignition off.
    2. Remove the Wiper Hi/Low Relay.
    3. Disconnect the FCM C3 harness connector.
    4. Measure the resistance between ground and the Wiper Hi/Low Relay Control circuit in the IPM.

      Is the resistance below 5.0 Ohms?

      Yes 

      • Replace the IPM in accordance with the service information.
      • Perform the BODY VERIFICATION TEST. Refer to BODY VERIFICATION TEST .

      No 

      • Replace the Front Control Module in accordance with the service information.
      • Perform the BODY VERIFICATION TEST. Refer to BODY VERIFICATION TEST .