LEMON Manuals: Even more car manuals for everyone: 1960-2025
Home >> Dodge and Ram >> 2012 >> C/V >> Repair and Diagnosis (Single Page) >> Accessories & Equipment >> Anti-Theft Systems >> Intrusion Transceiver Module (ITM) - Electrical Diagnostics >> DTC Troubleshooting >> B1A3B-Security Receiver Sensor Circuit High >> Diagnostic Test
April 5, 2026: LEMON Manuals is launched! Read the announcement.

Diagnostic Test

  1. TEST FOR INTERMITTENT CONDITION 
    1. Turn the ignition on.
    2. With the scan tool, record and erase DTCs.
    3. Turn the ignition off and remove the key from the ignition.
    4. Close all doors and arm the VTSS and wait two minutes.
    5. Disarm the VTSS turn the ignition on.
    6. Turn the ignition on and with the scan tool, read DTC's.

      Does the scan tool display this DTC as active?

      Yes 

      • Go To  2.

      No 

      • The conditions that caused this code to set are not present at this time. Using the wiring diagram/schematic as a guide, inspect the wiring and connectors.
      • Refer to STANDARD PROCEDURE and perform the BODY VERIFICATION TEST.
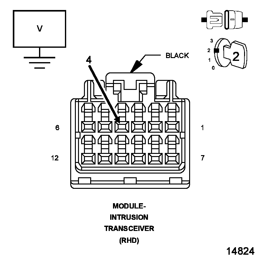
  2. CHECK THE (G460) INTRUSION RECEIVER SENSOR SIGNAL CIRCUIT SHORT TO VOLTAGE 

    Fig 1: Checking Intrusion Receiver Sensor Signal Circuit For Short To Voltage
    GC0096969Courtesy of CHRYSLER GROUP, LLC
    1. Turn the ignition off.
    2. Disconnect the Intrusion Sensor Receiver connector.
    3. Disconnect the Intrusion Transceiver Module connector.
    4. Measure for voltage between chassis ground and the (G460) Intrusion Receiver Sensor Signal circuit at the Intrusion Transceiver Module connector.

      Is there any voltage present?

      Yes 

      • Repair the (G460) Intrusion Receiver Sensor Signal circuit for a short to voltage.
      • Refer to STANDARD PROCEDURE and perform the BODY VERIFICATION TEST.

      No 

      • Replace the Intrusion Transceiver Module in accordance with the Service Information.
      • Refer to STANDARD PROCEDURE and perform the BODY VERIFICATION TEST.