LEMON Manuals: Even more car manuals for everyone: 1960-2025
Home >> Dodge and Ram >> 2012 >> C/V >> Repair and Diagnosis (Single Page) >> Body & Frame >> Door Locks >> Intrusion Transceiver Module (ITM) - Electrical Diagnostics >> DTC Troubleshooting >> B1A41-Security Transmitter Sensor Circuit Open >> Diagnostic Test
April 5, 2026: LEMON Manuals is launched! Read the announcement.

Diagnostic Test

  1. TEST FOR INTERMITTENT CONDITION 
    1. Turn the ignition on.
    2. With the scan tool, record and erase DTCs.
    3. Turn the ignition off and remove the key from the ignition.
    4. Close all doors and arm the VTSS and wait one minute.
    5. Disarm the VTSS turn the ignition on and wait one minute.
    6. With the scan tool, read DTCs.

      Does the scan tool display this DTC as active?

      Yes 

      • Go To  2.

      No 

      • The conditions that caused this code to set are not present at this time. Using the wiring diagram/schematic as a guide, inspect the wiring and connectors.
      • Refer to STANDARD PROCEDURE and perform the BODY VERIFICATION TEST.
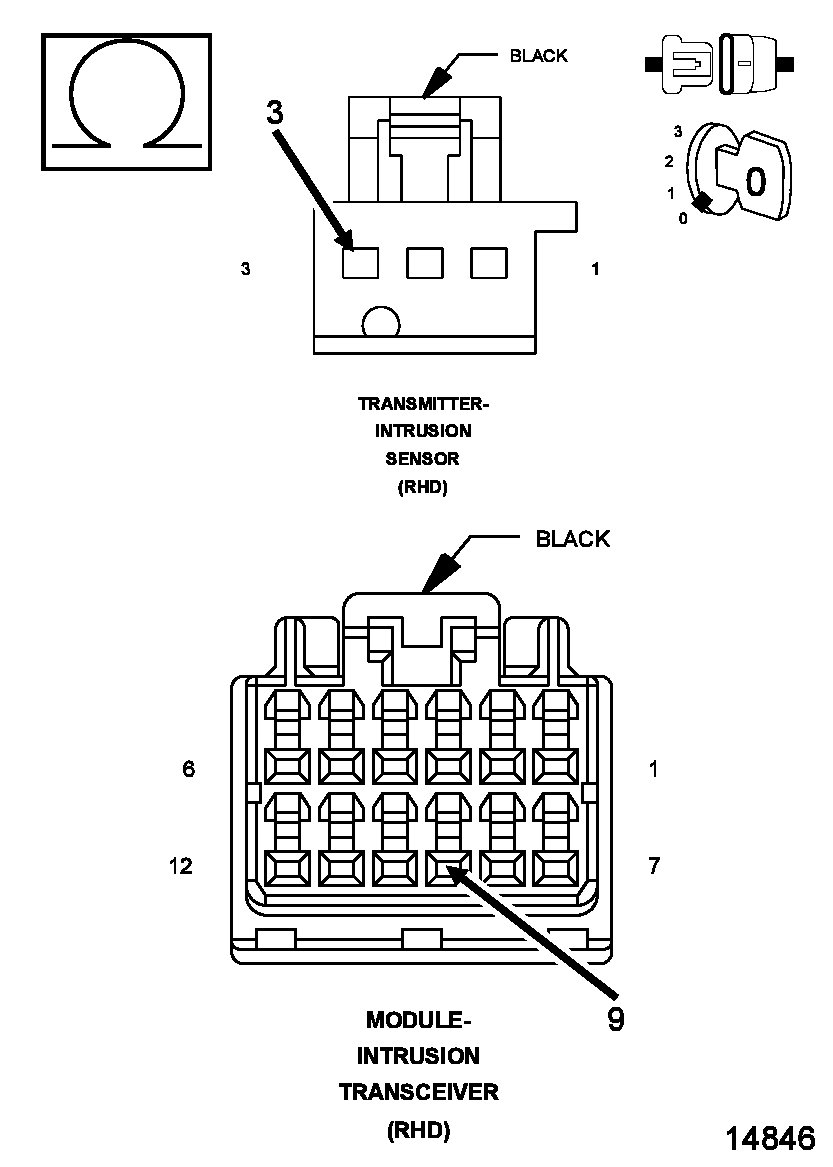
  2. CHECK THE (A645) INTRUSION TRANSMITTER SENSOR SIGNAL CIRCUIT VOLTAGE 

    Fig 1: Checking Intrusion Transmitter Sensor Signal Circuit For Voltage
    GC0096974Courtesy of CHRYSLER GROUP, LLC
    1. Disconnect the Intrusion Sensor Transmitter connector.
      NOTE:

      Check connectors - Clean/repair as necessary.

    2. Turn the ignition on.
    3. With the scan tool actuate the Intrusion Sensor Transmitter.
    4. Measure the voltage between (A645) Intrusion Sensor Signal circuit and (G945) Sensor Ground circuit.

      Is the voltage above 10.0 volts

      Yes 

      • Go To  3.

      No 

      • Go To  4.
  3. CHECK THE INTRUSION SENSOR TRANSMITTER 

    1. Turn the ignition off.
    2. Install a known good Intrusion Sensor Transmitter.
    3. Turn the ignition on.
    4. With the scan tool erase DTCs.
    5. Turn the ignition off and remove the key from the ignition.
    6. Close all doors and arm the VTSS and wait one minute.
    7. Disarm the VTSS turn the ignition on and wait one minute.
    8. With the scan tool, read DTCs.

      Does the scan tool display this DTC as active?

      Yes 

      • Replace the Intrusion Transceiver Module in accordance with the Service Information.
      • Refer to STANDARD PROCEDURE and perform the BODY VERIFICATION TEST.

      No 

      • Replace the original Intrusion Sensor Transmitter.
      • Refer to STANDARD PROCEDURE and perform the BODY VERIFICATION TEST.
  4. CHECK THE (A645) INTRUSION TRANSMITTER SENSOR SIGNAL WIRE 

    Fig 2: Checking Intrusion Transmitter Sensor Signal Circuit For Open
    GC0096975Courtesy of CHRYSLER GROUP, LLC
    1. Turn the ignition off.
    2. Disconnect the Intrusion Transceiver Module connector.
    3. Measure the resistance of the (A645) Intrusion Transmitter Sensor Signal circuit between the Intrusion Sensor Transmitter connector and the Intrusion Transceiver Module connector.

      Is the resistance below 5.0 ohms?

      Yes 

      • Repair the (A645) Intrusion Transmitter Sensor Signal circuit for an open.
      • Refer to STANDARD PROCEDURE and perform the BODY VERIFICATION TEST.

      No 

      • Go To  5.
  5. CHECK THE (G945) SENSOR GROUND WIRE FOR AN OPEN 

    Fig 3: Checking Intrusion Transmitter Sensor Ground Wire Circuit For Open
    GC0096976Courtesy of CHRYSLER GROUP, LLC
    1. Turn the ignition off.
    2. Measure the resistance of the (G945) Sensor Ground circuit from the Intrusion Sensor Transmitter connector to the Intrusion Transceiver Module connector.

      Is the resistance below 5.0 ohms?

      Yes 

      • Replace the Intrusion Transceiver Module in accordance with the Service Information.
      • Refer to STANDARD PROCEDURE and perform the BODY VERIFICATION TEST.

      No 

      • Repair the (G945) Sensor Ground circuit for an open.
      • Refer to STANDARD PROCEDURE and perform the BODY VERIFICATION TEST.