LEMON Manuals: Even more car manuals for everyone: 1960-2025
Home >> Dodge and Ram >> 2013 >> Ram Cargo Van V6-3.6L >> Repair and Diagnosis >> Maintenance >> Alignment >> Service and Repair >> Wheel Alignment Procedures
April 5, 2026: LEMON Manuals is launched! Read the announcement.

Wheel Alignment Procedures






WHEEL ALIGNMENT

PRE-WHEEL ALIGNMENT INSPECTION

Before any attempt is made to change or correct the wheel alignment, the following inspection and necessary corrections must be made to ensure proper alignment.

1. Verify that the fuel tank is full of fuel. If the tank is not full, the reduction in weight will affect the curb height of the vehicle and the alignment angles.

2. The passenger and luggage compartments of the vehicle should be free of any load that is not factory equipment.

3. Check the tires on the vehicle. All tires must be the same size and in good condition with approximately the same amount of tread wear. Inflate all the tires to the recommended air pressure.

4. Check the front wheel and tire assemblies for excessive radial runout.

5. Inspect lower ball joints and all steering linkage for looseness, binding, wear or damage. Repair as necessary.

6. Check suspension fasteners for proper torque and retighten as necessary.

7. Inspect all suspension component rubber bushings for signs of wear or deterioration. Replace any faulty bushings or components before aligning the vehicle.

8. Check the vehicle's curb height to verify it is within specifications. Wheel Alignment Procedures

WHEEL ALIGNMENT SETUP

1. Position the vehicle on an alignment rack.

2. Install all required alignment equipment on the vehicle per the alignment equipment manufacturer's instructions. On this vehicle, a four-wheel alignment is recommended.

NOTE:
Prior to reading the vehicle's alignment readouts, the front and rear of vehicle should be jounced. Induce jounce (rear first, then front) by grasping the center of the bumper and jouncing each end of vehicle an equal number of times. The bumper should always be released when vehicle is at the bottom of the jounce cycle.

3. Read the vehicle's current front and rear alignment settings. Compare the vehicle's current alignment settings to the vehicle specifications for camber, caster and toe-in. Wheel Alignment

4. If front camber and caster are not within specifications, proceed to FRONT CAMBER AND CASTER below. If caster and camber are within specifications, proceed to TOE which can be found following FRONT CAMBER AND CASTER. Rear camber, caster and toe are not adjustable. If found not to be within specifications, reinspect for damaged suspension or body components and replace as necessary.

FRONT CAMBER AND CASTER

Front camber and caster settings on this vehicle are determined at the time the vehicle is designed, by the location of the vehicle's suspension components. This is referred to as Net Build. The result is no required adjustment of camber and caster after the vehicle is built or when servicing the suspension components. Thus, when performing a wheel alignment, caster and camber are not normally considered adjustable angles but some adjustment can be made. Camber and caster should be checked to ensure they meet vehicle specifications. Wheel Alignment

If individual front camber or caster is found not to meet alignment specifications, each can be adjusted by shifting the front crossmember or by using an available service adjustment bolt package. If an adjustment bolt package installation is necessary, inspect the suspension components for any signs of damage or bending first.

If individual front camber or caster is found to meet alignment specifications, but the vehicle pulls or leads in one direction, crosscamber and crosscaster can be adjusted by shifting the front crossmember. Following adjustment, make sure individual front camber and caster is within specifications. If not within specifications, adjust as necessary by using an available service adjustment bolt package or by shifting the front crossmember.

CAUTION:
Do not attempt to adjust the vehicle's wheel alignment by heating or bending any of the suspension components.

ADJUSTMENT BY SHIFTING CROSSMEMBER

CAUTION:
Always use care when shifting crossmember to avoid damaging other components on the vehicle.

1. Loosen the bolts fastening the front crossmember to the frame just enough to allow movement of the crossmember. Crossmember - Removal

2. Loosen the bolts fastening the fore/aft crossmember to the frame just enough to allow movement of the crossmember. Crossmember - Removal

CAUTION:
When shifting the front crossmember, keep in mind that the front and rear engine mounts are attached to the front crossmember and fore/aft crossmember and should be inspected following the crossmember shift to make sure they are properly aligned.

3. Shift front crossmember as necessary (See following tables) to bring camber or caster into specifications. When shifting crossmember, use care not to move other angles (camber or caster) that are within specifications, out of specifications.











4. Tighten all previously loosened fasteners (bolts) securing the crossmember to the vehicle to specifications. Crossmember - Installation

5. Jounce the rear, then front of the vehicle an equal amount of times.

6. Measure camber and caster. If camber and caster are within specifications, proceed to TOE. If camber cannot be brought into specifications, perform the CAMBER ADJUSTMENT BOLT PACKAGE INSTALLATION below.

CAMBER ADJUSTMENT BOLT PACKAGE INSTALLATION

1. Raise the vehicle until its tires are not supporting the weight of the vehicle. Service and Repair





2. Remove the wheel mounting nuts (3), then the front tire and wheel assembly (1).

CAUTION:
When removing the steering knuckle from the strut clevis bracket, do not put a strain on the brake flex hose. Also, do not let the weight of the steering knuckle assembly be supported by the brake flex hose when removed from the strut assembly. If necessary use a wire hanger to support the steering knuckle assembly or if required remove the brake flex hose from the caliper assembly.

CAUTION:
The strut clevis-to-knuckle attaching bolt shanks are serrated and must not be turned during removal. Remove the nuts while holding the bolts stationary, then tap the bolts out using a punch.





3. If servicing left strut assembly:

a. While holding bolt heads stationary, remove two nuts (3) from bolts (2) attaching strut (1) to knuckle.

b. Remove two bolts (2) attaching strut (1) to knuckle using a pin punch.





4. If servicing right strut assembly:

a. While holding bolt heads stationary, remove two nuts (3) from bolts (2) attaching strut (1) to knuckle.

b. Remove two bolts (2) attaching strut (1) to knuckle using a pin punch.

5. Separate the knuckle from the strut clevis bracket and position knuckle so it is out of the way of the strut. Use care not to overextend the brake flex hose or axle half shaft.





CAUTION:
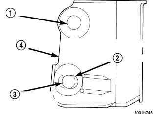
When slotting the bottom mounting hole (3) on the strut clevis bracket (4), do not enlarge the hole beyond the indentations (2) on the sides of the strut clevis bracket.

6. Using an appropriate grinder and grinding wheel, slot the bottom hole (3) in both sides of the strut clevis bracket (4).

CAUTION:
After slotting the strut clevis bracket hole, do not install the original attaching bolts. Only the service package bolts and dog bone washers must be used to attach the knuckle to the strut once the mounting hole is slotted.

NOTE:
The strut clevis-to-knuckle bolts are installed differently on each side. Left hand side bolts are to be installed from vehicle rear to front. Right side bolts are to be installed from vehicle front to rear.






7. If servicing left knuckle:

a. Position lower end of strut assembly (1) in line with upper end of knuckle, aligning mounting holes. Install two service package bolts (2). Be sure to place bolt with eccentric cam in bottom (slotted) hole on strut clevis bracket.

b. Install a dog bone washer on the over the ends of the two mounting bolts.

c. Install service package strut clevis-to-knuckle nuts (3) on two service package bolts (2). While holding bolts in place, tighten nuts just enough to hold steering knuckle in position when adjusting camber, but still allowing steering knuckle to move in clevis bracket when needed.





8. If servicing right knuckle:

a. Position lower end of strut assembly (1) in line with upper end of knuckle, aligning mounting holes. Install two service package bolts (2). Be sure to place bolt with eccentric cam in bottom (slotted) hole on strut clevis bracket.

b. Install a dog bone washer on the over the ends of the two mounting bolts.

c. Install service package strut clevis-to-knuckle nuts (3) on two service package bolts (2). While holding bolts in place, tighten nuts just enough to hold steering knuckle in position when adjusting camber, but still allowing the steering knuckle to move in clevis bracket when needed.





9. Install tire and wheel assembly (1) Tires And Wheels - Installation. Install and tighten wheel mounting nuts (3) to 135 Nm (100 ft. lbs.).

10. Perform the above procedure to opposite side strut as required.

11. Lower vehicle.

12. Jounce front and rear of vehicle an equal amount of times.

13. Adjust front camber to preferred setting by rotating service package lower eccentric cam bolt against cam stop areas on strut clevis bracket. Once camber is set, lightly tighten upper and lower strut clevis-to-knuckle nuts.

14. Jounce front and rear of vehicle an equal amount of times and verify front camber setting.

15. While holding the service package bolts in place, tighten the strut clevis-to-knuckle nuts to 88 Nm (65 ft. lbs.) plus an additional 90° turn after torque is met.

16. If the toe readings obtained are not within the required specification range, adjust toe to meet the preferred specification setting. Proceed to TOE below to set the vehicle's toe.

TOE

1. Center the steering wheel and lock in place using a steering wheel clamp.

NOTE:
Perform the following steps to each side of the vehicle as necessary.

CAUTION:
Do not twist inner tie rod-to-steering gear boots during front wheel Toe adjustment. Remove boot clamps at the inner tie rods and make sure boots moves freely on inner tie rod.





2. Loosen jam nut (3) at inner-to-outer tie rod connection.

3. Grasp inner tie rod at serrations (4) and rotate as necessary to adjust front toe to preferred toe specification. Wheel Alignment

4. Tighten tie rod jam nut (3) to specifications. Front Suspension Specifications

5. Make sure inner tie rod-to-steering gear boot is not twisted, then reinstall boot clamp at inner tie rod.

6. Adjust front toe on opposite side of vehicle using above procedure as necessary.

7. Remove steering wheel clamp.

8. Remove alignment equipment.

9. Road test vehicle to verify steering wheel is straight and vehicle does not wander or pull.