LEMON Manuals: Even more car manuals for everyone: 1960-2025
Home >> Dodge and Ram >> 2014 >> Dart SE, Automatic Trans >> Repair and Diagnosis >> Restraints >> Restraints Control Systems >> Restraints System (Service Information) >> Module, Occupant Restraint Controller >> Description >> Description
April 5, 2026: LEMON Manuals is launched! Read the announcement.

Module, Occupant Restraint Controller: Description: Description

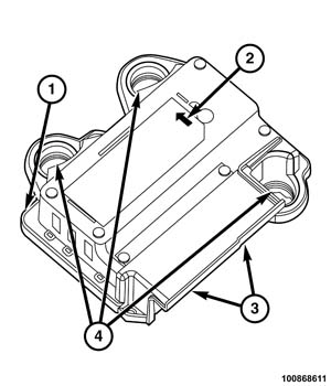
Fig 1: Occupant Restraint Controller, Printed Arrow, Connector Receptacles & Mounting Flanges
GC0156451Courtesy of CHRYSLER GROUP, LLC

The Occupant Restraint Controller (ORC) (1) is secured by three nuts to three studs on the top of the floor panel transmission tunnel near the dash panel and beneath the instrument panel forward of the center stack in the passenger compartment of the vehicle. Concealed within a hollow in the center of the molded black plastic ORC housing is the electronic circuitry of the ORC which includes a microcontroller, an electronic impact sensor, an electronic safing sensor and an energy storage capacitor. A stamped metal cover plate is secured to the bottom of the ORC housing to enclose and protect the internal electronic circuitry and components.

An arrow (2) printed on the label on the top of the ORC housing provides a visual verification of the proper orientation of the unit, and should always be pointed toward the front of the vehicle. The ORC housing has integral mounting flanges (4) on the right and left front and the right rear corners. Two molded plastic electrical connector receptacles (3) exit the rearward facing side of the ORC housing. These receptacles connect the ORC to the vehicle electrical system through two dedicated take outs and connectors, one from the instrument panel wire harness and the second from the body wire harness.

The impact sensor and safing sensor internal to the ORC are calibrated for the specific vehicle, and are only serviced as a unit with the ORC. In addition, there are unique versions of the ORC for vehicles with or without certain optional Supplemental Restraint System (SRS) components. The ORC cannot be repaired or adjusted and, if damaged or ineffective, it must be replaced.