LEMON Manuals: Even more car manuals for everyone: 1960-2025
Home >> Dodge and Ram >> 2019 >> Durango SXT Plus, AWD >> Repair and Diagnosis (Single Page) >> Quick Lookups >> Electrical Component Locations >> Connector End Views & Electrical Component Locations (3 Of 8) >> Module-Body Control C5/E (Standard) Connector End View (D3806E)
April 5, 2026: LEMON Manuals is launched! Read the announcement.

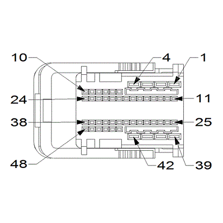
Module-Body Control C5/E (Standard) Connector End View (D3806E)

Harness-Family: Body

Color: BLACK

Gender: FEMALE

Part Number: 13850164_13850160_13850161

Part Description: Not Available

Connector No: D3806E

Option: Standard

Repair Kit Part Number: Not Available

Cavity Count: null

Fig 1: Module-Body Control C5/e Connector End View (Standard)
GCWD1014424Courtesy of CHRYSLER
Fig 2: Module-Body Control C5/e Component Location (Standard)
GCWD1260545Courtesy of CHRYSLER
Pin Circuit Wire Color Gauge/Size Function Option
1 L16 WH/VT 0.50 RIGHT BACKUP LAMP DRIVER N/A
2 L54 WH/GN 0.50 RIGHT STOP/TURN LAMP DRIVER N/A
3 L63 WH/DG 0.50 LEFT BACKUP LAMP DRIVER N/A
4 L72 WH/OG 0.50 RIGHT REAR PARK LAMP DRIVER N/A
5 G76 VT/YE 0.50 RIGHT REAR DOOR AJAR SWITCH SENSE N/A
6 P305 GN/BU 0.50 ACCESSORY DELAY RELAY CONTROL N/A
7 L311 BG 0.50 LEFT HEADLAMP RELAY CONTROL N/A
9 P307 GN/GY 0.50 ACCESSORY DELAY RELAY CONTROL N/A
10 P675 BG/BK 0.50 HDRST REL 3RD ROW RLY SIG N/A
11 B25 DG/WH 0.50 PARK BRAKE SWITCH SENSE N/A
15 N5 DB/GY 0.50 FUEL LEVEL SIGNAL 2 N/A
16 G109 BK 0.50 FUEL LEVEL SENSE RETURN N/A
17 N4 DB/WH 0.50 FUEL LEVEL SENSOR SIGNAL N/A
18 L3 WH/DB 0.50 LICENSE PLATE LAMP DRIVER N/A
22 L656 WH/DG 0.50 RIGHT REAR TURN SIGNAL CONTROL N/A
23 L658 WH/BN 0.50 TRAILER TOW BACKUP LAMP RELAY CONTROL N/A
24 L657 WH/GN 0.50 TRAILER TOW TAIL LAMP RELAY CTRL N/A
25 D45 BN 0.35 CAN C (+) N/A
26 D46 YE 0.35 CAN C (-) N/A
27 F20 PK/WH 0.50 IGNITION RUN/START CONTROL OUTPUT N/A
28 G755 VT/BG 0.50 DRIVER DOOR SECONDARY AJAR SWITCH SENSE N/A
36 K619 BN/OG 0.50 IGNITION RUN CONTROL OUTPUT N/A
37 L310 BG/WH 0.50 RIGHT HEADLAMP RELAY CONTROL N/A
45 D403 OG/DB 0.50 LIN BUS CBC 3 N/A
47 W17 BN 0.50 REAR WIPER PARK SWITCH SENSE N/A
48 W12 BN/OG 0.50 REAR WIPER RELAY CONTROL N/A
(1) Pins not listed are not used for this connector