LEMON Manuals: Even more car manuals for everyone: 1960-2025
Home >> Dodge and Ram >> 2019 >> Durango SXT Plus, AWD >> Repair and Diagnosis (Single Page) >> Quick Lookups >> Electrical Component Locations >> Connector End Views & Electrical Component Locations (3 Of 8) >> Module-Door-Driver C2 (Standard) Connector End View (D3818B)
April 5, 2026: LEMON Manuals is launched! Read the announcement.

Module-Door-Driver C2 (Standard) Connector End View (D3818B)

Harness-Family: Outside_Mirror_Left

Color: BLACK

Gender: FEMALE

Part Number: 1-929171-1

Part Description: Not Available

Connector No: D3818B

Option: Standard

Repair Kit Part Number: Not Available

Cavity Count: null

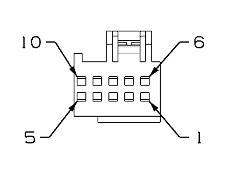
Fig 1: Module-Door-Driver C2 Connector End View (Standard)
GCWD1006323Courtesy of CHRYSLER
Fig 2: Module-Door-Driver C2 Component Location (Standard)
GCWD1260244Courtesy of CHRYSLER
Pin Circuit Wire Color Gauge/Size Function Option
3 C160 BK 0.35 DRIVER MIRROR HEATER RETURN N/A
4 C16 BK 0.35 DRIVER MIRROR HEATER DRIVER N/A
6 P71 RD 0.35 DRIVER MIRROR VERTICAL DRIVER N/A
7 P73 BU 0.35 DRIVER MIRROR COMMON DRIVER N/A
8 P75 GN 0.35 DRIVER MIRROR HORIZONTAL DRIVER N/A
9 P501 DB 0.35 DRIVER MIRROR TURN SIGNAL DRIVER N/A
10 P593 GY 0.35 DRIVER MIRROR TURN SIGNAL LAMP RETURN N/A
(1) Pins not listed are not used for this connector