LEMON Manuals: Even more car manuals for everyone: 1960-2025
Home >> Dodge and Ram >> 2019 >> Durango SXT Plus, AWD >> Repair and Diagnosis (Single Page) >> Quick Lookups >> Electrical Component Locations >> Connector End Views & Electrical Component Locations (4 Of 8) >> Module-Door-Driver C4 (Standard) Connector End View (D3818D)
April 5, 2026: LEMON Manuals is launched! Read the announcement.

Module-Door-Driver C4 (Standard) Connector End View (D3818D)

Harness-Family: Door_Front_Left

Color: BLACK

Gender: FEMALE

Part Number: 4-2177196-1_2177231-1

Part Description: Not Available

Connector No: D3818D

Option: Standard

Repair Kit Part Number: Not Available

Cavity Count: null

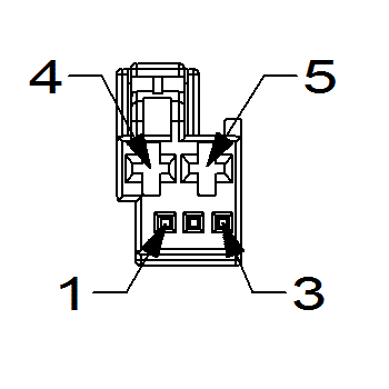
Fig 1: Module-Door-Driver C4 Connector End View (Standard)
GCWD1000887Courtesy of CHRYSLER
Fig 2: Module-Door-Driver C4 Component Location (Standard)
GCWD1260434Courtesy of CHRYSLER
Pin Circuit Wire Color Gauge/Size Function Option
1 Q301 OG/WH 0.75 DRIVER WINDOW HALL SENSOR A SIGNAL N/A
2 Q305 OG 0.75 DRIVER WINDOW HALL SENSOR SUPPLY N/A
3 Q991 BK/OG 0.75 DRIVER WINDOW HALL SENSOR RETURN N/A
4 Q11 OG/GN 2.0 DRIVER WINDOW DRIVER (UP) N/A
5 Q21 OG/WH 2.0 DRIVER WINDOW DRIVER (DOWN) N/A
(1) Pins not listed are not used for this connector