LEMON Manuals: Even more car manuals for everyone: 1960-2025
Home >> Dodge and Ram >> 2019 >> Durango SXT Plus, AWD >> Repair and Diagnosis (Single Page) >> Quick Lookups >> Electrical Component Locations >> Connector End Views & Electrical Component Locations (4 Of 8) >> Module-Integrated Center Stack Switch Bank (Standard) Connector End View (D2695A)
April 5, 2026: LEMON Manuals is launched! Read the announcement.

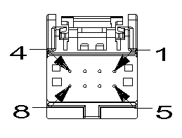
Module-Integrated Center Stack Switch Bank (Standard) Connector End View (D2695A)

Harness-Family: IP

Color: BLACK

Gender: FEMALE

Part Number: 30700-1081

Part Description: Not Available

Connector No: D2695A

Option: Standard

Repair Kit Part Number: Not Available

Cavity Count: null

Fig 1: Module-Integrated Center Stack Switch Bank Connector End View (Standard)
GCWD1006363Courtesy of CHRYSLER
Fig 2: Module-Integrated Center Stack Switch Bank Component Location (Standard)
GCWD1260348Courtesy of CHRYSLER
Pin Circuit Wire Color Gauge/Size Function Option
1 D462 WH 0.35 CAN IHS (-) N/A
2 L91 DB 0.13 HAZARD SWITCH SENSE N/A
3 Z911 BK 0.50 GROUND N/A
4 A937 RD 0.50 FUSED B(+) N/A
5 D463 OG 0.35 CAN IHS (+) N/A
(1) Pins not listed are not used for this connector