LEMON Manuals: Even more car manuals for everyone: 1960-2025
Home >> Dodge and Ram >> 2019 >> Durango SXT Plus, AWD >> Repair and Diagnosis (Single Page) >> Quick Lookups >> Electrical Component Locations >> Connector End Views & Electrical Component Locations (4 Of 8) >> Module-Radio-Freq Hub C3 (Standard) Connector End View (D2665C)
April 5, 2026: LEMON Manuals is launched! Read the announcement.

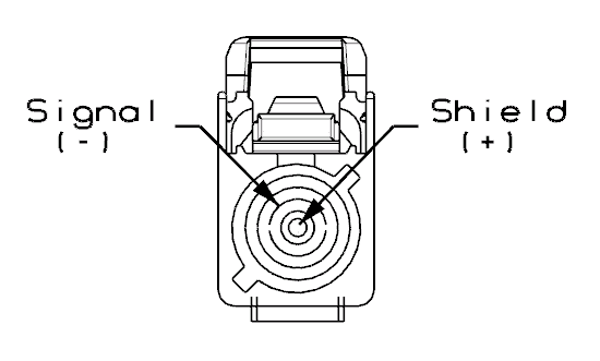
Module-Radio-Freq Hub C3 (Standard) Connector End View (D2665C)

Harness-Family: Antenna_Rem_St_RKE

Color: VIOLET

Gender: FEMALE

Part Number: 59Z006-T00-D

Part Description: Not Available

Connector No: D2665C

Option: Standard

Repair Kit Part Number: Not Available

Cavity Count: null

Fig 1: Module-Radio-Freq Hub C3 Connector End View (Standard)
GCWD1006595Courtesy of CHRYSLER
Fig 2: Module-Radio-Freq Hub C3 Component Location (Standard)
GCWD1260421Courtesy of CHRYSLER
Pin Circuit Wire Color Gauge/Size Function Option
1 D950 BK 0.50 ANT UHF ANT SIG N/A
(1) Pins not listed are not used for this connector