LEMON Manuals: Even more car manuals for everyone: 1960-2025
Home >> Dodge and Ram >> 2019 >> ProMaster 2500 >> Repair and Diagnosis (Single Page) >> Quick Lookups >> Electrical Component Locations >> Connector End Views & Electrical Component Locations (2 Of 5) >> Module-Occupant Restraint Controller C1 (Standard) Connector End View (D3834A)
April 5, 2026: LEMON Manuals is launched! Read the announcement.

Module-Occupant Restraint Controller C1 (Standard) Connector End View (D3834A)

Harness-Family: IP

Color: YELLOW

Gender: FEMALE

Part Number: 1/14268/01

Part Description: Not Available

Connector No: D3834A

Option: Standard

Repair Kit Part Number: Not Available

Cavity Count: null

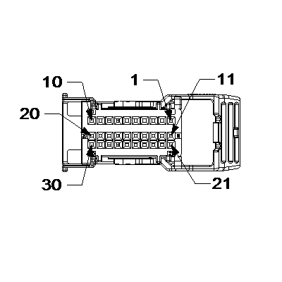
Fig 1: Module-Occupant Restraint Controller C1 Connector End View (Standard)
GCWD1244731Courtesy of CHRYSLER
Fig 2: Module-Occupant Restraint Controller C1 Component Location (Standard)
GCWD1264136Courtesy of CHRYSLER
Pin Circuit Wire Color Gauge/Size Function Option
2 R43 BN/YE 0.5 DRIVER SQUIB 1 LINE 2 N/A
3 R45 BN/GY 0.5 DRIVER SQUIB 1 LINE 1 N/A
10 F945 DB/YE 0.5 IGNITION RUN/START CONTROL OUTPUT N/A
11 D42 DB 0.35 CAN B (-) N/A
12 R42 WH/DB 0.5 PASSENGER SQUIB 1 LINE 2 502
13 R44 WH/BK 0.5 PASSENGER SQUIB 1 LINE 1 502
21 D41 WH 0.35 CAN B (+) N/A
26 R79 BN 0.35 LEFT FRONT IMPACT SENSOR SIGNAL N/A
27 R81 BN/BK 0.35 LEFT FRONT IMPACT SENSOR GROUND N/A
28 R82 GY/BK 0.35 RIGHT FRONT IMPACT SENSOR GROUND N/A
29 R80 GY 0.35 RIGHT FRONT IMPACT SENSOR SIGNAL N/A
30 Z107 BK 0.5 GROUND N/A
(1) Pins not listed are not used for this connector