LEMON Manuals: Even more car manuals for everyone: 1960-2025
Home >> Dodge and Ram >> 2019 >> ProMaster 2500 >> Repair and Diagnosis >> Transmission >> Transmission Control Systems >> Automatic Transmission (Service Information) >> Disassembly
April 5, 2026: LEMON Manuals is launched! Read the announcement.

Automatic Transmission (Service Information): Disassembly

GC0122503Courtesy of CHRYSLER GROUP, LLC
  1. Remove the speed sensors (1, 2 and 3).
    GC0122504Courtesy of CHRYSLER GROUP, LLC
  2. Remove bolts (1) at the oil filter pan (2).
  3. Remove the oil filter pan (2).
    GC0122505Courtesy of CHRYSLER GROUP, LLC
  4. Remove the nuts (1) at the oil filter (2).
  5. Remove the oil filter (2).
    GC0122506Courtesy of CHRYSLER GROUP, LLC
  6. Remove the oil filter seal (1) at the case.
    GC0122507Courtesy of CHRYSLER GROUP, LLC
    NOTE:

    Keep the Front Sound Dampener Cover if replacing the unit.

  7. If equipped, remove the fasteners (1) and the Front Sound Dampener Cover (2).
    GC0122508Courtesy of CHRYSLER GROUP, LLC
    NOTE:

    Keep the Top Sound Dampener Cover if replacing the unit.

  8. If equipped, remove the Top Sound Damper Cover (1).
    GC0122509Courtesy of CHRYSLER GROUP, LLC
  9. Remove bolts (2) at the valve body oil pan (1).
    GC0122510Courtesy of CHRYSLER GROUP, LLC
  10. Remove the pressure tap plug (2) at valve body pan.
  11. Remove the valve body pan.
    GC0122511Courtesy of CHRYSLER GROUP, LLC
  12. Remove the electrical connector (1) at the range sensor (4).
  13. Remove the bolt (3) holding the detent spring.
  14. Remove the detent spring (2).
    GC0122512Courtesy of CHRYSLER GROUP, LLC
  15. Remove valve body bolts (1).
    GC0122513Courtesy of CHRYSLER GROUP, LLC
  16. Remove valve body (1) from oil transfer tubes and manual valve (3) from rooster comb.
    GC0122514Courtesy of CHRYSLER GROUP, LLC
  17. Remove oil transfer tubes (2) from the case.
    GC0122515Courtesy of CHRYSLER GROUP, LLC
    1 - UD ACCUMULATOR
    5 - LC ACCUMULATOR
    2 - 2/4 ACCUMULATOR
    6 - DC ACCUMULATOR
    3 - LR ACCUMULATOR
    7 - OD ACCUMULATOR
    4 - 2/4 CLUTCH OIL SUPPLY SEAL
     
  18. Remove all six accumulators (1, 2, 3, 5, 6 and 7) from case along with the accumulator return springs.
  19. Remove the 2/4 clutch oil supply seal (4) from the case.
  20. Remove the manual lever, transmission range sensor (TRS) and seal. Refer to SENSOR, TRANSMISSION RANGE, REMOVAL .
    GC0115875Courtesy of CHRYSLER GROUP, LLC
    1 - END PLAY FIXTURES 8266A
    2 - DIAL INDICATOR C-3339A
  21. Measure input shaft end play. Place transaxle so input shaft is vertical. Set up (special tool #8266-7, Spline Tool, 32RH) (1, 2) and dial indicator (3). Input shaft end play should be within 0.13-0.64 mm (0.005-0.025 in.)  Record indicator reading for reference upon reassembly.
    GC0122516Courtesy of CHRYSLER GROUP, LLC
  22. Remove the front pump bolts (1).
    GC0122517Courtesy of CHRYSLER GROUP, LLC
    CAUTION:

    Be sure input speed sensor is removed before removing oil pump.

  23. Install (special tool #C-3752, Slide Hammers)or equivalent (1) on oil pump (2).
    GC0122518Courtesy of CHRYSLER GROUP, LLC
  24. Remove oil pump assembly (1).
    GC0122519Courtesy of CHRYSLER GROUP, LLC
  25. Remove oil pump gasket (2).
    GC0122520Courtesy of CHRYSLER GROUP, LLC
    CAUTION:

    If transaxle failure has occurred, the cooler bypass valve must be replaced. Do not re-use or attempt to clean valve.

  26. Remove cooler bypass valve (2).
    GC0115881Courtesy of CHRYSLER GROUP, LLC
    1 - #1 CAGED NEEDLE BEARING
    2 - NOTE: TANGED SIDE OUT
  27. Remove number one needle bearing (1).
    GC0115882Courtesy of CHRYSLER GROUP, LLC
    1 - INPUT CLUTCH ASSEMBLY
    2 - #4 THRUST WASHER
  28. Remove input clutch assembly (1).
    GC0115883Courtesy of CHRYSLER GROUP, LLC
    1 - OVERDRIVE SHAFT ASSEMBLY
    2 - #4 THRUST PLATE (SELECT)
    3 - 3 DABS OF PETROLATUM FOR RETENTION
  29. Remove number four thrust plate (2).
    GC0081351Courtesy of CHRYSLER GROUP, LLC
    1 - FRONT SUN GEAR ASSEMBLY
    2 - #4 THRUST WASHER (FOUR TABS)
  30. Remove front sun gear assembly (1) and number four thrust washer (2).
    GC0115884Courtesy of CHRYSLER GROUP, LLC
    1 - #6 NEEDLE BEARING
    2 - FRONT CARRIER AND REAR ANNULUS ASSEMBLY (TWIST AND PULL OR PUSH TO REMOVE OR INSTALL).
  31. Remove front carrier/rear annulus assembly (2) and number six needle bearing (1).
    GC0122521Courtesy of CHRYSLER GROUP, LLC
    1 - #7 NEEDLE BEARING
    2 - REAR SUN GEAR
    NOTE:

    The number seven needle bearing (1) has three anti-reversal tabs and is common with the number five and number two position. The orientation should allow the bearing to seat flat against the rear sun gear (2) when put together.

  32. Remove rear sun gear (2) and number seven needle bearing (1).
    GC0115886Courtesy of CHRYSLER GROUP, LLC
    1 - SPRING COMPRESSING 5058A
    2 - SCREWDRIVER
    3 - SNAP RING
    4 - 2/4 CLUTCH RETAINER
    NOTE:

    Verify that (special tool #5058A, Compressor, Spring) (1) is centered properly over the 2/4 clutch retainer before compressing. If necessary, fasten the (special tool #5058A, Compressor, Spring) bar to the bellhousing flange with any combination of locking pliers and bolts to center the tool properly.

  33. Setup the (special tool #5058A, Compressor, Spring) (1), Compress 2/4 clutch return spring (4) (just enough to remove snap ring) and remove snap ring (3).
    GC0115887Courtesy of CHRYSLER GROUP, LLC
    1 - 2/4 CLUTCH RETAINER
    2 - 2/4 CLUTCH RETURN SPRING
    NOTE:

    The 2/4 Clutch Piston has bonded seals which are not individually serviceable. Seal replacement requires replacement of the piston assembly.

  34. Remove 2/4 clutch retainer (1).
    GC0115888Courtesy of CHRYSLER GROUP, LLC
    1 - 2/4 CLUTCH RETURN SPRING
  35. Remove 2/4 clutch return spring (1).
    GC0115889Courtesy of CHRYSLER GROUP, LLC
    1 - CLUTCH PLATE (4)
    2 - CLUTCH DISC (4)
  36. Remove 2/4 clutch pack (1, 2). Tag 2/4 clutch pack for reassembly identification. 
    GC0115890Courtesy of CHRYSLER GROUP, LLC
    1 - LOW/REVERSE CLUTCH REACTION PLATE
    2 - SCREWDRIVER
    3 - LOW/REVERSE TAPERED SNAP RING (TAPERED SIDE UP)
    4 - OIL PAN FACE
    5 - LONG TAB
  37. Remove tapered snap ring (3).
    GC0115891Courtesy of CHRYSLER GROUP, LLC
    1 - LOW/REVERSE REACTION PLATE (FLAT SIDE UP)
  38. Remove low/reverse reaction plate (1).
    GC0115892Courtesy of CHRYSLER GROUP, LLC
    1 - ONE DISC FROM LOW/REVERSE CLUTCH
  39. Remove one low/reverse clutch disc (1).
    GC0115893Courtesy of CHRYSLER GROUP, LLC
    1 - SCREWDRIVER
    2 - LOW/REVERSE REACTION PLATE FLAT SNAP RING
    3 - DO NOT SCRATCH CLUTCH PLATE
  40. Remove low/reverse reaction plate snap ring (2).
    GC0115894Courtesy of CHRYSLER GROUP, LLC
    1 - CLUTCH PLATES (5)
    2 - CLUTCH DISCS (5)
  41. Remove low/reverse clutch pack (1, 2). Tag the low/reverse clutch pack for reassembly identification  .
    GC0122522Courtesy of CHRYSLER GROUP, LLC
  42. Remove transfer gear cover-to-case bolts (2).
  43. Remove transfer gear cover (1).
    GC0122523Courtesy of CHRYSLER GROUP, LLC
  44. Remove the oil scavenger (2).
    GC0122524Courtesy of CHRYSLER GROUP, LLC
  45. Bend back the locking tabs (2) at the output transfer gear retaining strap (3).
  46. Remove the bolts (1) at the output transfer gear retaining strap (3).
  47. Remove the output transfer gear retaining strap (3).
    GC0122525Courtesy of CHRYSLER GROUP, LLC
  48. Install the (special tool #9739, Holder, Gear) (2) onto the output transfer gear (3).
  49. Remove the output transfer gear bolt (1).
    GC0122526Courtesy of CHRYSLER GROUP, LLC
  50. Grind the staked tabs (1) from the transfer gear (underdrive compounder side).
  51. Install the (special tool #9739, Holder, Gear) onto the transfer gear (underdrive compounder side) and remove the nut.
  52. Lift the transfer gear (3) from the underdrive compounder shaft.
    GC0122527Courtesy of CHRYSLER GROUP, LLC
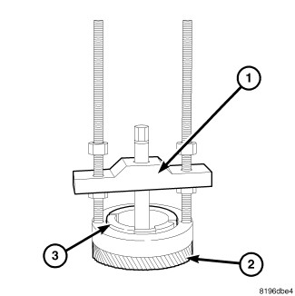
  53. Using (special tool #L-4407A, Puller, Gear) (1) and (special tool #6055, Thrust Button) (3) remove output shaft transfer gear (2) and select shim.
    GC0115914Courtesy of CHRYSLER GROUP, LLC
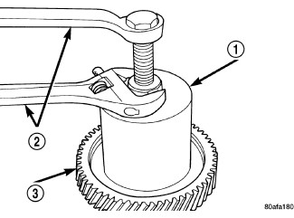
    1 - BEARING PULLER 5048 WITH JAWS 5048-5 AND THRUST PAD L-4539-2
    2 - WRENCHES
    3 - OUTPUT GEAR
  54. Using (special tool #5048, Puller, Bearing) with (special tool #5048-5, Set, Collet Half) and (special tool #L-4539-2, Pad, Thrust) (1) remove output gear bearing cone.
    GC0122528Courtesy of CHRYSLER GROUP, LLC
  55. Using (special tool #C-293-PA, Puller, Press) (1), (special tool #9738, Blocks, Adapter) (3) and (special tool #9678, Press Plug) remove compounder transfer gear bearing cone.
    GC0122529Courtesy of CHRYSLER GROUP, LLC
  56. Remove rear carrier assembly (1) from transaxle (2).
    GC0115916Courtesy of CHRYSLER GROUP, LLC
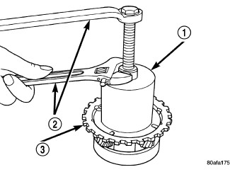
    1 - BEARING PULLER 5048 WITH JAWS 5048-3 AND THRUST BUTTON 6055
    2 - WRENCHES
    3 - REAR CARRIER ASSEMBLY
  57. Remove rear carrier assembly (3) bearing cone using (special tool #5048, Puller, Bearing) (1) with (special tool #5048-3, Set, Collet Half) and (special tool #6055, Thrust Button).
    GC0115917Courtesy of CHRYSLER GROUP, LLC
    1 - SPRING COMPRESSOR DISC 6057
    2 - SPRING COMPRESSOR 5059-A
    3 - FORCING SCREW 5058A-3
  58. Install (special tool #6057, Disc, Spring Compressor) (1), (special tool #5059-A, Compressor, Spring) (2) and (special tool #5058A-3, Screw, Forcing) (3).
    GC0115918Courtesy of CHRYSLER GROUP, LLC
    1 - LOW/REVERSE CLUTCH RETURN SPRING
    2 - SNAP RING (INSTALL AS SHOWN)
    3 - SPRING COMPRESSOR DISC 6057
    4 - SPRING COMPRESSOR 5059-A
    5 - FORCING SCREW 5058A-3
  59. Compress low/reverse spring using (special tool #5059-A, Compressor, Spring) (4).
    GC0115919Courtesy of CHRYSLER GROUP, LLC
    1 - SNAP RING OPENING MUST BE BETWEEN SPRING LEVERS (AS SHOWN)
    2 - SNAP RING PLIERS
    3 - SPRING COMPRESSOR DISC 6057
  60. Remove snap ring (1) at low/reverse piston return spring.
    GC0115920Courtesy of CHRYSLER GROUP, LLC
    1 - LOW/REVERSE PISTON RETURN SPRING
    2 - PISTON
  61. Remove low/reverse spring compressor tool and low reverse piston return spring (1).
    GC0115924Courtesy of CHRYSLER GROUP, LLC
    1 - LOW/REVERSE CLUTCH PISTON
    2 - BONDED SEAL
    3 - BONDED SEAL
    NOTE:

    The low/reverse clutch piston has bonded seals which are not individually serviceable. Seal replacement requires replacement of the piston assembly.

  62. Remove low/reverse clutch piston (1).
    GC0115925Courtesy of CHRYSLER GROUP, LLC
    1 - LOW/REVERSE CLUTCH PISTON RETAINER
    2 - SCREWDRIVER
    3 - TORX-LOC SCREWS
  63. Remove low/reverse piston retainer-to-case screws (3).
    GC0115926Courtesy of CHRYSLER GROUP, LLC
    1 - LOW/REVERSE CLUTCH PISTON RETAINER
    2 - GASKET
  64. Remove low/reverse piston retainer (1).
    GC0115927Courtesy of CHRYSLER GROUP, LLC
    1 - GASKET HOLES MUST LINE UP
    2 - LOW/REVERSE CLUTCH PISTON RETAINER GASKET
  65. Remove low/reverse piston retainer-to-case gasket (2), gasket holes must line up (1).
    GC0122530Courtesy of CHRYSLER GROUP, LLC
  66. Using a hammer and suitable drift (2), drive out inner output bearing cup (1).
    GC0122531Courtesy of CHRYSLER GROUP, LLC
  67. Using (special tool #6062A, Puller, Bearing Cup) (1), remove outer output bearing cup (2).
    GC0122532Courtesy of CHRYSLER GROUP, LLC
  68. Remove the snap ring (1) at the underdrive compounder assembly (2).
    GC0122533Courtesy of CHRYSLER GROUP, LLC
  69. Remove bolts (1) at the compounder bearing retainer.
    GC0122534Courtesy of CHRYSLER GROUP, LLC
  70. Install (special tool #9908, Adapter, Puller) (2) to the compounder bearing retainer.
    GC0122535Courtesy of CHRYSLER GROUP, LLC
  71. Install (special tool #C-3752, Slide Hammers) (1) to (special tool #9908, Adapter, Puller) (2) and pull the underdrive compounder assembly from the case.
    GC0122536Courtesy of CHRYSLER GROUP, LLC
    NOTE:

    Insure that the planetary gear set / output hub is removed as part of the underdrive compounder assembly.

  72. Remove the underdrive compounder assembly (2).
    GC0122537Courtesy of CHRYSLER GROUP, LLC
  73. Remove the bolts (1) at the remote pinion cover (2).
    GC0122538Courtesy of CHRYSLER GROUP, LLC
  74. Remove the remote pinion (1) and the remote pinion cover (2) from the case.
    GC0122539Courtesy of CHRYSLER GROUP, LLC
  75. Remove the remote pinion cover (1) from the remote pinion (2).
    GC0155030Courtesy of CHRYSLER GROUP, LLC
  76. Using (special tool #8913, Remover, Bearing Cup) (2) and (special tool #8915, Brace) (1) remove the remote pinion cover bearing cup (4) and selective shim.
    GC0122541Courtesy of CHRYSLER GROUP, LLC
  77. Using (special tool #8912, Remover, Bearing) and (special tool #8915, Brace) (1, 2) pull remote pinion small bearing cup (3) from the case.
    GC0122542Courtesy of CHRYSLER GROUP, LLC
  78. Remove the differential output bearing cover bolts (1).
  79. Remove differential output bearing cover (2).
    GC0122543Courtesy of CHRYSLER GROUP, LLC
  80. Remove the differential cover bolts (1).
    GC0122544Courtesy of CHRYSLER GROUP, LLC
  81. Remove the differential cover (1).
  82. Remove the out seal (2), oil singer (3) and the small bearing cup (4).
  83. Remove the large bearing cup.
    GC0122545Courtesy of CHRYSLER GROUP, LLC
  84. Remove the differential (2).
    GC0122546Courtesy of CHRYSLER GROUP, LLC
  85. Remove the set screw (1) for the park pawl shaft (2).
    GC0122547Courtesy of CHRYSLER GROUP, LLC
  86. Remove the snap ring (1) for the park guide assembly (2).
    GC0122548Courtesy of CHRYSLER GROUP, LLC
  87. Remove the park guide assembly (1).
    GC0122549Courtesy of CHRYSLER GROUP, LLC
  88. Remove the plug (1) to allow the park pawl shaft to be removed.
    GC0122550Courtesy of CHRYSLER GROUP, LLC
  89. Slide the shaft (1) out of the park pawl (3).
    GC0122551Courtesy of CHRYSLER GROUP, LLC
  90. Remove the park pawl shaft (1).
    GC0122552Courtesy of CHRYSLER GROUP, LLC
  91. Remove the park pawl (1) and the park pawl spring (2).