LEMON Manuals: Even more car manuals for everyone: 1960-2025
Home >> Dodge and Ram >> 2021 >> Durango SXT Plus, AWD >> Repair and Diagnosis (Single Page) >> Electrical >> Body Electrical >> Connector End Views And Electrical Component Locations (10 Of 14) >> Module-Occupant Restraint Controller C1 (Standard) Connector End View (D3834A)
April 5, 2026: LEMON Manuals is launched! Read the announcement.

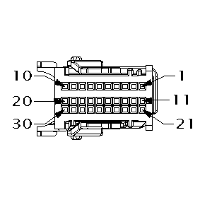
Module-Occupant Restraint Controller C1 (Standard) Connector End View (D3834A)

Harness-Family: IP

Color: YELLOW

Gender: FEMALE

Part Number: 2352106-1_2098974-1_2098973-1

Part Description: Not Available

Connector No: D3834A

Option: Standard

Repair Kit Part Number: Not Available

Cavity Count: 30

Fig 1: Module-Occupant Restraint Controller C1 Connector End View (Standard)
GCWD1301844Courtesy of CHRYSLER
Fig 2: Module-Occupant Restraint Controller C1 Isometric View (Standard)
GCWD1326489Courtesy of CHRYSLER
Fig 3: Module-Occupant Restraint Controller C1 Wire Insertion View (Standard)
GCWD1326500Courtesy of CHRYSLER
Fig 4: Module-Occupant Restraint Controller C1 Component Location View (Standard)
GCWD1326412Courtesy of CHRYSLER
Pin Circuit Wire Color Gauge/Size Function Option
1 N0 NA 0 NO CONNECT N/A
2 R43 BU/BN 0.50 DRIVER SQUIB 1 LINE 2 N/A
3 R45 GN/OG 0.50 DRIVER SQUIB 1 LINE 1 N/A
4 R63 DB/WH 0.50 DRIVER SQUIB 2 LINE 1 N/A
5 R61 GN/VT 0.50 DRIVER SQUIB 2 LINE 2 N/A
6 N0 NA 0 NO CONNECT N/A
7 N0 NA 0 NO CONNECT N/A
8 R11 OG/DB 0.50 DRIVER KNEE BLOCKER SQUIB LINE 1 N/A
9 R9 BU/YE 0.50 DRIVER KNEE BLOCKER SQUIB LINE 2 N/A
10 F945 PK/GN 0.50 IGNITION RUN/START CONTROL OUTPUT N/A
11 D11 YE/DB 0.35 CAN C (+) N/A
12 R42 DG/BN 0.50 PASSENGER SQUIB 1 LINE 2 N/A
13 R44 GY/OG 0.50 PASSENGER SQUIB 1 LINE 1 N/A
14 R64 VT/WH 0.50 PASSENGER SQUIB 2 LINE 1 N/A
15 R62 BU/VT 0.50 PASSENGER SQUIB 2 LINE 2 N/A
16 R66 GY/DG 0.50 LINE 2 N/A
17 R68 BU/YE 0.50 LINE 1 N/A
18 N0 NA 0 NO CONNECT N/A
19 N0 NA 0 NO CONNECT N/A
20 F929 PK/YE 0.50 FUSED IGNITION SWITCH OUTPUT (RUN) N/A
21 D12 YE 0.35 CAN C (-) N/A
22 N0 NA 0 NO CONNECT N/A
23 N0 NA 0 NO CONNECT N/A
24 N0 NA 0 NO CONNECT N/A
25 N0 NA 0 NO CONNECT N/A
26 R79 BU/VT 0.50 LEFT FRONT IMPACT SENSOR SIGNAL N/A
27 R81 BU/WH 0.50 LEFT FRONT IMPACT SENSOR GROUND N/A
28 R82 WH/BU 0.50 RIGHT FRONT IMPACT SENSOR GROUND N/A
29 R80 VT/BU 0.50 RIGHT FRONT IMPACT SENSOR SIGNAL N/A
30 Z913 BK 0.50 GROUND N/A