LEMON Manuals: Even more car manuals for everyone: 1960-2025
Home >> Dodge and Ram >> 2021 >> Durango SXT Plus, AWD >> Repair and Diagnosis (Single Page) >> Electrical >> Body Electrical >> Connector End Views And Electrical Component Locations (11 Of 14) >> Module-Steering Column Control C2 (Standard) Connector End View (D3816B)
April 5, 2026: LEMON Manuals is launched! Read the announcement.

Module-Steering Column Control C2 (Standard) Connector End View (D3816B)

Harness-Family: Steering_Wheel

Color: WHITE

Gender: FEMALE

Part Number: 174463-1

Part Description: .070 SRS MLC 2POS PLUG HOUSING

Connector No: D3816B

Option: Standard

Repair Kit Part Number: 68040489AA

Cavity Count: 2

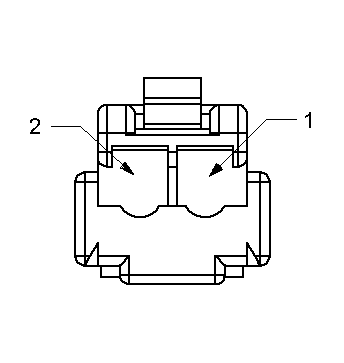
Fig 1: Module-Steering Column Control C2 Connector End View (Standard)
GCWD1006355Courtesy of CHRYSLER
Fig 2: Module-Steering Column Control C2 Isometric View (Standard)
GCWD1087515Courtesy of CHRYSLER
Fig 3: Module-Steering Column Control C2 Wire Insertion View (Standard)
GCWD1007243Courtesy of CHRYSLER
Fig 4: Module-Steering Column Control C2 Component Location View (Standard)
GCWD1326177Courtesy of CHRYSLER
Pin Circuit Wire Color Gauge/Size Function Option
1 C91 GY 0.80 HEATED STEERING WHEEL FEED SRT
1 C91 DG/WH 0.80 HEATED STEERING WHEEL FEED BASE
2 C986 YE 0.80 HEATED STEERING WHEEL RETURN BASE
2 C986 VT 0.80 HEATED STEERING WHEEL RETURN SRT