LEMON Manuals: Even more car manuals for everyone: 1960-2025
Home >> Dodge and Ram >> 2021 >> Durango SXT Plus, AWD >> Repair and Diagnosis (Single Page) >> Electrical >> Motors, Switches, Relays >> Connector End Views And Electrical Component Locations (11 Of 14) >> Module-Vehicle System Interface C5 (Standard) Connector End View (D2385E)
April 5, 2026: LEMON Manuals is launched! Read the announcement.

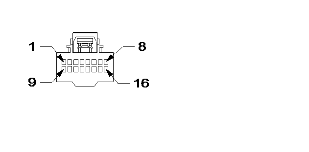
Module-Vehicle System Interface C5 (Standard) Connector End View (D2385E)

Harness-Family: Body

Color: BLUE

Gender: FEMALE

Part Number: 7283-9080-90

Part Description: KAIZEN 0.64 SYSTEM UNSEALED

Connector No: D2385E

Option: Standard

Repair Kit Part Number: 68498862AA

Cavity Count: 16

Fig 1: Module-Vehicle System Interface C5 Connector End View (Standard)
GCWD1016842Courtesy of CHRYSLER
Fig 2: Module-Vehicle System Interface C5 Isometric View (Standard)
GCWD1080760Courtesy of CHRYSLER
Fig 3: Module-Vehicle System Interface C5 Wire Insertion View (Standard)
GCWD1009774Courtesy of CHRYSLER
Fig 4: Module-Vehicle System Interface C5 Component Location View (Standard)
GCWD1326209Courtesy of CHRYSLER
Pin Circuit Wire Color Gauge/Size Function Option
1 W734 PK/GY 0.50 UPFITTER IGNITION RUN ACC 2 N/A
2 W736 PK/YE 0.50 UPFITTER IGNITION RUN N/A
3 W720 VT/OG 0.50 UPFITTER ANY DOOR AJAR SIGNAL N/A
4 G745 VT/DB 0.50 AJAR SIGNAL N/A
5 W500 BN/OG 0.50 FRONT FLASHING LIGHTS SIGNAL N/A
6 W501 BN/VT 0.50 REAR FLASHING LIGHTS SIGNAL N/A
7 D397 BN/OG 0.50 CAN C (+) N/A
8 W532 BN/DB 0.50 CAN B (+) N/A
9 W702 DG/DB 0.50 UPFITTER TRANS REVERSE SIGNAL N/A
10 W703 DG/BU 0.50 UPFITTER TRANS DRIVE SIGNAL N/A
11 N0 NA 0 NO CONNECT N/A
12 G776 VT/OG 0.50 RETURN N/A
13 G755 VT/BG 0.50 DRIVER DOOR SECONDARY AJAR SWITCH SENSE N/A
14 N0 NA 0 NO CONNECT N/A
15 D396 YE 0.50 CAN C (-) N/A
16 W534 BN/BU 0.50 CAN B (-) N/A