LEMON Manuals: Even more car manuals for everyone: 1960-2025
Home >> Dodge and Ram >> 2024 >> ProMaster 1500 Base >> Repair and Diagnosis >> General Information >> OEM General Information >> Circuit Testing Procedures - Non-DTC-Based Diagnostics >> Standard Procedure >> Wire Splicing
April 5, 2026: LEMON Manuals is launched! Read the announcement.

Wire Splicing

NOTE:

There are two different repair procedures listed below, a North America and EMEA repair. 

REPAIR PROCEDURES INDEX

Refer to NORTH AMERICA - REPAIR .
Refer to EMEA-REPAIR .
NORTH AMERICA - REPAIR

Refer to REPAIR PROCEDURES INDEX .
CAUTION:

If additional wire is needed when making a splice repair to any wire, it is important that the same or next larger size wire gauge be used. Refer to the appropriate wiring diagram for the original wire gauge size. 

  1. Remove 13 millimeters (0.50 inch) of insulation from each wire that needs to be spliced.
  2. Place a piece of adhesive sealant-lined heat shrink tubing (Part Number 04778570 or equivalent) over the wire on one side of the splice. Be certain the length of tubing will be sufficient to cover and seal the entire repair area.
    GC0223888Courtesy of CHRYSLER GROUP, LLC
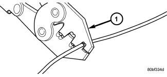
  3. Place the strands of the wires being spliced so that they are overlapping each other within the splice band (1).
  4. Using a crimping tool (1) (MOPAR Part Number 05019912AA, Miller Special Tool Number (special tool #10042, Crimper, Wire/Terminal) or equivalent) crimp the splice band and wires together securely.
    CAUTION:

    Never use acid core solder for electrical wiring repairs. 

    GC0223887Courtesy of CHRYSLER GROUP, LLC
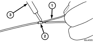
  5. Using Rosin Core type solder (1) only and a suitable soldering iron (3), solder the wire and splice band connection (2) together.
    GC0223886Courtesy of CHRYSLER GROUP, LLC
  6. Center the heat shrink tubing (2) over the splice joint repair and heat using a suitable heat gun. Heat the joint until the tubing is tightly sealed and sealant (1) begins to ooze out of both ends of the tubing.
    GC0223885Courtesy of CHRYSLER GROUP, LLC
EMEA-REPAIR

Refer to REPAIR PROCEDURES INDEX .

GENERAL INFORMATION 

The required repairs are as follows:

NOTE:

The envisaged repairs refer to wires with a cross section up to 4 mm 2  . For wires with a section larger than 4 mm 2  no repairs are advised; in case of an anomaly in wires larger than 4 mm 2  , replace the harness or the entire wiring. 

OPERATION CYCLE 

The following instructions regard wiring and connector repairs.

A - Replacement of one or more terminals 

In order to replace one or more terminals, you need to disconnect the connector block and remove the terminals in question, using the specific extractors in the spare parts case, having part no. 2000042600.

After removing the terminal in question, replace it and make the junction, using the heat seal tube, proceeding as described.

NOTE:

The procedure describes the replacement of a single cable terminal, but is valid for all cable terminals involved in the repair operation. 

CAUTION:

The section of the electric cable, with a new terminal, must compulsorily have a section that is equal to or slightly larger than that of the cable to be joined. Take care not to get the cables to be joined dirty as this will adversely affect the continuity of electrical conduction. 

GC0191648Courtesy of CHRYSLER GROUP, LLC
GC0191687Courtesy of CHRYSLER GROUP, LLC
NOTE:

To avoid cutting the strands and losing part of the cable's conductivity, it is advisable to strip the cables using the suitable wire stripper (A), shown in the illustration, available as a Spare Part with part number 2000027100. The length of the strip can be adjusted using the slider (1). 

GC0191634Courtesy of CHRYSLER GROUP, LLC

B - Replacement of a connector block (housing) 

To disassemble the connector blocks, remove the cable terminals, using the specific extractors available in the spare part case, having part no. 2000042600.

Then insert the terminals of the cables in the same positions they had in the removed connector, insert the gaskets in the unused housings and put back the cable protections.

C - Replacement of a connector assembly (terminal and connector block). 

To replace a complete connector, included in the Kit taken from Spare Parts, and the gasket on the cables, using a heat seal tube, proceed as described.

CAUTION:

If the cable sections contained in the kit are of the same color, mark the sections consistently with the color of the cables to be replaced. 

NOTE:

Cut the cables of the new connection consistently with the cables of the wiring, being careful to add 15 mm of overlapping, necessary in order to twist the strands maintaining the correct length of the harness. 

GC0191702Courtesy of CHRYSLER GROUP, LLC

D - Connecting of two or three cables 

CAUTION:

Do NOT perform this procedure on cable sections for the connection of moving parts; for example, between body and tailgate or side doors. For these eventualities, follow the specific procedures. 

Proceed with splicing the cables, using the following Fig. 5 as reference.

NOTE:

Make sure not to exceed the external diameter of cables, as shown in the illustration in detail (B). 

NOTE:

The drier used in this procedure is available commercially whilst the heat shield (T) is a tool having part number 2000029200. 

WARNING:

Extremely high temperatures are reached while heating the thermal shrinking sleeve. Accordingly, the heat shield must not, under any circumstances  , come into contact with parts of the body or the vehicle. This presents a risk of burns to the body and risk of fire.

CAUTION:

Heat the tube with the utmost care so as to avoid damage and loss of watertight. WAIT FOR THE TUBE TO COOL DOWN before handling the splicing.

1 - Heat shrinking solder sleeve
2 - Adhesive-rings
3 - Tin ring
4 - Heat shield - Tool no. 2000029200
GC0191650Courtesy of CHRYSLER GROUP, LLC
CAUTION:

Do NOT perform this procedure on cable sections for the connection of moving parts; for example, between body and tailgate or side doors. For these eventualities, follow the specific procedures.

NOTE:

Make sure to contain as much as possible the external diameter of the strands, as shown in the illustration. 

1 - Heat shrinking solder sleeve
GC0191639Courtesy of CHRYSLER GROUP, LLC

Place the sleeve (1 - Fig. 7) until the splice is covered: the tin ring (3) should go next to the joined strands, as shown in the illustration.

1 - Heat shrinking solder sleeve
2 - Tin ring
WARNING:

Extremely high temperatures are reached while heating the thermal shrinking sleeve. Accordingly, the heat shield must not, under any circumstances  , come into contact with parts of the body or the vehicle. This presents a risk of burns to the body and risk of fire.

CAUTION:

Heat the tube with the utmost care so as to avoid damage and loss of watertight. WAIT FOR THE TUBE TO COOL DOWN before handling the splicing.

GC0191682Courtesy of CHRYSLER GROUP, LLC
GC0191642Courtesy of CHRYSLER GROUP, LLC
1 - Heat shrinking solder sleeve
2 - Adhesive-rings
3 - Tin ring
4 - Heat shield - Tool no. 2000029200
CAUTION:

Do NOT perform this procedure on cable sections for the connection of moving parts; for example, between body and tailgate or side doors. For these eventualities, follow the specific procedures. 

NOTE:

Align the winding slightly pointed, with an external diameter as small as possible, as shown in the illustration in detail (A). 

GC0191656Courtesy of CHRYSLER GROUP, LLC
CAUTION:

To ensure the supply of the correct amount of tin and ensure the correct continuity of electrical conduction, you need to preemptively make a welding using tin, as shown in the illustration in detail. 

NOTE:

Make sure that the winding of the strands can be inserted inside the copper spiral (S) which can be seen inside the tube (1) and that the tin ring is on the center line of the junction, as shown in the illustration in detail (B). 

NOTE:

The drier used in this procedure is available commercially whilst the heat shield (T) is a tool having part number 2000029200. 

WARNING:

Extremely high temperatures are reached while heating the thermal shrinking sleeve. Accordingly, the heat shield must not, under any circumstances  , come into contact with parts of the body or the vehicle. This presents a risk of burns to the body and risk of fire.

CAUTION:

Heat the tube with the utmost care so as to avoid damage and loss of watertight. WAIT FOR THE TUBE TO COOL DOWN before handling the splicing. 

1 - Heat shrinking solder sleeve
T - Heat shield - Tool no. 2000029200
CAUTION:

Do NOT perform this procedure on cable sections for the connection of moving parts; for example, between body and tailgate or side doors. For these eventualities, follow the specific procedures. 

GC0191700Courtesy of CHRYSLER GROUP, LLC

Proceed with the junction of the cables (normal and/or Highflex) with a section of 4 mm2 , referring to Fig. 13 below.

NOTE:

Make sure not to exceed the external diameter of cables, as shown in the illustration in detail (B). 

CAUTION:

To ensure the supply of the correct amount of tin and ensure the correct continuity of electrical conduction, you need to preemptively make a welding using tin, as shown in the illustration in detail. 

NOTE:

The drier used in this procedure is available commercially whilst the heat shield (T) is a tool having part number 2000029200. 

WARNING:

Extremely high temperatures are reached while heating the thermal shrinking sleeve. Accordingly, the heat shield must not, under any circumstances  , come into contact with parts of the body or the vehicle. This presents a risk of burns to the body and risk of fire.

CAUTION:

Heat the tube with the utmost care so as to avoid damage and loss of watertight. WAIT FOR THE TUBE TO COOL DOWN before handling the splicing. 

1 - Heat shrinking solder sleeve
2 - Adhesive-rings
3 - Tin ring
T - Heat shield - Tool no. 2000029200
GC0191691Courtesy of CHRYSLER GROUP, LLC

E - Repair of a damaged/broken cable (normal or Highflex) or replacement of a cable section 

CAUTION:

Do NOT perform this procedure on cable sections for the connection of moving parts; for example, between body and tailgate or side doors. For these eventualities, follow the specific procedures. 

If a cable is broken or damaged, repair it or fit a section of repair cables, proceeding as described.

NOTE:

In order to repair a broken or damaged cable, it is necessary that the cable can be overlapped for about 15mm, without causing tension or damaging the size of the harness. 

GC0191683Courtesy of CHRYSLER GROUP, LLC
NOTE:

Make sure not to exceed the cable outside diameter, as shown in the illustration. 

1 - Heat shrinking solder sleeve
GC0191671Courtesy of CHRYSLER GROUP, LLC

If the cable that needs to be repaired cannot be overlapped, you need to fit a 150 - 200 mm long cable section (2 - Fig. 16), which should have the same section.

NOTE:

Make sure not to exceed the cable outside diameter, as shown in the illustration in detail. 

GC0191658Courtesy of CHRYSLER GROUP, LLC

PARTS AVAILABILITY 

CAUTION:

For the junction of the cables, use only the heat seal tubes shown in the Parts Availability table, depending on the section of the cables.

NOTE:

Refer to ePER Catalogue to identify any spare parts needed to conduct the repair. 

Descrizione N. ordinazione
Heat seal tube for 0.1 ÷ 0.35 mm2 sections 11105380 (*)
Heat seal tube for 0.5 ÷ 1.0 mm2 sections 11105485 (*)
Heat seal tube for 1.0 ÷ 2.0 mm2 sections 11105582 (*)
Heat seal tube for 2.5 ÷ 4.0 mm2 sections 11105681 (*)
Heat seal tube for head junction for 1.0 ÷ 2.0 mm2 sections 11517085 (**)
Heat seal tube for head junction for 2.5 ÷ 4.0 mm2 sections 11517282 (**)
Heat seal tube for head junction for 4.5 ÷ 6.0 mm2 sections 11516983 (**)
Heat shield 2000029200
Cable stripper 2000027100
Terminal extractors case 2000042600
(*) Each pack contains 20 sleeves
(**)Each pack contains 5 sleeves