LEMON Manuals: Even more car manuals for everyone: 1960-2025
Home >> Eagle >> 1989 >> Premier ES >> Repair and Diagnosis >> Engine Performance >> System >> 2.5L Systems/Tests W/Codes >> Diagnostic Trouble Code (DTC) Identification >> Relay Terminal Identification >> Notes
April 5, 2026: LEMON Manuals is launched! Read the announcement.

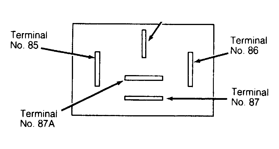
Relay Terminal Identification: Notes

Fig 1: Relay Terminal Identification
G108125Courtesy of CHRYSLER MOTORS.