LEMON Manuals: Even more car manuals for everyone: 1960-2025
Home >> Eagle >> 1989 >> Premier ES >> Repair and Diagnosis >> Engine Performance >> System >> 3.0L Systems/Tests W/Codes >> Connector Identification
April 5, 2026: LEMON Manuals is launched! Read the announcement.

Connector Identification

Fig 1: Connector ID - B+ Latch (C509), Fuel Pump (C508), Starter (C500) & Ignition (C501) Relay
G108275
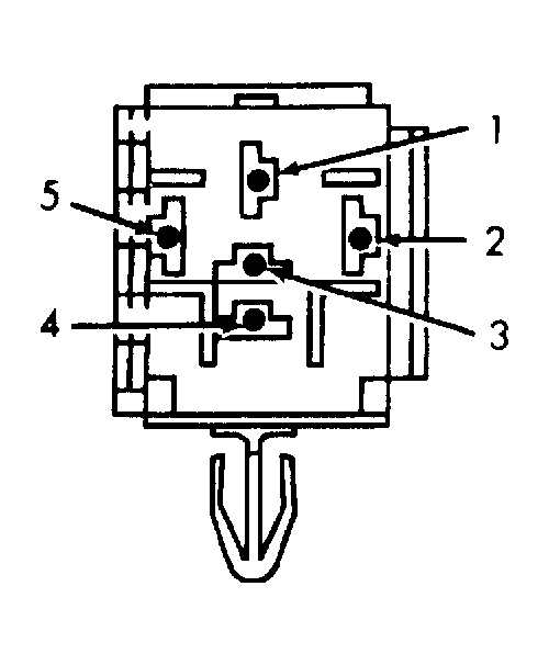
Fig 2: Connector ID - Diagnostic Connector (D1)
G108276
Fig 3: Connector ID - Diagnostic Connector (D2)
G108277
Fig 4: Connector ID - Coolant Fan Diode Assembly (C619)
G108278
Fig 5: Connector ID - Ignition Module (C522), Oxygen Sensor (C523) & TPS (C548)
G108279
Fig 6: Connector ID - Ignition Module (C535)
G108280
Fig 7: Connector ID - Crakshaft Position/Engine Speed Sensor (C520) & Map Sensor (C534)
G108281
Fig 8: Connector ID - Knock Sensor (C519)
G108282
Fig 9: Connector ID - RF Corner Engine Compartment (C120) & Fuel Tank Unit (C516)
G108283
Fig 10: Connector ID - Under Right Side Instrument Panel (C114)
G108284
Fig 11: Connector ID - Electronic Control Unit (C518)
G108285
Fig 12: Connector ID - Electronic Control Unit (C517)
G108286
Fig 13: Connector ID - A/C Compressor Clutch (C622)
G108287
Fig 14: Connector ID - A/C Low Pressure Switch (C617)
G108288
Fig 15: Connector ID - EGR Solenoid (C524)
G108289
Fig 16: Connector ID - Gear Selector Switch (C545)
G108290
Fig 17: Connector ID - Under Instrument Panel Right Side & Under Instrument Panel Left Side (C113)
G108291
Fig 18: Connector ID - Under Instrument Panel Left Side (C109)
G108292
Fig 19: Connector ID - Center Rear Engine Compartment (C104)
G108293
Fig 20: Connector ID - Center Rear Engine Compartment (C106)
G108294
Fig 21: Connector ID - Under Instrument Panel Right Side (C108)
G108295
Fig 22: Connector ID - Engine Compartment Left Front Corner (C107)
G108296
Fig 23: Connector ID - Left Front Engine Compartment (C101) & Right Front Engine Compartment (C105)
G108297
Fig 24: Connector ID - Idle Speed Regulator (C532)
G108298
Fig 25: Connector ID - Air Control Module (C567)
G108299
Fig 26: Connector ID - Coolant Temperature Sensor (C536)
G108300