LEMON Manuals: Even more car manuals for everyone: 1960-2025
Home >> Eagle >> 1989 >> Premier LX, 3.0 U >> Repair and Diagnosis >> Engine Performance >> System >> 2.5L Systems/Tests W/Codes >> Diagnostic Trouble Code (DTC) Identification >> ISA/ISC Connector Terminal Identification >> Coolant Temperature Sensor (CTS)
April 5, 2026: LEMON Manuals is launched! Read the announcement.

Coolant Temperature Sensor (CTS)

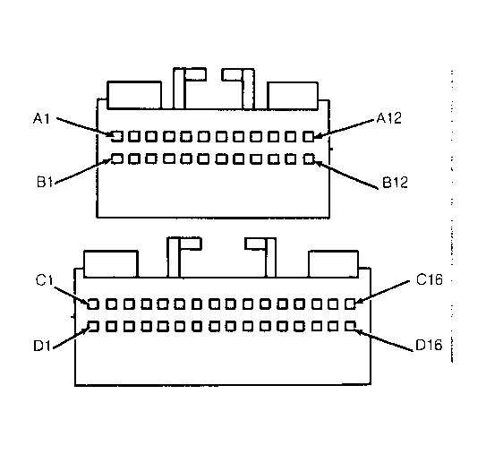
  1. Disconnect electrical connector from coolant temperature sensor. Using a DVOM, check resistance between ECU connector terminal "C10" to sensor connector and ECU connector terminal "D3" to sensor connector. See Figure .
  2. If resistance is greater than one ohm, repair wiring harness. Measure resistance of sensor between sensor terminals. Refer to COOLANT TEMPERATURE SENSOR RESISTANCE  table for specifications on coolant temperature sensor resistance.
COOLANT TEMPERATURE SENSOR RESISTANCE - APPROXIMATE

°F (°C) Ohms
212 (100) 185
160 (70) 450
100 (38) 1600
70 (20) 3400
40 (4) 7500
20 (-7) 13,500
0 (-18) 25,500
-40 (-40) 100,700