LEMON Manuals: Even more car manuals for everyone: 1960-2025
Home >> Eagle >> 1994 >> Summit L4-1468cc 1.5L SOHC >> Repair and Diagnosis >> Powertrain Management >> Computers and Control Systems >> Relays and Modules - Computers and Control Systems >> Engine Control Module >> Diagrams >> Diagnostic Aids >> How to Diagnose Electrical Problems >> Inspection Instruments
April 5, 2026: LEMON Manuals is launched! Read the announcement.

Inspection Instruments

Test Lights:





1. Test Lights
A test light consists of a 12 V bulb and lead wires. It is used to check voltages or short circuits.

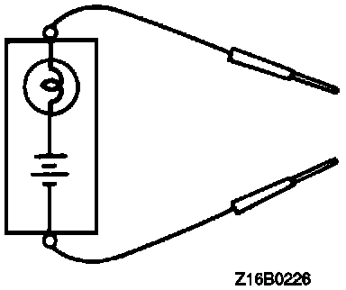
Self Power Test Light:





2. Self-Power Test Light
A self-power test light consists of a bulb, battery and lead wires connected in series. It is used to check continuity or grounding.

Jumper Wire:





3. Jumper wire
A jumper wire is used to close an open circuit. Never use one to connect a power supply directly to a load.

Voltmeter:





4. Voltmeter
A voltmeter is used to measure the circuit voltage. Normally, the positive (red lead) probe is applied to the point of voltage measurement and the negative (black lead) probe to the body ground.


Ohmmeter:





5. Ohmmeter
An ohmmeter is used to check continuity or measure resistance of a switch or coil. If the measuring range has been changed, the zero point must be adjusted before measurement.