LEMON Manuals: Even more car manuals for everyone: 1960-2025
Home >> Ford >> 1966 >> P-100 Automatic Trans >> Repair and Diagnosis >> Maintenance >> Procedures >> Wheel Alignment (Procedures) >> Toe-Out On Turns
April 5, 2026: LEMON Manuals is launched! Read the announcement.

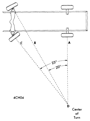
Toe-Out On Turns

Toe-out check is a check for bent or damaged parts, and not a service adjustment. With caster, camber, and toe-in properly adjusted, check toe-out with weight of car on wheels (use full-floating turn table under each wheel), repeating test with each wheel positioned for right and left turns. Incorrect toe-out generally indicates a bent steering arm. Replace arm and recheck all wheel alignment adjustments.

CAUTION: Do not attempt to correct by straightening parts.
Fig 1: WHEEL TOE-OUT
G09335592Courtesy of NOT AVAILABLE