LEMON Manuals: Even more car manuals for everyone: 1960-2025
Home >> Ford >> 1981 >> Cutaway 4.9L Eng VIN E >> Repair and Diagnosis >> Engine Performance >> Engine Control Systems >> MCU Engine Control System >> Sub-Routines
April 5, 2026: LEMON Manuals is launched! Read the announcement.

MCU Engine Control System: Sub-Routines

  1. FUNCTIONAL TEST NOT OPERATING 
    1. Ensure that test connections, jumper wires, and VOM were all correctly hooked up.
    2. Disconnect MCU connector. With ignition on, battery voltage should be present at pin 20. If not, check fuse. With ignition off, pin 14 should have continuity to ground. If not, repair. If wiring is okay, go to next step.
    3. Check for continuity between Self-Test connector and MCU. See wiring diagram at end of this test for wire connections. Check to ensure circuit from MCU to TAB solenoid is not shorted to ground.
    4. Measure TAB solenoid resistance. If within 50-110 ohms, replace MCU module. If not within 50-110 ohms, replace solenoid. Repeat "Functional Test".
      Fig 1: Functional Test Not Operating
      G09337154Courtesy of FORD MOTOR CO.
  2. NO START TEST 

    This test detects faults in the MCU only.

    1. Check Tach lead for a ground short. Leave harness connected to MCU; disconnect coil and ignition module connectors. Measure resistance between ground and self-test connector, then Tach connector. If resistance is less than 1000 ohms, go to step 2)  . If higher than 1000 ohms, MCU is not shorted.
    2. Disconnect harness from MCU and measure resistance again. If resistance is less than 1000, repair circuit. If greater than 1000, replace MCU module.
      Fig 2: No Start Test
      G09337155Courtesy of FORD MOTOR CO.
  3. RUNNING TEST NOT INITIATED (CODE 33) 

    It is necessary to increase speed to more than 2500 RPM within 20 seconds after start in order to initiate "Functional Test". Turn key off and repeat procedure.

  4. FUEL ALWAYS LEAN (CODE 41) 

    After starting engine, allow at least 40 seconds before testing. Disconnect "Functional Test" trigger jumper.

    1. Disconnect oxygen sensor and MCU connector. Turn all accessories off. Check resistance between MCU connector pin 3 and ground, then pin 23 and ground. If resistance in either circuit is less than 1000 ohms, repair short to ground. If resistance is greater than 1000 ohms, go to next step.
    2. Check continuity between pin 1 of MCU connector and ground, then continuity between pin 3 and oxygen sensor connector. If either circuit measures more than 5 ohms, repair wiring. If both are less than 5 ohms resistance, go to next step.
    3. Connect voltmeter to back of Fuel Control Solenoid (FCS) connector. Start engine and run at 2500 RPM. Observe voltage after 15 seconds. If less than 10 volts, go to next step. If greater than 10 volts, replace MCU module.
    4. Reconnect oxygen sensor and MCU connector. Disconnect Thermactor hose from air pump and plug hose. Set engine at 2500 RPM and hold choke valve 3/4 closed to force engine rich. With voltmeter still connected at FCS, observe voltage after 15 seconds. If less than 10 volts, go to next step. If greater than 10 volts, MCU is okay. Check Thermactor and carburetor.
    5. Turn ignition off and disconnect harness from oxygen sensor. Measure resistance between oxygen sensor wire (harness side) and ground. If resistance is less than 1000 ohms, replace MCU module. If greater than 1000 ohms, go to next step.
    6. With oxygen sensor still disconnected, start engine. With engine idling, connect a jumper wire to harness side of oxygen sensor connector. Be sure this connection cannot touch ground. Connect other end of jumper to battery positive terminal, then raise engine speed to 2500-2800 RPM. If voltage at FCS is less than 10 volts, replace MCU module. If greater than 10 volts, replace oxygen sensor.
      Fig 3: Fuel Always Lean (Code 41)
      G09337156Courtesy of FORD MOTOR CO.
  5. FUEL ALWAYS RICH (CODE 42) 

    After starting engine, allow at least 40 seconds before testing. Disconnect "Functional Test" trigger juniper.

    1. Check choke valve for sticking or binding, and repair as necessary.
    2. Disconnect connector at MCU and connector at Fuel Control Solenoid (FCS). Measure resistance between pin 20 in MCU connector and 1 pin at FCS connector, then between pin 23 at MCU connector and other pin at FCS connector. Resistance should be less than 5 ohms in both cases. If not, repair wiring. If okay, go to next step.
    3. Check resistance across terminals of FCS. If within 15-33 ohms, go to next step. If not, replace FCS.
    4. Connect a voltmeter to the back of FCS connector. Start engine and run at 2500 RPM. Check voltage after 15 seconds. If less than 10 volts, replace MCU module. If greater than 10 volts, go to next step.
      CAUTION: For the following step, a digital VOM must be used which has an input impedance of at least 10 megohms.
    5. Disconnect oxygen sensor and connect DVOM between sensor and ground, with switch in lowest voltage position. Start engine and run at 2000 RPM for 1 minute to warm up sensor. Turn engine off and immediately check DVOM reading. If greater than 0.4 volts, go to next step. If less than 0.4 volts, check carburetor (too rich).
    6. Purge exhaust system immediately by disconnecting coil "horseshoe" connector and cranking engine for 10 seconds with throttle wide open. Observe voltage reading. If greater than 0.4 volts, replace oxygen sensor. If less than 0.4 volts, check carburetor (too rich).
      Fig 4: Fuel Always Rich (Code 42)
      G09337157Courtesy of FORD MOTOR CO.
  6. THERMACTOR SYSTEM (CODE 44) 
    1. Remove vacuum hose from TAB valve and connect gauge to hose. Start, increase RPM above 2500 to activate "Functional Test" and observe vacuum gauge. If vacuum pulses are above and below 5 in. Hg, go to next step. If pulses are always above 5 in. Hg, go to next step. If pulses are below 5 in. Hg, go to step  10.
    2. Reconnect hose to TAB. Disconnect hose at TAD valve and connect vacuum gauge. Start engine and raise RPM above 2500 to start "Functional Test". Observe vacuum readings. If above and below 5 in. Hg, go to next step.
    3. Reconnect hose to TAD valve. Remove upstream air hose at TAD valve. Start engine and raise RPM above 2500 to start "Functional Test". Hold engine speed and feel for air at TAD valve nipple 20 seconds after test starts. Air will flow for 6 seconds. If okay, go to next step. If not, check air pump.
    4. Turn engine off and reconnect air hose. Disconnect harness from oxygen sensor and insert jumper wire between connector and ground. Start engine, raise RPM to begin "Functional Test" and maintain RPM until output code is received. If code 41 is read on voltmeter, check choke system, then go to next step. If code 44 is received, replace MCU module.
      CAUTION: For the next step, a digital VOM must be used which has on input impedance of at least 10 megohms.
    5. Place DVOM selector in lowest voltage position and connect it between oxygen sensor and ground. Start engine and run at 2000 RPM for 1 minute to warm up sensor. Turn engine off and immediately check DVOM. If voltage is less than 0.4 volts, check carburetor (too rich). If voltage is greater than 0.4 volts, go to next step.
    6. Immediately purge exhaust system. Disconnect coil "horseshoe" connector and crank engine for 10 seconds with throttle wide open. If voltage is greater than 0.4 volts, replace oxygen sensor. If voltage is less than 0.4 volts, check carburetor (too rich).
    7. Disconnect MCU connector, then connectors at TAD and TAB solenoids. Check continuity between MCU connector pin 20 and TAD solenoid, then between pin 11 and TAB solenoid. If less than 5 ohms resistance, go to next step. If greater than 5 ohms resistance is measured, repair wiring.
    8. Measure resistance of TAB solenoid. If between 50-110 ohms, go to next step. If not within 50-110 ohms, replace TAB solenoid.
    9. Check at TAB solenoid output to be sure vacuum is not present when solenoid is energized (12 volts). If vacuum is present, replace TAB solenoid. If no vacuum, replace MCU module.
    10. Check vacuum hose between TAD and TAB solenoid, then between source and TAB solenoid. Repair as necessary. If hoses are okay, go to next step.
    11. Check vacuum switch (TVS) and retard delay valve (RDV) for proper installation and operation. Check vacuum schematic for usage and location. Service valves if necessary, otherwise go to next step.
    12. Check at TAB solenoid output to be sure vacuum is present when the solenoid is energized (12 volts). If vacuum is not present, replace TAB solenoid. If vacuum is present, go to next step.
    13. Disconnect TAB solenoid connectors and MCU connector. Measure resistance between pin 20 and TAB connector, then pin 11 and TAB solenoid. If resistance is less than 5 ohms, replace MCU module. If higher than 5 ohms, repair circuits.
    14. Disconnect MCU connector. Measure resistance from pin 20 to ground. If greater than 1000 ohms, go to next step. If less than 1000 ohms, repair short to ground.
    15. Check at TAD solenoid to be sure vacuum is not present when solenoid is deactivated. If vacuum is present, replace TAD solenoid. If vacuum is not present, replace MCU module.
    16. Check vacuum hoses between TAD valve and TAD solenoid, then between TAD solenoid and vacuum source. Repair if necessary. If vacuum source and hoses are okay, go to next step.
    17. Check retard delay valve (RDV) for proper installation and operation. Check thermal vacuum switch (TVS) for proper installation and operation (if used on vehicle). Replace if necessary. If okay, go to next step.
    18. Measure resistance of TAD solenoid. If not between 50-110 ohms, replace solenoid. If resistance is okay, go to next step.
    19. Check at TAD solenoid to be sure vacuum is present when solenoid is energized (12 volts). If vacuum is not present, replace solenoid. If vacuum is present, go to next step.
    20. Disconnect wiring at TAD solenoid and MCU. Measure between MCU pin 20 and TAD solenoid, then between pin 10 and solenoid. If resistance is greater than 5 ohms, repair wiring. If less than 5 ohms, replace MCU module.
      Fig 5: Thermactor System (Code 44)
      G09337158Courtesy of FORD MOTOR CO.
  7. THERMACTOR AIR DIVERTER (CODE 45) 
    1. Remove vacuum hose from TAD valve and connect vacuum gauge to hose. Start engine and raise RPM to above 2500 to begin "Functional Test". Observe gauge during initial pulses. If pulses are above and below 5 in. Hg, MCU is okay - check Thermactor pump. If pulses are always above 5 in Hg, go to step  6. If pulses are always below 5 in Hg, check Thermactor pump.
    2. Check vacuum hoses between vacuum source, TAD solenoid, and TAD valve. It vacuum source or hoses are faulty, repair. If okay, go to next step.
    3. Measure resistance of TAD solenoid. If within 50-110 ohms, go to next step. If not, replace TAD solenoid.
    4. Check at TAD solenoid output for vacuum when solenoid is energized (12 volts). If no vacuum, replace solenoid. If vacuum is present, go to next step.
    5. Disconnect MCU connector and TAD connector. Measure resistance between MCU pin 10 and TAD connector, then between pin 20 and TAD connector. If resistance is less than 5 ohms, replace MCU module. If resistance is greater than 5 ohms, repair circuit.
    6. Check at TAD solenoid output to ensure vacuum is not present when solenoid is deactivated. If vacuum is present, replace solenoid. If no vacuum, go to next step.
    7. Measure resistance between MCU pin 10 and ground. If resistance is greater than 1000 ohms, replace MCU module. If resistance is less than 1000 ohms, repair short circuit to ground.
      Fig 6: Thermactor Air Diverter (Code 45)
      G09337159Courtesy of FORD MOTOR CO.
  8. THERMACTOR AIR BY-PASS (CODE 46) 
    1. Remove vacuum hose at TAB valve and connect gauge to hose. Start engine and raise RPM to above 2500 to start "Functional Test". Observe gauge during initial pulses. If pulses are above and below 5 in. Hg, MCU is okay - check Thermactor pump. If pulses are always above 5 in. Hg, go to step  5. If pulses are always below 5 in. Hg, check Thermactor pump.
    2. Check vacuum hoses between vacuum source, TAB solenoid, and TAB valve for leaks or blockage. Repair if necessary. If hoses are okay, go to next step.
    3. Check at TAB solenoid output to be sure vacuum is present when solenoid is deactivated. If no vacuum is present, replace solenoid. If vacuum is present, go to next step.
    4. Disconnect MCU and TAB solenoid connectors. Measure resistance between ground and MCU pin 9. If resistance is less than 1000 ohms, repair short to ground. If resistance is greater than 1000 ohms, replace MCU module.
    5. Check TAB solenoid output to make sure vacuum is not present when solenoid is deactivated. If vacuum is present, replace solenoid. If vacuum is not present, go to next step.
    6. Disconnect MCU and TAB solenoid connectors. Measure resistance between ground and MCU pin 11. If resistance is less than 1000 ohms, repair short to ground. If greater than 1000 ohms, replace MCU module.
      Fig 7: Thermactor Air By-Pass (Code 46)
      G09337160Courtesy of FORD MOTOR CO.
  9. LOW TEMPERATURE VACUUM SWITCH (CODE 51) 
    1. Check vacuum switch contacts without vacuum applied. Measure resistance across switch. If less than 5 ohms, go to next step. If greater than 5 ohms, replace switch.
    2. Vacuum at switch should be less than 1 in. Hg with engine hot. If vacuum is too high, replace PVS. If vacuum level is correct, go to next step.
    3. Check continuity between switch connector pins and MCU connector pins 5 and 14. If resistance is greater than 5 ohms, repair circuit. If less than 5 ohms and code is still present after "Functional Test", replace MCU module.
      NOTE: The following steps are to be used when referred here by "Functional Test" Cold Drive Complaint procedure.
    4. Disconnect harness from vacuum switch and repeat "Functional Test" section that produced code 51. If another code appears, go to step  8). If code 51 reappears, go to next step.
    5. Apply more than 4 in. Hg to switch. Measure resistance to be sure contacts are open. If resistance is less than 5 ohms, replace switch. If greater than 5 ohms, go to next step.
    6. Ensure that vacuum is present at vacuum switch when coolant is below 95°F. If vacuum is present, MCU is okay. Check for other problems. If no vacuum, go to next step.
    7. Check vacuum hoses for blockage or leaks, and check PVS for proper operation. Repair problems as necessary. If vacuum leak or block is not found, MCU is okay, check for other problems.
    8. Check resistance between MCU connector pin 5 and ground. If less than 1000 ohms, repair short to ground. If higher than 1000 ohms, replace MCU module.
      Fig 8: Low Temperature Vacuum Switch (Code 51)
      G09337161Courtesy of FORD MOTOR CO.
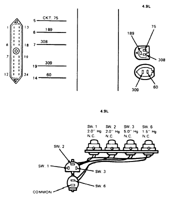
  10. VACUUM SWITCH 

    Use chart to identify code, switch, and pin connections. Use proper pin connection when directed by test procedures.

    Code Switch Name/Number MCU Pin
    52 or 62 Wide Open Throttle #2 6
    53 or 63 Crowd #3 7
    56 or 66 Closed Throttle #6 19
    1. Verify correct amount of vacuum is present at switch (use vacuum gauge). At least 8 in. Hg at switches 2 & 3; at least 4 in. Hg at switch 6. Check switch 6 at 2500 RPM; all others at idle. If vacuum level is too low, check vacuum lines and thermal switches. If vacuum is okay, go to next step.
    2. Check switch contacts. Continuity should be present without vacuum. If resistance is greater than 5 ohms, replace vacuum switch. If less than 5 ohms, go to next step.
    3. Check switch contacts with vacuum applied to switch (at least 8 in. Hg). If resistance is less than 5 ohms, replace switch. If greater than 5 ohms, go to next step.
    4. Check continuity from pin 14 in MCU connector to bottom pin in 2-wire connector at vacuum switch (circuit 60). If resistance is less than 5 ohms, go to next step. If greater than 5 ohms, repair wiring.
    5. Check continuity of switch circuit from MCU connector to switch. Use MCU pin identified in chart, and switch connector pin identified in wiring diagram at end of test. If resistance is greater than 5 ohms, repair circuit. If less than 5 ohms, go to next step.
    6. Check same circuit for short to ground. Measure between MCU pin and ground. If resistance is less than 1000 ohms, repair short in circuit. If greater than 1000 ohms, MCU module must be replaced.
      Fig 9: Vacuum Switch
      G09337162Courtesy of FORD MOTOR CO.
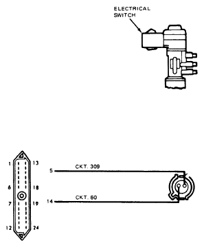
  11. LOW TEMPERATURE SWITCH (CODE 51) 
    1. Ensure water temperature was above 95° F during Self-Test when code was observed.
    2. Check contacts of low temperature switch (should be closed above 95° F). If resistance measures less than 5 ohms, go to step 3)  . If above 5 ohms, replace low temperature switch.
    3. Measure resistance in wiring between MCU (pins 5 & 14) and low temperature switch. If resistance is less than 5 ohms, replace MCU module. If greater than 5 ohms, repair wiring.
    4. Disconnect harness from low temperature switch and rerun "Functional Test". If service code other than 51 is recorded, go to appropriate test. If not, go to next step.
      NOTE: The following steps are to be used when referred here by "Functional Test" Cold Drive Complaint procedure.
    5. Check contacts of low temperature switch (should be open below 95° F). If resistance is greater than 5 ohms, go to next step. If less than 5 ohms, replace low temperature switch.
    6. Check wire from pin 5 to switch for continuity with ground. Measure between pin 5 in MCU connector and ground. If resistance is less than 1000 ohms, repair circuit. If resistance is greater than 1000 ohms and code 51 still appears, replace MCU module.
      Fig 10: Low Temperature Switch (Code 51)
      G09337163Courtesy of FORD MOTOR CO.
  12. CANISTER PURGE SOLENOID 
    1. Check vacuum hoses for leaks and blockage. Check vacuum source. Repair as necessary.
    2. Check to ensure Canister Purge solenoid passes vacuum when energized (12 volts) and blocks vacuum when deactivated. If solenoid does not operate as indicated, replace. If solenoid operates correctly, go to next step.
    3. Disconnect connectors at MCU and Canister Purge solenoid. Check continuity between MCU pin 12 and solenoid connector, then pin 20 and solenoid connector. If resistance is less than 5 ohms, go to next step. If more than 5 ohms, repair open circuit.
    4. Measure resistance between MCU pin 12 and ground. If resistance is less than 1000 ohms, repair short to ground. If greater than 1000 ohms, replace MCU module.
      Fig 11: Canister Purge Solenoid
      G09337164Courtesy of FORD MOTOR CO.
  13. SPARK RETARD SOLENOID 
    1. Check vacuum hoses for leaks or blockage, then check vacuum source at 2500 RPM. Repair o*** clean as necessary.
    2. Hold engine at 2000 RPM. Make sure vacuum is present at Spark Retard Solenoid output when solenoid is activated (12 volts) and no vacuum present when deactivated. If solenoid does not operate properly, replace it. If operation is okay, go to next step.
    3. Disconnect MCU connector and Spark Retard Solenoid connector. Measure resistance between MCU pin 20 and solenoid connector, then pin 9 and solenoid connector. If resistance is more than 5 ohms, repair wiring. If less than 5 ohms, go to next step.
    4. Measure resistance between MCU connector pin 9 and ground. If resistance is less than 1000 ohms, repair short to ground. If greater than 1000 ohms, replace MCU module.
      Fig 12: Spark Retard Solenoid
      G09337165Courtesy of FORD MOTOR CO.
  14. TACHOMETER LEAD 

    Disconnect MCU connector and "horseshoe" connector at ignition coil. Check continuity between pin 8 in MCU connector and "Tach Test" terminal in coil connector. If circuit is open, repair. If continuity is found, replace MCU module.

    Fig 13: Tachometer Lead
    G09337166Courtesy of FORD MOTOR CO.