LEMON Manuals: Even more car manuals for everyone: 1960-2025
Home >> Ford >> 1982 >> Bronco 5.0L Eng VIN F, Automatic Trans >> Repair and Diagnosis >> Body & Frame >> Windows >> Power Windows >> Testing >> Multiple Switch
April 5, 2026: LEMON Manuals is launched! Read the announcement.

Multiple Switch

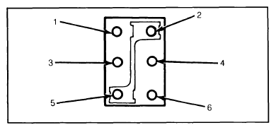
  1. Remove switch from vehicle. Using an ohmmeter or test light, clip a test probe on pin No. 6, which is grounded. See Fig. 1.  Place both switches in neutral position and test for continuity between pin No. 6 and pins No. 1 through 4.
    Fig 1: Multiple Switch Pin Location
    G09337506Courtesy of FORD MOTOR CO.
  2. Push both switches upward. Both No. 1 and No. 3 should lose continuity to pin No. 6. Push switches downward. No. 2 and No. 4 should lose continuity to pin No. 6.
  3. Remove test probe from No. 6, and connect it to feed pin (No. 5). With both switches in neutral position, no continuity should exist at remaining terminals.
  4. Push switches upward. No. 2 and No. 4 should show continuity with No. 5. If any switch does not test as indicated, replace complete switch assembly.
    Fig 2: Single Switch Pin Locations
    G09337507Courtesy of FORD MOTOR CO.