LEMON Manuals: Even more car manuals for everyone: 1960-2025
Home >> Ford >> 1984 >> Cutaway 4.9 9, Standard >> Repair and Diagnosis >> Engine Performance >> System >> 4.9L EEC IV Testing >> Circuit Testing >> Test T - Shift Indicator Light
April 5, 2026: LEMON Manuals is launched! Read the announcement.

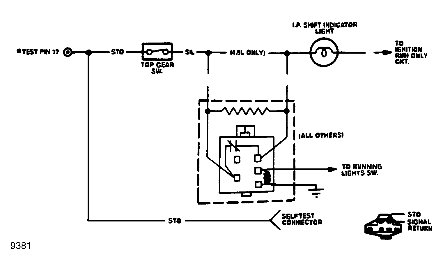
Test T - Shift Indicator Light

  1. Code 11 (pass) must be present for Key On-Engine Off and Engine Running Self-Tests before proceeding with this test. Verify shift indicator light fault by drive evaluating vehicle. If light is always off, go to next step. If light is not always off, go to step 4).
  2. Turn ignition off and wait 10 seconds. Disconnect harness from top gear switch and inspect for damaged pins, corrosion, loose wires, etc. Service as necessary. Set DVOM on 200 ohm scale and measure resistance of top gear switch harness connector STO circuit to self-test connector. If reading is less than 5 ohms, go to next step. If reading is 5 ohms or greater, repair open circuit, reconnect top gear switch and re-evaluate shift indicator light function.
  3. With ignition off, disconnect harness from top gear switch and place transmission in first gear. Set DVOM on 200 ohm scale and measure resistance of top gear switch. If less than 5 ohms, check fuse and bulb. If both are OK, repair open circuit. Reconnect top gear switch and re-evaluate shift indicator light. If reading is 5 ohms or greater, replace top gear switch and re-evaluate shift indicator light.
  4. Turn ignition off and wait 10 seconds. Disconnect harness from top gear switch. Inspect for damaged pins, corrosion, loose wires, etc. Service as necessary. Place transmission in top gear. Set DVOM on 200,000 ohm scale and measure resistance of top gear switch. If reading is less than 10,000 ohms, replace top gear switch and re-evaluate shift indicator light. If reading is 10,000 ohms or greater, repair short in SIL circuit, reconnect switch and re-evaluate shift indicator light.
Fig 1: Shift Indicator Light Circuit
G9381