LEMON Manuals: Even more car manuals for everyone: 1960-2025
Home >> Ford >> 1988 >> Tempo Base >> Repair and Diagnosis >> Maintenance >> Procedures >> Maintenance Information >> Service Point Locations
April 5, 2026: LEMON Manuals is launched! Read the announcement.

Service Point Locations

Fig 1: Service Point Locations (3.0L Gasoline Engine)
G93B44678Courtesy of FORD MOTOR CO.
Fig 2: Service Point Locations (2.3L Gasoline Engine)
G93C44679Courtesy of FORD MOTOR CO.
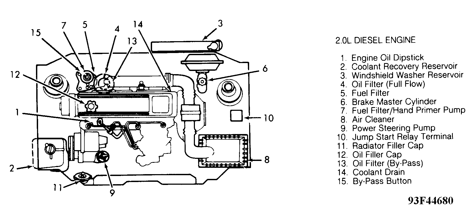
Fig 3: Service Point Locations (2.0L Diesel Engine)
G93F44680Courtesy of FORD MOTOR CO.