LEMON Manuals: Even more car manuals for everyone: 1960-2025
Home >> Ford >> 1990 >> Bronco 5.0 N, Standard >> Repair and Diagnosis >> Engine Performance >> System >> Engine Controls - Tests W/Codes >> Test QD - Re-Initialization Check >> Test QD - Introduction
April 5, 2026: LEMON Manuals is launched! Read the announcement.

Test QD - Introduction

NOTE: Perform this test when Codes 71, 72 or 78 is displayed or when directed by other test procedure or driveability symptoms. This test is intended to diagnose only the following:
NOTE: The electrical signatures of some aftermarket components may affect driveability of the vehicle.
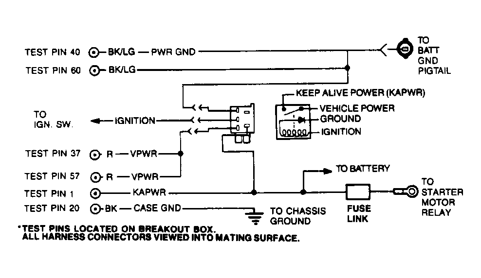
Fig 1: EEC Power Relay Circuit
G90H13299
TEST PIN WIRE COLOR IDENTIFICATION

Application (Test Pin No.) Wire Color
Pin 20, CASE GND
4.0L MA (Ranger) Black/Orange
All Others Black
Pin 1, KAPWR
5.0L PFI (Bronco, "E" Series & "F" Series), 4.9L, 5.8L, 7.3L Diesel, & 7.5L "E" Series Black/Orange
2.3L (Ranger), 2.9L (Bronco II & Ranger) & 4.0L (Ranger) Yellow/Black
All Others Yellow
Pin 40 or 60, PWR GND
4.9L, 5.0L, 5.8L, (Bronco & F-Series), 7.3L Diesel & 7.5L (F-Series) Black/White
All Others Yellow
Pin 37 or 57, VPWR Red