LEMON Manuals: Even more car manuals for everyone: 1960-2025
Home >> Ford >> 1990 >> Thunderbird Base >> Repair and Diagnosis (Single Page) >> Accessories & Equipment >> Cruise Control Systems >> Cruise Control System - EEC Controlled W/O Amplifier >> Testing >> Using Pinpoint Test
April 5, 2026: LEMON Manuals is launched! Read the announcement.

Using Pinpoint Test

DO NOT  run any of the following Pinpoint Tests unless instructed by teh QUICK TEST. Each Pinpoint Test assumes that a fault has been detected in the system with direction to enter a specified service routine. Performing Pinpoint Test without direction from the Quick Test may produce incorrect results and cause replacement of undamaged components.

DO NOT  replace any parts unless the test result indicates that they should be replaced.

When more than one service code is received, always start service with the first code received.

DO NOT  measure voltage or resistance at the ECA or connect any test lights to it, unless otherwise specified.

Isolate both ends of a circuit, and then turn ignition switch to OFF position whenever checking for shorts or continuity, unless otherwise specified.

Disconnect solenoids and switches from the harness before measuring for continuity, resistance or energizing by way of 12 volt source, unless otherwise instructed.

In using the Pinpoint Tests, follow each step in order, starting from the first Step in the appropriate test. Follow each step until the fault is found.

After completing any service to the IVSC system, verify that all components are properly reconnected and repeat Quick Test.

An open is defined as any resistance reading greater than 5 ohms unless otherwise specified.

A short is defined as any resistance reading less than 10,000 ohms to ground, unless otherwise specified.

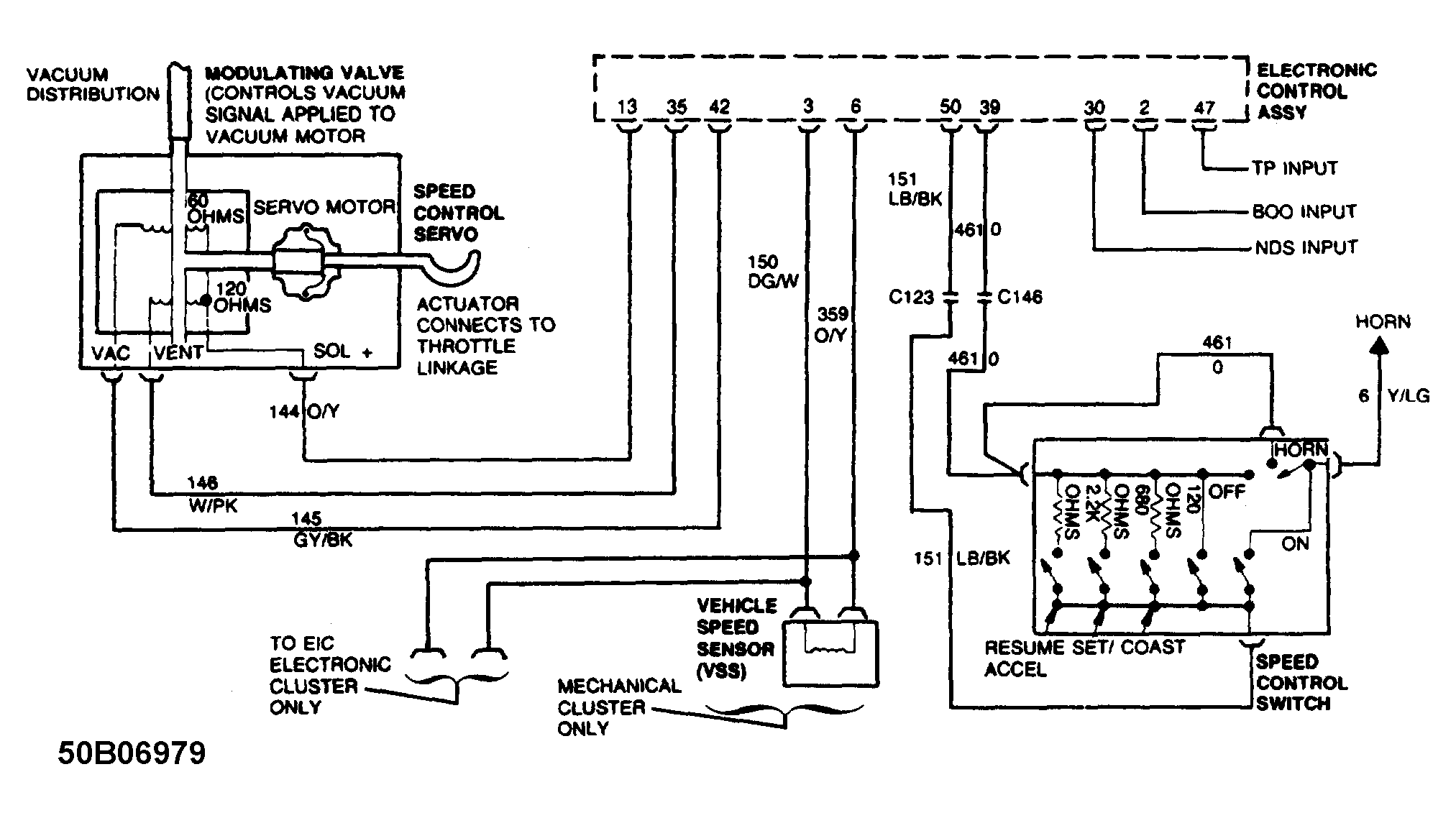
See wiring in Fig. Fig 1 as necessary during Pinpoint testing.

Fig 1: ECA Schematic
G50B06979