LEMON Manuals: Even more car manuals for everyone: 1960-2025
Home >> Ford >> 1992 >> Thunderbird V6-232 3.8L SC >> Repair and Diagnosis >> Powertrain Management >> Computers and Control Systems >> Camshaft Position Sensor >> Service and Repair >> Synchronizer
April 5, 2026: LEMON Manuals is launched! Read the announcement.

Synchronizer

Syncro Positioning Tool:






Special Service Tool(s)

REMOVAL
1. Disconnect the battery ground cable.
2. Remove the Camshaft Position (CMP) sensor.







3. Remove the camshaft synchronizer bolt.







4. Remove the camshaft synchronizer.

NOTE: The oil pump driveshaft might come out with the camshaft synchronizer. If so, retrieve the oil pump drive shaft before proceeding.

INSTALLATION







1. Rotate the crankshaft until the No.1 cylinder is at TDC of the compress ion stroke and the TDC mark lines up with the timing mark.

CAUTION: Do not turn the crankshaft or the camshaft during the removal and installation procedure or the fuel system timing will be out of time with the engine and possibly cause engine damage.







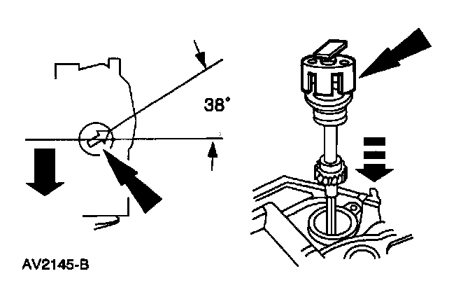
2. Install the special tool on the camshaft synchronizer by rotating the tool until it engages the notch in the camshaft synchronizer housing and the armature.

CAUTION
^ A special tool must be used during the installation of the replacement synchronizer assembly. Failure to follow this procedure will result in the fuel system being out of time with the engine, possibly causing engine damage.
^ It is very important to coat the gear on the camshaft synchronizer with Super Premium SAE-5W30 Motor Oil XO-5W30-QSP or equivalent meeting Ford specification WSS-M2C153-G or equivalent, prior to installation. Failure to do so could result in gear failure upon engine start-up.







3. Install the camshaft synchronizer housing assembly so the arrow on the special tool is 38 degrees from the centerline of the engine.

NOTE: During installation, the arrow on the special tool will rotate clockwise until oil pump intermediate shaft and camshaft gear engages.







4. Install the camshaft synchronizer bolt.
5. Connect the battery ground cable.

NOTE: When the battery is disconnected and reconnected, some abnormal drive symptoms may occur while the vehicle relearns its adaptive strategy. The vehicle may need to be driven 16 km (10 miles) or more to relearn the strategy.