LEMON Manuals: Even more car manuals for everyone: 1960-2025
Home >> Ford >> 1992 >> Thunderbird V6-232 3.8L >> Repair and Diagnosis >> Diagrams >> Connector Views >> Ignition Control Module
April 5, 2026: LEMON Manuals is launched! Read the announcement.

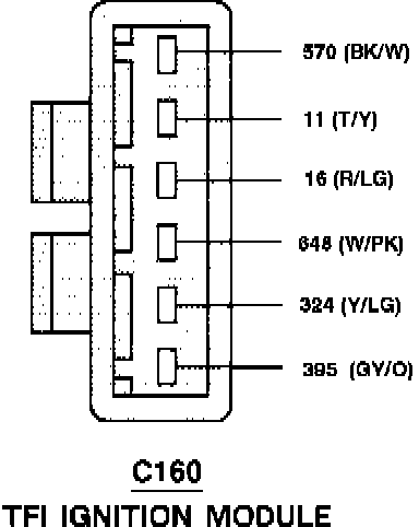
Ignition Control Module

Thick Film Ignition Module Connector Pinout:



Remote Mounted TFI-IV Ignition Module: