LEMON Manuals: Even more car manuals for everyone: 1960-2025
Home >> Ford >> 1993 >> Festiva L >> Repair and Diagnosis (Single Page) >> Engine Performance >> System >> Engine Controls - Tests W/Codes >> Pinpoint Test CID >> Cylinder Identification Sensor
April 5, 2026: LEMON Manuals is launched! Read the announcement.

Cylinder Identification Sensor

NOTE: Enter this test only when Code 03 is displayed during QUICK TESTS procedure or when directed here from another PINPOINT TEST.
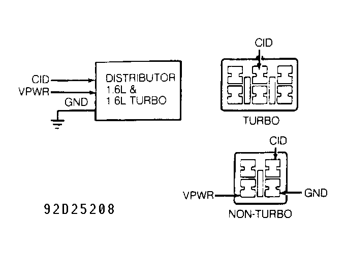
Fig 1: CID Circuit & Connectors ID
G92D25208
CID CIRCUIT PIN IDENTIFICATION

Circuit PCM Pin BOB Pin Wire Color
CID 1N 34 YEL

1)  Turn ignition off. Install BOB, leaving PCM disconnected. Unplug distributor connector. Measure resistance between BOB pin No. 34 and CID terminal on distributor harness connector. Repair Yellow wire between PCM and distributor if resistance is greater than 5 ohms. If resistance is less than 5 ohms, go to next step.

2)  Turn ignition on. Measure voltage between distributor VPWR and GND wires. If voltage is greater than 10 volts, replace CID sensor. If voltage is not greater than 10 volts, repair distributor GND wire.