LEMON Manuals: Even more car manuals for everyone: 1960-2025
Home >> Ford >> 1993 >> Probe Base, Standard >> Repair and Diagnosis >> External Pages >> Different car >> Section 11 (Air Bag Restraint System) >> Diagnostic Tests >> Code 22, SAFING Sensor Shorted >> Possible Causes
April 5, 2026: LEMON Manuals is launched! Read the announcement.

Possible Causes

WARNING: This page is about a different car, the 1993 Mercury Sable, 1993 Lincoln Continental, and 1993 Ford Taurus. However, it is still accessible from the selected car via links, so may be relevant.

Code 22 will set if there is a short in wiring harness between circuit No. 614 (Gray/Orange wire) or No. 623 (Purple/White wire) and another wire. Code 22 will also set if clockspring is shorted between circuit No. 614 and horn or cruise control wiring. Code 22 will also set if safing sensor is shorted internally or vehicle charging system voltage is too high (more than 17 volts).

  1. Verify Condition  - Turn ignition on. Check for fault codes. If Code 22 is flashing, go to step 2). If Code 22 is not flashing, check connectors, wiring, splices and crimps for an intermittent problem. DO NOT  proceed with diagnostic test until code is flashing. Failure to do so will result in needless replacement of diagnostic monitor.
  2. Check For Short Circuit  - Deactivate air bag system. See COMPLETE SYSTEM DEACTIVATION  under DISABLING & ACTIVATING AIR BAG SYSTEM. Turn ignition on. Measure voltage between terminals No. 3 (Black or Black/Orange wire) and No. 13 (Red/White wire) of diagnostic monitor connector. Note this reading as system voltage.
  3. Using terminal No. 3 as ground, measure voltage between terminals No. 3 and 11 (Gray/Orange wire) of diagnostic monitor connector. Using this voltage reading and system voltage reading taken in step 2), determine if voltage at terminal No. 11 is within specification. See VOLTAGE SPECIFICATIONS (CODE 22)  table. If voltage is high, go to step 4). If voltage is okay, replace diagnostic monitor.
    VOLTAGE SPECIFICATIONS (CODE 22)

    Voltage At Terminal No. 11 System Voltage
    2.7 10.5
    2.8 11.0
    3.0 11.5
    3.1 12.0
    3.2 12.5
    3.4 13.0
    3.5 13.5
    3.7 14.0
    3.8 14.5
    4.0 15.0
    4.1 15.5
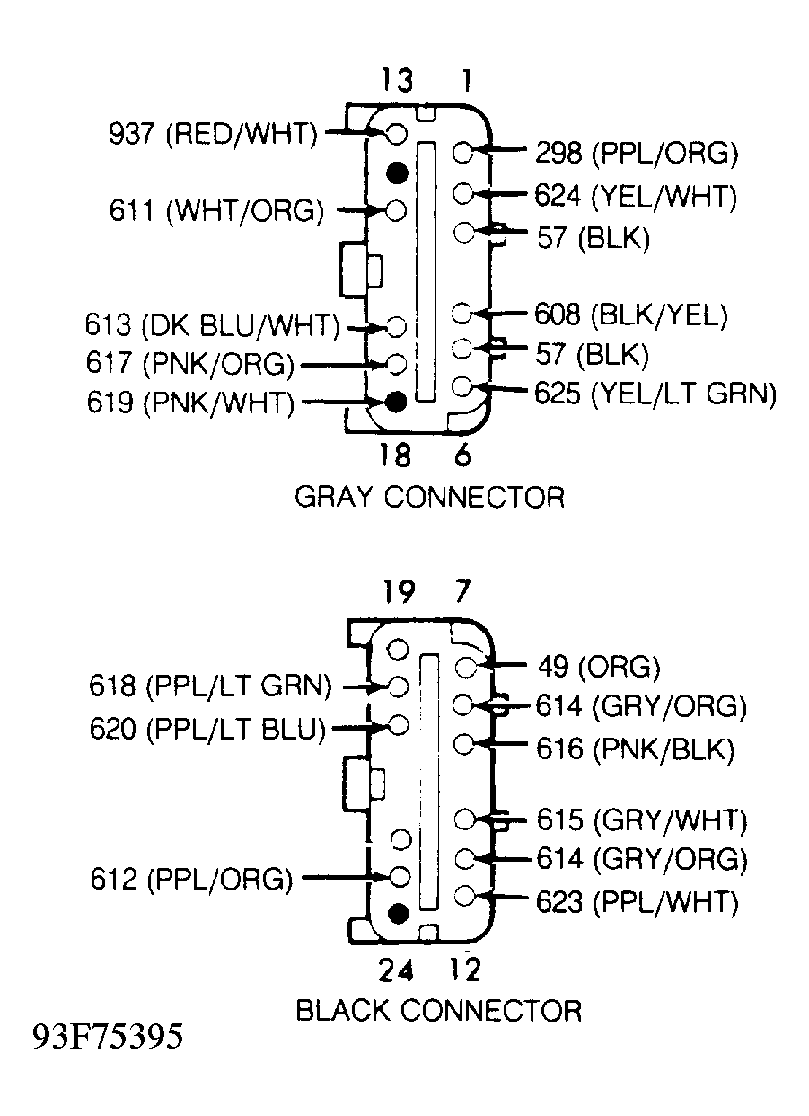
  4. Check For Shorted Wiring  - Turn ignition off. Disconnect safing sensor. On Continental, safing sensor is attached to top center of cowl, in engine compartment. On Sable and Taurus, safing sensor is behind left kick panel. On all models, disconnect diagnostic monitor. On Continental, diagnostic monitor is behind knee bolster, left of steering column. On Sable and Taurus, diagnostic monitor is behind glove box. On all models, check for continuity between terminal No. 11 (Gray/Orange wire) and terminals No. 15 (White/Orange wire) and No. 23 (Purple/Orange wire) of diagnostic monitor connector. See Figure or Figure . If continuity does not exist, go to step 5). If continuity exists in any circuit, locate and repair short between circuits No. 611 and 612 or 614. Repair as necessary.
  5. Check For Safing Sensor Short  - Check for continuity between White/Orange wire and Gray/Orange wire of safing sensor connector. If continuity exists, replace safing sensor. If continuity does not exist, locate and repair short to voltage in circuit No. 614, 615, 616 or 623.