LEMON Manuals: Even more car manuals for everyone: 1960-2025
Home >> Ford >> 1993 >> Probe Base, Standard >> Repair and Diagnosis >> External Pages >> Different car >> Section 3 (Engine Controls - Tests W/Codes - 2.3L) >> Circuit Tests >> Circuit Test X - Constant Control Relay Module (CCRM) >> Diagnostic Aids
April 5, 2026: LEMON Manuals is launched! Read the announcement.

Diagnostic Aids

WARNING: This page is about a different car, the 1993 Ford Mustang. However, it is still accessible from the selected car via links, so may be relevant.

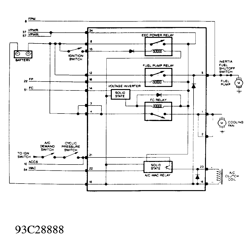
CCRM interfaces with the EEC-IV system to provide control for cooling fan and A/C clutch. CCRM also contains EEC-IV power relay, which provides battery power (VPWR) to the Powertrain Control Module (PCM) and EEC-IV system.

Perform this test only when instructed by QUICK TEST or if directed by CIRCUIT TEST C, CIRCUIT TEST DC, CIRCUIT TEST PA or CIRCUIT TEST PB. This test is only intended to diagnose the following:

To prevent replacing good components, be aware the following non-EEC related components or systems may be at fault:

Fig 1: Identifying PCM & CCRM Connectors
G93B28887
Fig 2: CCRM Circuits (Mustang 2.3L)
G93C28888

1) Check Battery Supply Voltage  With Key On Engine Off (KOEO), set DVOM on 20-volt scale. Measure voltage across battery terminals. If reading is less than 10.5 volts, service or replace discharged battery. If reading is 10.5 volts or more, go to step 2).

2) Check Battery Ground  Turn ignition on. Measure voltage between negative battery terminal and SIG RTN circuit in Data Link Connector (DLC). If reading is less than .5 volt, go to step 6). If reading is .5 volt or more, go to step 3).

3) Isolate Ground Fault  Turn ignition off. Disconnect PCM 60-pin connector. Inspect wiring, and repair if damaged. Install breakout box, and connect PCM. Turn ignition on (engine off). Measure voltage between negative battery terminal and test pins No. 40 and 60. If each voltage reading is .5 volt or more, repair open ground circuit. Remove breakout box, and repeat QUICK TEST. If both readings are less than .5 volt, go to step 4).

4) PCM Ground Fault Isolation  Ensure ignition is off. Leave breakout box installed with PCM connected. Measure resistance between test pin No. 46 and test pins No. 40 and 60. If each resistance is 5 ohms or more, replace PCM. Remove breakout box, and repeat QUICK TEST. If both readings are less than 5 ohms, go to step 5).

5) Check Continuity Of SIG RTN Circuit  Turn ignition off. Disconnect PCM from breakout box. Measure resistance between test pin No. 46 and SIG RTN circuit at Data Link Connector (DLC). If reading is less than 5 ohms, system is okay. Remove breakout box, and reconnect PCM. Repeat QUICK TEST. If reading is 5 ohms or more, repair open SIG RTN circuit. Remove breakout box, and repeat QUICK TEST.

6) Measure Voltage & Ground To CCRM  Leave ignition off. Disconnect CCRM. Measure voltage between pins No. 8 and 15 at CCRM wiring harness connector. If voltage is more than 10.5 volts, go to step 7). If voltage is 10.5 volts or less, go to step 9).

7) Check Key Power To CCRM  Leave CCRM disconnected. Turn ignition on. Measure voltage between pins No. 13 and 15 at CCRM wiring harness connector. If reading is less than 10.5 volts, repair open between pin No. 13 and ignition switch. Reconnect CCRM, and repeat QUICK TEST. If reading is 10.5 volts or more, go to step 8).

8) Check Continuity Of VPWR Circuit  Turn ignition off. Disconnect PCM 60-pin connector. Inspect wiring, and repair if damaged. Install breakout box, leaving PCM disconnected. Measure resistance between test pins No. 37 and 57 at breakout box and pin No. 24 at CCRM wiring harness connector. If reading is 5 ohms or more, repair open in VPWR circuit and repeat QUICK TEST. If reading is less than 5 ohms, replace CCRM and repeat QUICK TEST.

9) Check Continuity Of Power Ground To CCRM  Leave ignition off and CCRM disconnected. Measure resistance between CCRM harness connector pin No. 15 and negative battery terminal. If resistance is 5 ohms or more, repair open in ground circuit to CCRM harness connector pin No. 15. Repeat QUICK TEST. If reading is less than 5 ohms, repair open in battery positive to pin No. 8 of CCRM harness connector. Repeat QUICK TEST.

NOTE: A break in step numbering sequence occurs at this point. Procedure skips from step 9) to step 15). No test procedures have been omitted.

15) Code 563: Check HFC Relay Resistance  Code 563 indicates failed HFC circuit. Turn ignition off, and disconnect CCRM. Measure resistance of CCRM between terminals No. 17 and 24. If reading is not 50-100 ohms, replace CCRM and repeat QUICK TEST. If reading is 50-100 ohms, go to step 16).

16) Check HFC Circuit Continuity  Turn ignition off. Disconnect PCM 60-pin connector. Inspect wiring, and repair if damaged. Install breakout box, leaving PCM disconnected. Disconnect CCRM connector. Measure resistance between breakout box test pin No. 31 and CCRM wiring harness connector terminal No. 17. If reading is 5 ohms or less, go to next step. If resistance is more than 5 ohms, repair open in HFC circuit and repeat QUICK TEST.

17) Check HFC Circuit For Short To Power  With ignition off and breakout box installed, disconnect PCM and CCRM. Measure voltage between breakout box test pin No. 31 and negative battery terminal. If reading is more than one volt, repair short to power and repeat QUICK TEST. If Code 563 is still present, replace PCM. If reading is less than one volt, go to step 18).

18) Check HFC Circuit For Short To Ground  With ignition off and breakout box installed, disconnect PCM and CCRM. Measure resistance between test pins No. 31 and 40 at breakout box. If reading is more than 10,000 ohms, replace PCM and repeat QUICK TEST. If resistance is 10,000 ohms or less, repair short to ground in HFC circuit and repeat QUICK TEST.

NOTE: A break in step numbering sequence occurs at this point. Procedure skips from step 18) to step 20). No test procedures have been omitted.

20) Code 564  If cooling fan is always on when ignition is on, go to step 23). If cooling fan is not always on when ignition is on, go to next step.

21) Check FC/LFC Signal For Short To Ground  Turn ignition off. Disconnect PCM 60-pin connector. Inspect wiring, and repair if damaged. Install breakout box, leaving PCM disconnected. Disconnect CCRM connector and perform appropriate test:

If reading is more than 10,000 ohms, go to step 22). If reading is 10,000 ohms or less, repair short to ground in FC/LFC circuit, and repeat QUICK TEST.

22) Check Fan Running Mode  With ignition off and breakout box installed, disconnect PCM and connect CCRM connector. Turn ignition on. If fan runs, replace PCM. Remove breakout box, and reconnect all components. Repeat QUICK TEST. If fan does not run, replace CCRM. Remove breakout box. Reconnect all components, and repeat QUICK TEST.

23) Check FC/LFC Circuit Continuity  Turn ignition off. Disconnect PCM 60-pin connector. Inspect connector for damaged pins, corrosion and loose wires. Repair as necessary. Install breakout box, leaving PCM disconnected. Disconnect CCRM connector. Set DVOM on 200-ohm scale, and perform appropriate test:

If reading is 5 ohms or less, go to step 24). If reading is more than 5 ohms, repair open in FC/LFC circuit and repeat QUICK TEST.

24) Check FC/LFC Circuit For Short To Power  Turn ignition off. Install breakout box, leaving PCM disconnected. Disconnect CCRM connector. Set DVOM on 20-volt scale, turn ignition on and perform appropriate test:

If reading is less than one volt, go to step 25). If reading is one volt or more, repair short to power in FC/LFC circuit. Remove breakout box, and reconnect all components. Repeat QUICK TEST.

25) FC/LFC Circuit Fault Isolation Check  Turn ignition off. Install breakout box, leaving PCM disconnected. Connect CCRM to wiring harness connector. Turn ignition on. Using jumper wire, perform appropriate test:

If fan continues to run, replace CCRM. Remove breakout box, and reconnect all components. Repeat QUICK TEST. If fan does not run, replace PCM. Remove breakout box. Reconnect all components, and repeat QUICK TEST.

NOTE: A break in step numbering sequence occurs at this point. Procedure skips from step 25) to step 30). No test procedures have been omitted.

30) Fan Always On; Check CCRM-To-Fan Circuit  Turn ignition on. Turn all accessories off. Verify fan is always on. Turn ignition off. Disconnect CCRM. Turn ignition on. If fan is no longer on, replace CCRM and recheck system operation. If fan is still on, repair short to power circuit between CCRM and fan.

NOTE: A break in step numbering sequence occurs at this point. Procedure skips from step 30) to step 35). No test procedures have been omitted.

35) No Fan Operation  Turn ignition off. Disconnect CCRM. Connect negative probe of DVOM to negative battery terminal. Measure voltage between battery negative terminal and CCRM wiring harness connector terminals No. 3 and 4.

If all readings are 10.5 volts or more, go to step 36). If any reading is less than 10.5 volts, repair open in battery power circuit. Reconnect CCRM, and recheck system operation.

36) Check Fan Motor Operation  Turn ignition off, and disconnect CCRM connector. Perform appropriate test:

If cooling fan does not run, go to step 38). On 2.3L, if cooling fan runs, go to step 42). On all others, if cooling fan runs, go to step 37)

37) Check Fan Motor Operation  Turn ignition off. Disconnect CCRM. Install a jumper between terminals No. 2 and 3 at CCRM wiring harness connector. If fan does not run, go to step 40). If fan runs, go to step 42).

38) Check Battery Voltage At Fan With CCRM By-Passed  With ignition off, disconnect cooling fan and CCRM connectors. Perform appropriate test:

Set DVOM on 20-volt scale, and measure voltage at cooling fan harness connector. If reading is less than 8 volts, go to step 39). If reading is 8 volts or more, replace cooling fan motor. Reconnect CCRM, and re-evaluate symptom.

39) Check Cooling Fan Ground Circuit  Turn ignition off. Disconnect cooling fan and CCRM connectors. Perform appropriate test:

Set DVOM on 20-volt scale. Measure voltage between positive terminal at cooling fan harness connector and battery negative terminal. If reading is 8 volts or more, repair open in ground circuit to fan. After repairs, reconnect CCRM and recheck system operation. If reading is less than 8 volts, repair open in power-to-fan circuit from CCRM wiring harness connector to cooling fan wiring harness connector. Reconnect all components, and recheck system operation.

40) Check Battery Voltage At Fan With CCRM By-Passed  Turn ignition off. Disconnect cooling fan and CCRM connectors. Install a jumper wire between terminals No. 2 and 3 at CCRM wiring harness connector. Set DVOM on 20-volt scale. Measure voltage at cooling fan wiring harness connector between power and ground terminals. If reading is more than 8 volts, replace fan motor. Reconnect CCRM, and recheck system operation. If reading is 8 volts or less, repair open circuit in power-to-fan circuit from terminals No. 1 and 2 of CCRM wiring harness connector to cooling fan wiring harness connector. Reconnect all components, and recheck system operation.

NOTE: A break in step numbering sequence occurs at this point. Procedure skips from step 40) to step 42). No test procedures have been omitted.

42) Check Fan Running Mode (Low Speed)  Turn ignition off. Disconnect PCM. Reconnect CCRM. Turn ignition on (engine off). If fan runs, go to step 44) (2.3L), or step 43) (All Models). If fan does not run, replace CCRM. Reconnect PCM, and recheck system operation.

43) Check High Fan Control (HFC) Signal To Ground  Turn ignition off. Disconnect PCM 60-pin connector. Inspect pins and wiring, and repair if damaged. Install breakout box, leaving PCM disconnected. Ensure CCRM is connected. Turn ignition on. Install a jumper wire between test pins No. 31 and 40 at breakout box. If fan speed changes from low to high, go to step 44). If fan speed does not change from low to high, replace CCRM. Remove breakout box, and reconnect PCM. Recheck system operation.

CAUTION: Ensure engine does not overheat during voltage drop procedure in step 44).

44) Check ECT Sensor  Turn ignition off. Check engine coolant level. With breakout box installed, connect PCM to breakout box. While measuring voltage between test pins No. 7 and No. 46 at break-out box, warm engine to normal operating temperature. Allow engine to continue at idle. If fan comes on during testing, fault is intermittent and cannot be duplicated at this time. Testing is complete. If fan does not come on during testing, and voltage drops below .45 volt, turn ignition off and replace PCM. Remove breakout box, reconnect all connectors and recheck system operation. If fan does not come on during testing and voltage does not drop below .45 volt, disconnect Engine Coolant Temperature (ECT) sensor connector. Check wires and sensor for high resistance. Verify system is operating properly. If system operation is okay, replace ECT sensor and remove breakout box. Reconnect all connectors and recheck system operation.

NOTE: A break in step numbering sequence occurs at this point. Procedure skips from step 44) to step 50). No test procedures have been omitted.

50) Check Voltage At A/C Clutch  Disconnect A/C clutch connector. Turn ignition on (engine off). Set A/C demand switch to ON position. Check voltage at A/C clutch wiring harness connector. If reading is 10.5 volts or more, service A/C compressor and/or system. If reading is less than 10.5 volts, go to step 51).

51) Check Continuity Of CCRM To A/C Clutch Circuit  Turn ignition off. Disconnect CCRM and A/C clutch. Measure resistance between CCRM wiring harness connector terminal No. 23 and power circuit terminal at A/C clutch harness connector. Also, measure resistance between CCRM wiring harness connector terminal No. 16 and ground circuit at A/C clutch harness connector. If readings are more than 5 ohms, repair open in power or ground circuit of A/C and recheck system operation. If readings are 5 ohms or less, reconnect A/C clutch connector and go to step 52).

52) Check A/C Demand Switch Voltage To CCRM  Turn ignition off. Disconnect CCRM connector. Turn ignition on (engine off). Set A/C demand switch to ON position. Set DVOM to 20-volt scale. Check voltage between CCRM wiring harness connector terminal No. 21 and negative battery terminal. If reading is 10.5 volts or more, go to step 54). If reading is less than 10.5 volts, go to step 53).

53) Check Voltage To Cyclic Pressure Switch  Turn ignition on (engine off). Disconnect cyclic pressure switch. Set A/C demand switch to ON position. Set DVOM to 20-volt scale. Measure voltage between cyclic pressure switch connector and battery negative terminal. If reading is 10.5 volts or more, repair open in A/C Cyclic Pressure (ACCS) circuit. Remove breakout box, reconnect all components and recheck system operation. If reading is less than 10.5 volts, EEC-IV system is okay. Remove breakout box, reconnect all components and diagnose A/C system.

54) Check A/C Demand Switch Voltage To PCM  Turn ignition off. Disconnect PCM 60-pin connector. Inspect connector for damaged pins, corrosion and loose wires, and repair as necessary. Install breakout box, leaving PCM disconnected. Disconnect CCRM connector. Set DVOM to 20-volt scale. Turn ignition on (engine off). Set A/C demand switch to ON position. Measure voltage between test pin No. 10 at breakout box and negative battery terminal. If reading is more than 10.5 volts, go to step 55). If reading is 10.5 volts or less, turn ignition off. Repair open between ACCS and PCM. Remove breakout box, reconnect all connectors and recheck system operation.

55) Check WAC Circuit For Short To Ground  Turn ignition off. Install breakout box, leaving PCM disconnected. Disconnect CCRM connector. Measure resistance between breakout box test pin No. 54 and chassis ground. If any reading is less than 10,000 ohms, repair short to ground in Wide Open Throttle A/C Cut-Off (WAC) circuit. Remove breakout box, and reconnect all components. Recheck system operation. If all readings are 10,000 ohms or more, go to step 62).

NOTE: A break in step numbering sequence occurs at this point. Procedure skips from step 55) to step 60). No test procedures have been omitted.

60) Check WAC Circuit Continuity  Turn ignition off. Install breakout box. Disconnect PCM and CCRM. Turn ignition on (engine off). Set DVOM on 200-ohm scale, and measure resistance between breakout box test pin No. 54 and CCRM wiring harness connector terminal No. 22. If reading is 5 ohms or less, go to step 61). If reading is more than 5 ohms, repair open in WAC circuit. Remove breakout box, and reconnect all components. Recheck system operation.

61) Check WAC Circuit For Short To Power  Turn ignition off. Leave breakout box installed and PCM disconnected. Disconnect CCRM connector. Set DVOM on 20-volt scale. Turn ignition on (engine off). Measure voltage between breakout box test pin No. 54 and negative battery terminal. If reading is less than one volt, go to step 62). If reading is more than one volt, repair short to power in WAC circuit. Remove break-out box, reconnect all components and recheck system operation.

62) Isolate Fault To PCM Or CCRM  Turn ignition off. Leave breakout box installed and PCM disconnected. Connect CCRM and A/C clutch connectors. Turn ignition on (engine off). Set A/C demand switch to ON position. Connect jumper wire between breakout box test pins No. 40 and 54. Disconnect and reconnect jumper wire several times while observing A/C clutch. If A/C clutch engages and disengages, replace PCM. Remove breakout box, reconnect all components and recheck system operation. If A/C clutch does not engage and disengage, replace CCRM. Remove breakout box, reconnect all components and recheck system operation.

NOTE: A break in step numbering sequence occurs at this point. Procedure skips from step 62) to step 71). No test procedures have been omitted.

71) Check Voltage To Fuel Pump Relay  Turn ignition off. Disconnect CCRM. Turn ignition on. Measure voltage between CCRM wiring harness connector pin No. 10 and negative battery terminal. If voltage is more than 10.5 volts, go to step 72). If voltage is 10.5 volts or less, ensure Inertia Fuel Shutoff (IFS) switch has not tripped. If okay, repair IGNITION START/RUN circuit between ignition switch and CCRM.

72) Check Continuity Of Fuel Pump Circuit  Turn ignition off. Disconnect PCM 60-pin connector. Inspect wiring, and repair if damaged. Install breakout box, leaving PCM disconnected. Perform appropriate procedure listed as follows:

If resistance is 5 ohms or more, repair open in fuel pump circuit and repeat QUICK TEST. If reading is less than 5 ohms, go to step 73).

73) Check Fuel Pump Circuit For Short To Power  Leave PCM and CCRM disconnected. Turn ignition on. Perform appropriate procedure.

If voltage is less than 1.0 volt, go to step 74). If voltage is 1.0 volt or more, repeat short to power and repeat QUICK TEST.

74) Check Fuel Pump Circuit For Short To Ground  Leave PCM and CCRM disconnected. Perform appropriate procedure listed as follows:

If resistance is 10,000 ohms or more, replace PCM and repeat QUICK TEST. If resistance is less than 10,000 ohms, repair fuel pump circuit short to ground and repeat QUICK TEST.

75) Code 557: Check VPWR At Low Speed Fuel Pump (LFP)  Codes 557 indicates LFP circuit failure. Following are possible causes.

Turn ignition off. Disconnect LFP relay. Turn ignition on. Measure voltage between VPWR terminal at LFP wiring harness connector and negative battery cable. If voltage is less than 10.5 volts, repair open in VPWR circuit between LFP relay and CCRM. If voltage is 10.5 volts or more, go to step 76).

76) Check LFP Relay  Turn ignition off. Disconnect fuel pump relay wiring harness connector. Leave LFP relay disconnected. Measure resistance between LFP terminal and VPWR terminal at fuel pump relay wiring harness connector. Measure resistance between LFP terminal and B+ terminal at fuel pump relay wiring harness connector. Measure resistance between LFP terminal and POWER-TO-PUMP terminal at fuel pump relay wiring harness connector. If any resistance is less than 10,000 ohms, replace LFP relay and repeat QUICK TEST. If all resistance checks are 10,000 ohms or more, go to step 77).

Fig 3: Identifying LFP Relay Connector Terminals
G93C40917

77) Check LFP Circuit For Short To Power  Turn ignition off. Leave LFP relay disconnected. Disconnect PCM 60-pin connector. Inspect wiring, and repair if damaged. Install breakout box, leaving PCM disconnected. Turn ignition on. Measure voltage between test pin No. 32 at breakout box and negative battery terminal. If voltage is less than one volt, go to step 78). If voltage is one volt or more, repair short circuit and repeat QUICK TEST.

78) Check LFP Circuit For Short To Ground  Turn ignition off. Leave LFP relay and PCM disconnected. Measure resistance between test pin No. 32 and test pins No. 40 and 60 at breakout box. If resistance is 10,000 ohms or less, repair short circuit and repeat QUICK TEST. If resistance is more than 10,000 ohms, go to step 79).

79) Check LFP Circuit Continuity  Leave LFP relay and PCM disconnected. Measure resistance between test pin No. 32 and LFP terminal at LFP relay wiring harness connector. If resistance is 5 ohms or less, replace PCM and repeat QUICK TEST. If resistance is more than 5 ohms, repair open circuit and repeat QUICK TEST.

80) Code 542  Code 542 indicates one of the following conditions.