LEMON Manuals: Even more car manuals for everyone: 1960-2025
Home >> Ford >> 1993 >> Probe GT, Standard >> Repair and Diagnosis (Single Page) >> Engine Performance >> System >> Engine Controls - System/Component Tests - EEC-IV >> Ignition System >> Pinpoint Test F >> Viewing Ignition System Secondary Display
April 5, 2026: LEMON Manuals is launched! Read the announcement.

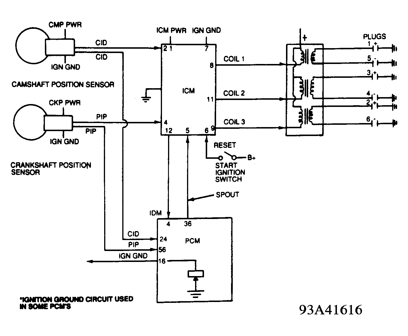
Viewing Ignition System Secondary Display

Connect engine analyzer to view parade display of ignition system secondary. While slowly increasing engine speed from idle to 2000 RPM, compare engine analyzer display to illustrations. See Figure. Illustrations shown are for a 4-cylinder engine but are typical for all EI engines.