LEMON Manuals: Even more car manuals for everyone: 1960-2025
Home >> Ford >> 1994 >> Bronco Full Size V8-302 5.0L >> Repair and Diagnosis >> Diagrams >> Connector Views >> Ignition Control Module
April 5, 2026: LEMON Manuals is launched! Read the announcement.

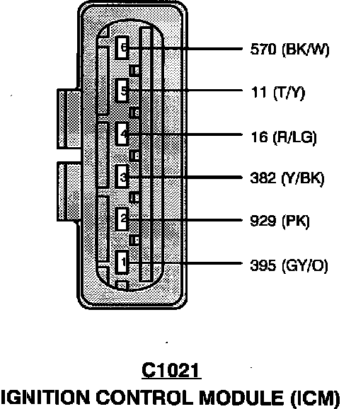
Ignition Control Module

Ignition Control Module: