LEMON Manuals: Even more car manuals for everyone: 1960-2025
Home >> Ford >> 1994 >> Mustang Base, 2D Convertible, Automatic >> Repair and Diagnosis >> Engine Performance >> System >> Engine Controls - Tests W/Codes - EEC-V (3.8L) >> Circuit Tests >> Circuit Test H - Fuel Control >> Diagnostic Aids
April 5, 2026: LEMON Manuals is launched! Read the announcement.

Diagnostic Aids

Perform this test when instructed during QUICK TEST or if directed by other test procedures. Only use this test to diagnose the following:

To prevent replacement of good components, be aware the following non-EEC areas may be cause of driveability concerns:

CIRCUIT TEST ACRONYMS

Acronym Definition
DLC Diagnostic Link Connector
HO2S Heated Oxygen Sensor
PID Parameter Identification
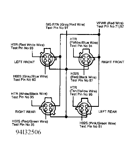
Fig 1: HO2S Circuit & Connector Terminal ID (H1)
G94I32506
Fig 2: Fuel Injector Circuit & Connector Terminal ID (H2 - 3.8L)
G94J32507
NOTE: Test procedure begins with step 10). No test procedures have been omitted.

  1. 10) Code P0132, P0138, P0152 & P0158

    These codes indicate that an over voltage (more than 1.5 volts) has occurred in HO2S as follows:
    • Code P0132 for right front HO2S.
    • Code P0138 for left front HO2S.
    • Code P0152 for right rear HO2S.
    • Code P0158 for left rear HO2S.

    Possible causes are as follows:

    • Signal shorted in wiring harness.
    • Faulty HO2S.
    • Faulty PCM.

    With scan tester connected, turn ignition on. Access PID for fault code generated. If PID voltage is 1-4 volts, go to next step. If voltage is not 1-4 volts, fault is intermittent and cannot be duplicated at this time. Go to CIRCUIT TEST Z  .

  2. 11) Check For Short In HO2S Wiring Harness

    Turn ignition off. Disconnect suspect sensor. Disconnect PCM 104-pin connector. Inspect connector for damaged pins, corrosion and loose wires. Repair as necessary. Install EEC-V Breakout Box (014-00950) leaving PCM disconnected. Measure resistance between suspect sensor and test pins indicated as follows:
    • Code P0132, test pin No. 60 and test pins No. 71, 93 and 97.
    • Code P0138, test pin No. 35 and test pins No. 71, 95 and 97.
    • Code P0152, test pin No. 87 and test pins No. 71, 94 and 97.
    • Code P0158, test pin No. 61 and test pins No. 71, 96 and 97.

    If resistance is more than 10,000 ohms, go to next step. If resistance is 10,000 ohms or less, repair short in circuit and repeat QUICK TEST.

  3. 12) Check Sensor For Internal Short

    Turn ignition off. Disconnect suspect sensor. Connect scan tester to DLC. Turn ignition on. Access HO2S PID. If PID voltage is less than 0.2 volt, replace HO2S and repeat QUICK TEST. If PID voltage is 0.2 volt or more, replace PCM and repeat QUICK TEST.
    NOTE: A break in step numbering sequence occurs at this point. Procedure skips from step 12) to step 20). No test procedures have been omitted.
  4. 20) Code P0133 & P0153

    This code indicates that response rate is below calibration in HO2S as follows:
    • Code P0133 for right front HO2S.
    • Code P0153 for left front HO2S.

    Possible causes are as follows:

    • Open or shorted circuit.
    • Exhaust leak.
    • Excessive fueling.
    • HO2S coated with contaminants.
    • Faulty MAF sensor.
    • Leak in air induction system.

    With scan tester connected, turn ignition on. Access Generic OBD II functions and enter. Scroll to Oxygen Sensor Test and enter. Scroll to Manufacturer Specific Test ID and enter. Scroll to Test ID: (41H) and enter. If measurement fault is 0.6 volt or more, fault cannot be duplicated or identified at this time and testing is complete. If measurement fault is less than 0.6 volt, go to next step.

  5. 21) Check For HO2S Contamination

    Check following possibilities as potential source of contamination:
    • Use of unapproved silicon sealers.
    • Use of unapproved cleaners.
    • Fuel contaminated by silicon additives.
    • Fuel contaminated by lead.
    • Excessive oil burning.
    • Antifreeze leaking internally.

    If any of these conditions are present, repair or replace as necessary. If none of these conditions are present, go to next step.

  6. 22) Check For Unmetered Air Leaks

    Vacuum or air leaks in non-EEC-V areas could cause fault code to set. Check the following as potential source of air leak:
    • Leaking vacuum hoses.
    • Leaking intake manifold gasket.
    • EGR system.
    • PCV system.
    • Poorly seated oil dip stick and/or dipstick tube.

    If any of these conditions are present, repair or replace as necessary. If none of these conditions are present, go to next step.

  7. 23) Check HO2S Circuits

    Turn ignition off. Disconnect PCM and suspect HO2S wiring harness connector. Inspect connectors for damage and repair as necessary. Connect jumper wire between SIG RTN and VPWR at sensor wiring harness connector. With scan tester connected to DLC, turn ignition on. Access HO2S PID. If PID voltage is less than 3.5 volts, go to next step. If PID voltage is 3.5 volts or more, replace HO2S and change engine oil. Test drive vehicle and repeat QUICK TEST.
  8. 24) Check HO2S Signal Circuit Resistance

    Turn ignition off. Disconnect PCM 104-pin connector. Inspect connector for damage and repair if necessary. Install EEC-V Breakout Box (014-00950) leaving PCM disconnected. Measure resistance between suspect HO2S test pin at breakout box and HO2S terminal at wiring harness connector. If resistance is 5 ohms or more, repair open circuit. Drive vehicle at 55 MPH for 5 minutes and repeat QUICK TEST. If reading is less than 5 ohms, go to next step.
  9. 25) Check HO2S For Short Circuit

    Ensure ignition is off and PCM is disconnected. Measure resistance between suspect HO2S test pin at breakout box and VPWR terminal at HO2S wiring harness connector. If resistance is less than 10,000 ohms, repair short circuit. Drive vehicle for 5 miles at 55 MPH and repeat QUICK TEST. If resistance is 10,000 ohms or more, replace PCM.
    NOTE: A break in step numbering sequence occurs at this point. Procedure skips from step 25) to step 30). No test procedures have been omitted.
  10. 30) Code P0135, P0141, P0155 Or P0161: Check HO2S Heater Signal Circuit

    Codes P0135, P0141, P0155 and P0161 received separately indicate a short to ground or open in HO2S heater circuit. Codes received in pairs, such as P0135 and P0155 or P0141 and P0161, indicate HO2S heater signal circuit shorted to a power source greater than 2.0 volts. Codes received in pairs with one downstream heater code and one upstream heater code are treated as separate codes.
    • Code P0135 for right front HO2S.
    • Code P0141 for left front HO2S.
    • Code P0155 for right rear HO2S.
    • Code P0161 for left rear HO2S.

    Possible causes are as follows:

    • Signal shorted in wiring harness or HO2S.
    • Water in connectors.
    • Cut or pulled wires.
    • Open in PWR GND or VPWR circuit.

    Inspect HO2S connectors for damage or poor connection. Repair or replace connectors as necessary. If HO2S connectors are okay, go to next step for codes received separately. Go to step 35) for codes received in pairs.

  11. 31) Check For Voltage At HO2S Heater Wiring Harness Connector

    Turn ignition off. Disconnect suspect HO2S. Inspect wiring harness for damage and repair as necessary. Turn ignition on. Measure voltage between SIG RTN and VPWR terminal at HO2S wiring harness connector. If voltage is 10.5 volts or more, go to next step. If voltage is less than 10.5 volts, repair VPWR circuit and repeat QUICK TEST.
  12. 32) Turn ignition off

    With suspect sensor disconnected, measure resistance between VPWR terminal and HTR terminal at HO2S wiring harness connector. If resistance is 2-30 ohms, go to next step. If resistance is not 2-30 ohms, replace HO2S sensor and repeat QUICK TEST.
  13. 33) Check For Short Circuit

    Leave ignition off and sensor disconnected. Disconnect PCM 104-pin connector. Inspect connector for damage and repair if necessary. Install EEC-V Breakout Box (014-00950) leaving PCM disconnected. Measure resistance between suspect sensor and test pins indicated as follows:
    • Code P0135, test pin No. 93 and test pins No. 24, 76, 91 and 103.
    • Code P0141, test pin No. 95 and test pins No. 24, 76, 91 and 103.
    • Code P0155, test pin No. 94 and test pins No. 24, 76, 91 and 103.
    • Code P0161, test pin No. 96 and test pins No. 24, 76, 91 and 103.

    If resistance is more than 10,000 ohms, go to next step. If resistance is 10,000 ohms or less, repair short in circuit and repeat QUICK TEST.

  14. 34)  Leave ignition off and sensor disconnected. Measure resistance between HTR terminal at HO2S wiring harness connector and appropriate test pin as follows:
    • Left front HO2S sensor; test pin No. 94.
    • Right front HO2S sensor; test pin No. 93.
    • Left rear HO2S sensor; test pin No. 96.
    • Right rear HO2S sensor; test pin No. 95.

    If resistance is 5 ohms or more, repair open circuit in wiring harness and repeat QUICK TEST. If resistance is less than 5 ohms, replace PCM and repeat QUICK TEST.

  15. 35) Check For HTR Circuit Short To VPWR

    Downstream Codes 141 and 161 and Upstream Codes 135 and 155 are stored in pairs and indicate that HTR circuit is shorted to voltage source or 2.0 volts or more. Possible causes are as follows:
    • Signal shorted in wiring harness.
    • Faulty or disconnected HO2S.
    • Faulty PCM.

    Check HO2S wiring harness connectors. If connectors are clean and tight, go to next step. If connectors are not clean and tight, service or replace as necessary.

  16. 36) Check HO2S Heater Resistance

    Turn ignition off. With suspect sensor disconnected, measure resistance between VPWR terminal and HTR terminal at HO2S wiring harness connector. If resistance is 2-30 ohms, go to next step. If resistance is not 2-30 ohms, replace HO2S sensor and repeat QUICK TEST.
  17. 37)  Leave ignition off and sensor disconnected. Disconnect PCM 104-pin connector. Inspect connector for damage and repair if necessary. Install EEC-V Breakout Box (014-00950) leaving PCM disconnected. Measure resistance between test pins indicated as follows:
    • Code P0135, test pin No. 93 and test pins No. 71 and 97.
    • Code P0141, test pin No. 95 and test pins No. 71 and 97.
    • Code P0155, test pin No. 94 and test pins No. 71 and 97.
    • Code P0161, test pin No. 96 and test pins No. 71 and 97.

    If resistance is more than 10,000 ohms, replace PCM. If resistance is 10,000 ohms or less, repair short in circuit and repeat QUICK TEST.

    NOTE: A break in step numbering sequence occurs at this point. Procedure skips from step 37) to step 40). No test procedures have been omitted.
  18. 40) Code P0130, P0150, P0131, P0151, P0132 Or P0152: HO2S Not Switching.

    Codes P0130 and P0150 indicate fuel control system has reached maximum compensation for a lean or rich condition. Codes P0131 and P0151 indicate system is correcting rich for a lean condition. HO2S voltage is less than 0.45 volt. Possible causes are as follows:
    • Fuel pressure incorrect or leaking internally.
    • Leaks or restriction in air induction system.
    • Engine oil level too high.
    • Excessive internal engine wear.
    • Fault in secondary ignition.

    Inspect engine for obvious defects. Repair or replace as necessary. If no faults are found, go to next step for Codes P0131, P0151, P0132 or P0152. Go to step 42) for Codes P0130 or P0150 received in pairs.

  19. 41) Perform KOER Self-Test

    Start engine, and warm it to normal operating temperature. With scan tester connected, perform KOER self-test. If any of the codes in step 40) are present, go to step 42). If none of the codes in step 40) are present, fault is intermittent. Go to CIRCUIT TEST Z  .
  20. 42) Check Fuel Pressure

    Release fuel system pressure. With ignition off, install fuel pressure gauge. Ensure manifold vacuum is connected to fuel pressure regulator. Start engine and allow to idle. For fuel pressure specifications, see FUEL PRESSURE SPECIFICATIONS article. If fuel pressure is within specification, go to next step. If fuel pressure is not within specification, repair as necessary.
  21. 43) Check System Ability To Hold Fuel Pressure

    With fuel pressure gauge installed, cycle ignition from OFF to ON position 3-4 times to pressurize fuel system (DO NOT  start engine). If fuel pressure remains at specification for 60 seconds, go to step 49) for no-starts or step 44) for all others. If fuel pressure does not remain at specification for 60 seconds, repair fuel system as necessary.
  22. 44) Check Ability Of Injectors To Deliver Fuel

    With fuel pressure gauge installed, cycle ignition from OFF to ON position 3-4 times to pressurize fuel system (DO NOT  start engine). Note fuel pressure. Disconnect Inertia Fuel Switch (IFS). Crank engine for 5 seconds. If fuel pressure remains within 5 psi of original pressure, go to next step. If fuel pressure drops more than 5 psi, repair fuel system as necessary.
  23. 45) Check Fuel Injector & Circuit Resistance (SFI)

    Turn ignition off. Disconnect PCM 104-pin connector. Inspect connector for damage or corrosion and repair as necessary. Install EEC-V Breakout Box (014-00950), leaving PCM disconnected. Measure and record resistance between suspected fuel injector circuit test pin and test pin No. 71 and 97 at breakout box. Refer to FUEL INJECTOR INJ CIRCUIT IDENTIFICATION table. Resistance should be 11-18 ohms. If resistance is correct but vehicle will not start, go to step 48). For all others, go to next step.
    FUEL INJECTOR INJ CIRCUIT IDENTIFICATION

    Injector Test Pin No. Wire Color
    No. 1 75 Tan
    No. 2 101 White
    No. 3 74 Brown/Yellow
    No. 4 100 Brown/Blue
    No. 5 73 Tan/Black
    No. 6 99 Green/Orange
    No. 7 72 Tan/Red
    No. 8 98 Light Blue
  24. 46) Check Continuity Of Fuel Injector Circuit

    Turn ignition off. Disconnect suspect fuel injector wiring harness connector. Measure resistance between test pins No. 71 and 97 at breakout box and fuel injector VPWR terminal at wiring harness connector. See Fig 2 . Measure resistance between fuel injector signal test pin(s) at breakout box and same fuel injector circuit terminal at each fuel injector wiring harness connector. If each resistance is less than 5 ohms, go to next step. If each resistance is 5 ohms or more, repair open circuit. Reconnect all components and drive vehicle for 5 miles at 55 MPH. Repeat QUICK TEST.
  25. 47) Check Fuel Injector Circuit For Short To Power Or Ground

    Turn ignition off. Disconnect suspect fuel injector wiring harness connector. Measure resistance between fuel injector test pin and test pins No. 24, 71, 76, 97 and 103 at breakout box. Also, measure resistance between fuel injector test pin(s) at breakout box and chassis ground. If each resistance is 10,000 ohms or more, replace fuel injector and repeat QUICK TEST. If each resistance is less than 10,000 ohms, repair short. Remove breakout box, reconnect all components and drive vehicle for 5 miles at 55 MPH. Repeat QUICK TEST.
  26. 48) Check Fuel Injector Drive Signal

    With ignition off, connect PCM to breakout box. Connect non-powered 12-volt test light between suspect fuel injector and test pins No. 71 and 97. Crank or start engine. If test light glows dimly, go to next step. If test light does not glow dimly (no light/bright light), replace PCM. Reconnect all components, and drive vehicle for 5 miles at 55 MPH. Repeat QUICK TEST.
  27. 49) Check Fuel Injector Flow & Leakage

    Turn ignition off. Use Rotunda Injector Tester (113-00001) to flow test fuel injectors. If flow rate for each fuel injector is okay, go to next step for no-start vehicles or step 51) for all others. If fuel injector flow or leakage rate is not okay, Clean fuel injectors, and repeat QUICK TEST.
  28. 50) Check Cylinder Compression

    Check cylinder compression. If compression is okay, go to next step (Codes P1130, P1150, P1131 and P1151) or step 56) (Codes P1130, 1150, P1132 and P1152). If cylinder compression is not okay, repair engine as necessary. Clear PCM memory and repeat QUICK TEST.
  29. 51) Check HO2S Integrity

    Codes P0130, P0150, P0131, and P0151 indicate HO2S switches slow or doesn't switch, is always lean or fuel is at adaptive limit. Possible causes are as follows:
    • Moisture inside HO2S causing short to ground.
    • HO2S coated with contaminates.
    • HO2S open or shorted circuit.

    Turn ignition off. Inspect HO2S and circuit for damage or contamination. Repair or replace HO2S or wiring as necessary. Start engine and operate at 2000 RPM for 2 minutes. Turn ignition off. Connect scan tool to DLC and perform KOER self-test. If trouble codes are present, go to next step. If no trouble codes are present, faults cannot be duplicated or identified at this time. Testing is complete.

  30. 52) Check HO2S Ability To Generate Correct Voltage

    Warm engine to normal operating temperature. Operate engine at 2000 RPM for 2 minutes. Perform KOER self-test while monitoring HO2S voltage. If voltage is 0.5 volt or more at the end of test, go to next step. If voltage is less than 0.5 volt, replace HO2S sensor and repeat QUICK TEST.
  31. 53) Check Continuity Of HO2S Ground Circuits

    Turn ignition off. Install breakout box, leaving PCM disconnected. Disconnect suspect HO2S wiring harness connector. Inspect connector for damage and repair as necessary. Measure resistance between HO2S test pin at breakout box and HO2S terminal at sensor wiring harness connector. Also, measure resistance between test pin No. 91 and SIG RTN terminal at HO2S sensor vehicle wiring harness connector. If each resistance is less than 5 ohms, go to next step. If any resistance is 5 ohms or more, repair open circuit. Remove breakout box, and reconnect all components. Drive vehicle for 5 minutes at 55 MPH. Repeat QUICK TEST.
  32. 54) Check HO2S Circuit For Short To Ground

    Turn ignition off. Leave breakout box installed and PCM disconnected. Disconnect HO2S. Measure resistance between HO2S circuit test pin and test pins No. 24, 51 76, 77 and 103 at breakout box. If all readings are 10,000 ohms or more, go to next step. If any reading is less than 10,000 ohms, repair short circuit. Remove breakout box and reconnect all components. Drive vehicle at 55 MPH for 5 minutes and repeat QUICK TEST.
  33. 55) Check HO2S For Short To Ground

    Ensure ignition is off and PCM is disconnected. Connect HO2S to wiring harness connector. Measure resistance between SIG RTN test pin and HO2S test pin at breakout box. If resistance is less than 10,000 ohms, replace HO2S. Remove breakout box and reconnect all components. Drive vehicle for 5 miles at 55 MPH and repeat QUICK TEST. If resistance is 10,000 ohms or more, perform following procedure as applicable:
    • For Codes P1130 and P1150, go to step 61).
    • For Continuous Memory Codes P1131 and P1151, go to step 61).
    • For all other codes, replace PCM. Drive vehicle for 5 miles at 55 MPH, and repeat QUICK TEST.
  34. 56) Perform KOER Self-Test

    Start engine, and warm it to normal operating temperature. With scan tester connected, perform KOER self-test. If Codes P1132 and P1152 are present with Codes P1130 and P1150, go to next step. If codes are not present, fault is intermittent. Go to CIRCUIT TEST Z  .
  35. 57) Check For HO2S Short To Power

    Codes P1130, P1150 and/or P1132, P1152 indicate HO2S is always rich. Possible causes are as follows:
    • Moisture inside HO2S wiring harness connector.
    • HO2S circuit shorted to power.

    Turn ignition off. Disconnect suspect HO2S wiring harness connector. Inspect wiring harness and connector terminals for damage or contamination and repair as necessary. Turn ignition on. Measure voltage between SIG RTN and HO2S terminal of wiring harness connector. If voltage is 0.5 volt or more, go to next step. If voltage is less than 0.5 volt, go to step 59).

  36. 58) Check For Short To Power

    Turn ignition off. Disconnect PCM 104-pin connector. Inspect connector for damaged pins, corrosion and loose wires. Repair wiring as necessary. Install EEC-V Breakout Box (014-00950) leaving PCM disconnected. Leave suspect HO2S disconnected. Measure resistance between HO2S terminal of wiring harness connector and test pins No. 71 and 97. If resistance is more than 10,000 ohms, replace PCM. Reconnect all components. Drive vehicle for 5 miles at 55 MPH and repeat QUICK TEST. If resistance is 10,000 ohms or less, repair short to power. Reconnect all components. Drive vehicle for 5 miles at 55 MPH and repeat QUICK TEST.
  37. 59)  Leave ignition off and HO2S disconnected. Measure resistance between HO2S terminal of wiring harness connector and test pins No. 71 and 97. If resistance is more than 10,000 ohms, go to next step. If resistance is 10,000 ohms or less, replace HO2S. Drive vehicle for 5 miles at 55 MPH and repeat QUICK TEST.
  38. 60) Attempt to Generate Code P1131 & P1151

    Leave ignition off and HO2S disconnected. Using a jumper wire, connect HO2S terminal of wiring harness connector to negative battery terminal. Perform KOER self-test. If Code P1131 or P1151 is present, go to next step. If Code P1131 or P1151 is not present, replace PCM and repeat QUICK TEST.
  39. 61) Check HO2S

    Leave ignition off and HO2S disconnected. Connect DVOM between HO2S terminal and SIG RTN terminal of wiring harness connector. Disconnect vacuum hose from vacuum tree. Start engine and operate at 2000 RPM. If DVOM reads less than 0.4 volt, go to step 70). If DVOM reads 0.4 volt or more, replace HO2S. Drive vehicle for 5 miles at 55 MPH and repeat QUICK TEST.
    NOTE: A break in step numbering sequence occurs at this point. Procedure skips from step 61) to step 70). No test procedures have been omitted.
  40. 70) Monitor HO2S PID

    Connect scan tester to DLC. Start engine and allow to idle. Using scan tester, access HO2S PID. Observe HO2S PID while shaking and bending wiring harness between HO2S and PCM. If HO2S voltage is more than 0.45 volt, go to next step. If voltage stays at 0.45 volt or less, replace HO2S and repeat QUICK TEST.
  41. 71) Monitor HO2S PID During Test Drive

    With scan tester still connected to DLC test drive vehicle under various conditions while observing HO2S PID. If HO2S voltage switches from about 0.4 to 0.6 volt, system is okay and testing is complete. If voltage does not switch, replace HO2S and repeat QUICK TEST.
    NOTE: A break in step numbering sequence occurs at this point. Procedure skips from step 71) to step 80). No test procedures have been omitted.
  42. 80) Code P0136, P0137, P0138, P0156, P0157 Or P0158

    Codes P0136 and P0156 indicate that output voltage of downstream HO2S is within a functional window. Possible causes are as follows:
    • Damaged wiring harness or connector.
    • Exhaust system leaks.
    • Contaminated or defective HO2S.

    Inspect for faults. Repair or replace as necessary. If no faults are found, go to next step.

  43. 81) Perform KOER Self-Test

    Start engine, and warm it to normal operating temperature. With scan tester connected, perform KOER self-test. If Codes P0137, P0138, P0157 and P0158 are present, go to step 83). If Codes P0136 and P0156 are present, go to step 82). If none of the codes are present, fault is intermittent. Go to CIRCUIT TEST Z  .
  44. 82) Check For Crossed HO2S Circuit

    Turn ignition off. Disconnect suspect HO2S. Perform KOER self-test. If trouble code corresponding to disconnected HO2S is present, circuit is not crossed; go to next step. If trouble code corresponding to disconnected HO2S is not present, check for crossed wires. Repair as necessary and repeat KOER self-test.
  45. 83) Check For Exhaust System Leak

    Raise vehicle on hoist. Check for exhaust and repair as necessary. Clear PCM memory. Drive vehicle for 5 miles and repeat QUICK TEST. If no exhaust leaks are present, go to next step.
  46. 84) Check HO2S Circuit Continuity

    Turn ignition off. Connect scan tester to DLC. Ensure PCM is disconnected. Connect jumper wire between HO2S terminal and VPWR terminal of HO2S wiring harness connector. Perform HO2S self-test. Access HO2S PID. If voltage reading is 3.5 or more, replace HO2S. Drive vehicle for 5 miles and repeat QUICK TEST. If voltage is less than 3.5 volts, go to next step.
  47. 85) Check HO2S Circuit For Short Circuit

    Leave ignition off and suspect HO2S disconnected. Disconnect PCM 104-pin connector. Inspect connector for damaged pins, corrosion and loose wires. Repair circuit as necessary. Install EEC-V Breakout Box (014-00950) leaving PCM disconnected. Measure resistance between HO2S test pin and SIG RTN test pin at breakout box. Measure resistance between HO2S test pin and VPWR test pin at breakout box. If resistance is more than 10,000 ohms, go to next step. If resistance is 10,000 ohms or less, repair short circuit in wiring harness. Clear PCM memory. Drive vehicle for 5 miles and repeat QUICK TEST.
  48. 86) Check Ground Circuit Circuit Continuity

    Leave ignition off and suspect HO2S disconnected. Measure resistance between HO2S test pin at breakout box and HO2S terminal at wiring harness connector. Measure resistance between SIG RTN test pin at breakout box and SIG RTN terminal at wiring harness connector. If resistance is 5 ohms or more, repair open circuit in wiring harness. Drive vehicle for 5 miles and repeat QUICK TEST. If resistance is less than 5 ohms, proceed as applicable:
    • If sent to this step from step 2), testing is complete. If further testing is required, go to step 3).
    • If sent to this step from step 85), replace PCM. Drive vehicle for 5 miles and repeat QUICK TEST.